TOP
|
特許
|
意匠
|
商標
特許ウォッチ
Twitter
他の特許を見る
公開番号
2025154460
公報種別
公開特許公報(A)
公開日
2025-10-10
出願番号
2024057475
出願日
2024-03-29
発明の名称
木質配合樹脂管
出願人
古河樹脂加工株式会社
,
古河電気工業株式会社
代理人
弁理士法人クオリオ
,
個人
,
個人
,
個人
,
個人
主分類
F16L
11/06 20060101AFI20251002BHJP(機械要素または単位;機械または装置の効果的機能を生じ維持するための一般的手段)
要約
【課題】温度変化による熱伸縮や撓みの発生を抑制することができる木質配合樹脂管を提供する。
【解決手段】
ポリオレフィン樹脂又はポリオレフィン樹脂と木質材料とを含む樹脂複合体を含む外層と、ポリオレフィン樹脂と木質材料とを含む樹脂複合体を含む内層と、を有する、木質配合樹脂管。
【選択図】図1
特許請求の範囲
【請求項1】
ポリオレフィン樹脂又はポリオレフィン樹脂と木質材料とを含む樹脂複合体を含む外層と、ポリオレフィン樹脂と木質材料とを含む樹脂複合体を含む内層と、を有する、木質配合樹脂管。
続きを表示(約 250 文字)
【請求項2】
前記樹脂複合体の前記ポリオレフィン樹脂と前記木質材料の量比が、ポリオレフィン樹脂:木質材料=20:80~99:1(質量比)である、請求項1に記載の木質配合樹脂管。
【請求項3】
前記内層の内表面が平滑である、請求項1又は2に記載の木質配合樹脂管。
【請求項4】
前記木質配合樹脂管が難燃剤を含有する、請求項1又は2に記載の木質配合樹脂管。
【請求項5】
前記木質配合樹脂管が波付管である、請求項3に記載の木質配合樹脂管。
発明の詳細な説明
【技術分野】
【0001】
本発明は、木質配合樹脂管に関する。
続きを表示(約 1,900 文字)
【背景技術】
【0002】
建築物の内部や外壁、屋上等において用いられる通信ケーブルや電気配線等の保護管として、波付管が用いられている。一般的に波付管は可撓性(ないしフレキシブル性)を有するため、配線方向を任意の方向に変更することができる。一方でフレキシブル性を有する波付管は、出荷時には巻き取られた状態で出荷されることがあり、このような波付管では巻癖が残ってしまうケースがある。そのため、特に長い直線部にフレキシブル性の波付管を布設すると巻癖によりS字状等に湾曲して美観を損なうだけでなく、通信ケーブル等を通線する際に波付管内部との間に摩擦が生じ、結果として波付管がずれるといった問題が生じやすい。この問題は、長い直線部には非フレキシブル性の(剛直な)波付管を、曲線部にはフレキシブル性の波付管を用いることにより解決することができる。長い直線部に適用する剛直な保護管も波付管とすることにより、直線部と曲線部の全体が波付構造となり、全体に統一感が生まれ美観にも優れた保護管とすることができる。
【0003】
上記のような非フレキシブル性の波付管として、例えば特許文献1には、難燃性を有するポリオレフィン系樹脂を主成分とし、外周に谷部と当該谷部よりも幅が広く中実の山部とが交互に形成された内径14.34~35.72mm、外径22.83~45.30mmの波付管であり、谷部中心における管の内径が山部中心における管の内径よりも小さく管の内側に向けて僅かに円弧状に盛り上っており且つ前記中実の山部内径が谷部外径より小さく形成され、谷部の平均肉厚が1.40mm以上2.06mm以下であって山部の平均肉厚が3.3mm以上3.76mm以下であって、曲げ剛性が2.50N・m
2
以上5.00N・m
2
以下であり、圧縮荷重を1250N以上とした場合のJIS C 8411に基づく圧縮荷重試験の圧縮減少率が10%以下であることを特徴とする曲げ剛性と圧縮復元性に優れ非フレキシブル性を有するケーブル等保護管、が開示されている。
【先行技術文献】
【特許文献】
【0004】
特開2012-23954号公報
【発明の概要】
【発明が解決しようとする課題】
【0005】
フレキシブル性の有無を問わず、波付管は、ベース樹脂として熱可塑性樹脂が用いられる。そのため、施工後の温度変化によって波付管に熱伸縮が生じ、また撓みが発生しやすい。波付管の伸縮や撓みは、波付管を固定する支持部品の変形を引き起こしたり、波付管が支持部品から外れるといった問題の原因と成り得る。
【0006】
本発明は、温度変化による熱伸縮や撓みの発生を抑制することができる木質配合樹脂管を提供することを課題とする。
【課題を解決するための手段】
【0007】
本発明者らは上記課題を解決すべく検討した結果、波付管を外層と内層の少なくとも2層構造とし、内層を、木質材料を含む樹脂複合体の層とすることにより、得られる波付管が、温度変化による熱伸縮や撓みの発生を抑制できることを見出した。本発明は、これらの知見に基づきさらに検討を重ね、完成されるに至った。
【0008】
すなわち、上記の課題は、以下の手段により解決された。
〔1〕
ポリオレフィン樹脂又はポリオレフィン樹脂と木質材料とを含む樹脂複合体を含む外層と、ポリオレフィン樹脂と木質材料とを含む樹脂複合体を含む内層と、を有する、木質配合樹脂管。
〔2〕
前記樹脂複合体の前記ポリオレフィン樹脂と前記木質材料の量比が、ポリオレフィン樹脂:木質材料=20:80~99:1(質量比)である、前記〔1〕に記載の木質配合樹脂管。
〔3〕
前記内層の内表面が平滑である、前記〔1〕又は〔2〕に記載の木質配合樹脂管。
〔4〕
前記木質配合樹脂管が難燃剤を含有する、前記〔1〕~〔3〕のいずれかに記載の木質配合樹脂管。
〔5〕
前記木質配合樹脂管が波付管である、前記〔1〕~〔4〕のいずれかに記載の木質配合樹脂管。
【発明の効果】
【0009】
本発明の木質配合樹脂管は、温度変化による熱伸縮や撓みの発生を抑制できる。
【図面の簡単な説明】
【0010】
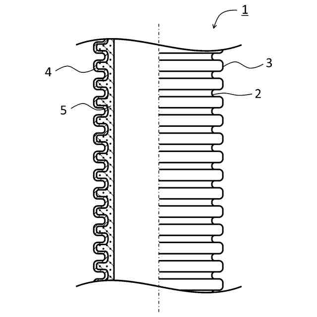
図1は、本発明の木質配合樹脂管の一実施形態を模式的に示す部分断面図である。
【発明を実施するための形態】
(【0011】以降は省略されています)
この特許をJ-PlatPat(特許庁公式サイト)で参照する
関連特許
個人
鍋虫ねじ
1か月前
個人
回転伝達機構
2か月前
個人
紛体用仕切弁
1か月前
個人
ホース保持具
5か月前
個人
差動歯車用歯形
3か月前
個人
給排気装置
4日前
個人
ジョイント
22日前
株式会社不二工機
電磁弁
4か月前
株式会社不二工機
電磁弁
3か月前
個人
地震の揺れ回避装置
2か月前
個人
ナット
23日前
個人
吐出量監視装置
1か月前
柿沼金属精機株式会社
分岐管
1か月前
カヤバ株式会社
緩衝器
3か月前
カヤバ株式会社
ダンパ
3か月前
カヤバ株式会社
ダンパ
3か月前
カヤバ株式会社
緩衝器
3日前
カヤバ株式会社
緩衝器
3か月前
株式会社タカギ
水栓装置
2か月前
個人
固着具と固着具の固定方法
4か月前
株式会社ノーリツ
分配弁
5か月前
個人
固着具と固着具の固定方法
6か月前
株式会社ノーリツ
分配弁
5か月前
株式会社不二工機
電動弁
4日前
株式会社ニフコ
クリップ
8日前
アズビル株式会社
回転弁
16日前
日東電工株式会社
断熱材
5か月前
株式会社ノーリツ
分配弁
5か月前
株式会社フジキン
ボールバルブ
4か月前
個人
固着具と固着具の固定方法
4か月前
株式会社不二工機
電磁弁
1か月前
株式会社奥村組
制振機構
12日前
株式会社ノーリツ
分配弁
8日前
個人
固着具と固着具の固定方法
4か月前
株式会社奥村組
制振機構
12日前
株式会社不二越
転がり軸受
1か月前
続きを見る
他の特許を見る