TOP
|
特許
|
意匠
|
商標
特許ウォッチ
Twitter
他の特許を見る
公開番号
2025154479
公報種別
公開特許公報(A)
公開日
2025-10-10
出願番号
2024057507
出願日
2024-03-29
発明の名称
作業車両
出願人
日立建機株式会社
代理人
弁理士法人武和国際特許事務所
主分類
F16H
61/42 20100101AFI20251002BHJP(機械要素または単位;機械または装置の効果的機能を生じ維持するための一般的手段)
要約
【課題】荷役作業の性能を向上させることのできる作業車両を提供する。
【解決手段】車体と、作業装置と、原動機と、原動機により駆動され、圧油を供給する可変容量式の油圧ポンプと、油圧ポンプから供給される圧油により作業装置を駆動する油圧アクチュエータと、原動機の動力を走行駆動力として車体に伝達する駆動力伝達装置と、車体の走行を制動するブレーキ装置と、ブレーキ装置の作動状態を検出するブレーキ状態検出器と、制御装置と、を備えた作業車両において、制御装置は、ブレーキ状態検出器からの検知信号に基づいて車体の走行が停止状態または車体の走行が停止しつつある状態であるか否かを判定し、車体の走行が停止状態または車体の走行が停止しつつある状態であると判定され、駆動力伝達装置により走行駆動力の車体への伝達が遮断または制限された場合に、油圧ポンプの容量を大きくする制御を行う。
【選択図】図3
特許請求の範囲
【請求項1】
車体と、
前記車体の前部に設けられた作業装置と、
前記車体に搭載された原動機と、
前記原動機により駆動され、圧油を供給する可変容量式の油圧ポンプと、
前記油圧ポンプから供給される圧油により前記作業装置を駆動する油圧アクチュエータと、
前記原動機の動力を走行駆動力として前記車体に伝達する駆動力伝達装置と、
前記車体の走行を制動するブレーキ装置と、
前記ブレーキ装置の作動状態を検出するブレーキ状態検出器と、
制御装置と、を備えた作業車両において、
前記制御装置は、
前記ブレーキ状態検出器からの検知信号に基づいて前記車体の走行が停止状態または前記車体の走行が停止しつつある状態であるか否かを判定し、前記車体の走行が停止状態または前記車体の走行が停止しつつある状態であると判定され、前記駆動力伝達装置により前記走行駆動力の前記車体への伝達が遮断または制限された場合に、前記油圧ポンプの容量を大きくする制御を行う、
ことを特徴とする作業車両。
続きを表示(約 390 文字)
【請求項2】
請求項1に記載の作業車両において、
前記制御装置は、前記油圧ポンプの容量を大きくするタイミングを、前記駆動力伝達装置による前記車体への前記走行駆動力の伝達を遮断または制限するタイミングに合わせる、
ことを特徴とする作業車両。
【請求項3】
請求項1に記載の作業車両において、
前記車体に搭載された補機と、
前記原動機により駆動され、圧油を供給するアクセサリポンプと、
前記アクセサリポンプから供給される圧油により前記補機を駆動する補機用油圧アクチュエータと、をさらに備え、
前記制御装置は、前記油圧ポンプの容量を大きくする制御が行われた場合に、前記アクセサリポンプから前記補機用油圧アクチュエータに供給される圧油の少なくとも一部を前記油圧アクチュエータに供給する、
ことを特徴とする作業車両。
発明の詳細な説明
【技術分野】
【0001】
本発明は、作業車両に関する。
続きを表示(約 1,600 文字)
【背景技術】
【0002】
ホイールローダ等の作業車両において、ダンプトラックへの積み込み作業時に、リフトアームを増速させる制御技術が知られている。例えば特許文献1には、アクセサリポンプからの作動油(圧油)を補機へ導く通常位置とリフトアームシリンダ(ブームシリンダ)へ導くリフト増速位置との間で切り換えられる優先弁と、優先弁を制御する制御装置を含む産業用車両が記載されている。この特許文献1において、制御装置は、リフトアームを上昇させる上げ操作が行われたときに要求エンジン回転数よりも小さな閾値を決定し、実エンジン回転数が閾値を下回るときは優先弁を通常位置に維持し、実エンジンン回転数が閾値を上回ったときに優先弁をリフト増速位置に切り換えるよう制御している(要約参照)。
【先行技術文献】
【特許文献】
【0003】
特開2015-158099号公報
【発明の概要】
【発明が解決しようとする課題】
【0004】
しかしながら、特許文献1では、実エンジン回転数が閾値を上回ったときに優先弁がリフト増速位置に切り換わるため、実エンジン回転数が閾値を上回るまでは、リフトアームの上昇速度が制限されてしまう。リフトアームの上昇速度が制限されてしまうと荷役作業の性能が低下するといった課題がある。
【0005】
そこで、本発明は、積込み作業に際し、リフトアームの速度上昇がタイミング良く得られ、荷役作業の性能を向上させることのできる作業車両を提供することを目的とする。
【課題を解決するための手段】
【0006】
上記目的を達成するために、本発明の第一の態様は、車体と、前記車体の前部に設けられた作業装置と、前記車体に搭載された原動機と、前記原動機により駆動され、圧油を供給する可変容量式の油圧ポンプと、前記油圧ポンプから供給される圧油により前記作業装置を駆動する油圧アクチュエータと、前記原動機の動力を走行駆動力として前記車体に伝達する駆動力伝達装置と、前記車体の走行を制動するブレーキ装置と、前記ブレーキ装置の作動状態を検出するブレーキ状態検出器と、制御装置と、を備えた作業車両において、前記制御装置は、前記ブレーキ状態検出器からの検知信号に基づいて前記車体の走行が停止状態または前記車体の走行が停止しつつある状態であるか否かを判定し、前記車体の走行が停止状態または前記車体の走行が停止しつつある状態であると判定され、前記駆動力伝達装置により前記走行駆動力の前記車体への伝達が遮断または制限された場合に、前記油圧ポンプの容量を大きくする制御を行う、ことを特徴とする。
【発明の効果】
【0007】
本発明によれば、積込み作業に際し、リフトアームの速度上昇がタイミング良く得られ、荷役作業の性能が向上する。なお、前述した以外の課題、構成、および効果は、以下の実施形態の説明により明らかにされる。
【図面の簡単な説明】
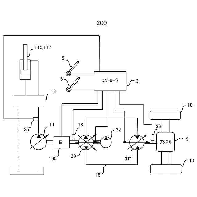
【0008】
本発明の第1実施形態に係るホイールローダの側面図である。
第1実施形態に係るホイールローダのシステム構成図である。
メインコントローラの制御処理の手順を示すフローチャートである。
リフト増速のタイミングを本発明と従来技術とで比較した説明図である。
第2実施形態に係るホイールローダのシステム構成図である。
第2実施形態においてメインコントローラの制御処理の手順を示すフローチャートである。
【発明を実施するための形態】
【0009】
以下、本発明に係る作業車両の例であるホイールローダの各実施形態について、図面を参照しながら説明する。
【0010】
(第1実施形態)
図1は、本発明の第1実施形態に係るホイールローダ100の側面図である。
(【0011】以降は省略されています)
この特許をJ-PlatPat(特許庁公式サイト)で参照する
関連特許
日立建機株式会社
作業機械
2日前
日立建機株式会社
作業車両
11日前
日立建機株式会社
作業車両
9日前
日立建機株式会社
作業機械
9日前
日立建機株式会社
作業機械
9日前
日立建機株式会社
油圧機器
10日前
日立建機株式会社
作業機械
11日前
日立建機株式会社
作業機械
11日前
日立建機株式会社
作業機械
11日前
日立建機株式会社
作業車両
11日前
日立建機株式会社
建設機械
11日前
日立建機株式会社
作業機械
9日前
日立建機株式会社
建設機械
11日前
日立建機株式会社
建設機械
15日前
日立建機株式会社
油圧機器
15日前
日立建機株式会社
作業機械
15日前
日立建機株式会社
作業車両
15日前
日立建機株式会社
建設機械
15日前
日立建機株式会社
作業機械
15日前
日立建機株式会社
作業機械
15日前
日立建機株式会社
作業機械
15日前
日立建機株式会社
転圧機械
9日前
日立建機株式会社
建設機械
15日前
日立建機株式会社
建設機械
9日前
日立建機株式会社
作業車両
4日前
日立建機株式会社
作業機械
8日前
日立建機株式会社
変速装置
8日前
日立建機株式会社
作業機械
8日前
日立建機株式会社
作業車両
8日前
日立建機株式会社
作業機械
8日前
日立建機株式会社
作業機械
8日前
日立建機株式会社
建設機械
9日前
日立建機株式会社
作業機械
8日前
日立建機株式会社
ポンプ装置
9日前
日立建機株式会社
運用管理装置
8日前
日立建機株式会社
施工管理装置
9日前
続きを見る
他の特許を見る