TOP
|
特許
|
意匠
|
商標
特許ウォッチ
Twitter
他の特許を見る
10個以上の画像は省略されています。
公開番号
2025146533
公報種別
公開特許公報(A)
公開日
2025-10-03
出願番号
2024047367
出願日
2024-03-22
発明の名称
油圧機器
出願人
日立建機株式会社
代理人
弁理士法人第一テクニカル国際特許事務所
主分類
F04B
53/10 20060101AFI20250926BHJP(液体用容積形機械;液体または圧縮性流体用ポンプ)
要約
【課題】2つの部品の合わせ面に設ける逆止弁機構によって、油路が高圧回路である場合であっても圧油の漏れを十分に防止することができる油圧機器を提供する。
【解決手段】逆止弁機構100がポペット用穴156に挿入されたポペット106と傘部106Bが接触可能なシート部111とを有し、メインケーシング11aの穴11Aとヘッドケーシング11bの穴11Bとが連通しつつ対向する油圧機器において、メインケーシング11a又はヘッドケーシング11bにおける、軸心kAまたは軸心kBを基準として穴11A及び穴11Bの対向部より径方向外側に設けられた、略環状のOリング溝107と、Oリング溝107に挿入されたOリングORと、対向部よりも径方向外側で、かつOリング溝107よりも径方向内側に設けられ、メインケーシング11a又はヘッドケーシング11bのドレーンポートに連通するドレーン溝150と、を有する。
【選択図】図5
特許請求の範囲
【請求項1】
第1軸心を備えた第1穴が形成された第1油圧部品と、
第2軸心を備えた第2穴が形成された第2油圧部品と、
前記第1油圧部品と前記第2油圧部品とが接続される合わせ面に設けられる逆止弁機構とを有し、
前記逆止弁機構は、前記第1穴又は前記第2穴に備えられるポペット用穴と、前記ポペット用穴に摺動可能に挿入され、略棒状のステムと傘部とを備えたポペットと、前記第1穴又は前記第2穴に備えられ、前記ポペット用穴内で摺動する前記ポペットの前記傘部が接触可能な弁座部とを有し、
前記第1軸心と前記第2軸心とを一致させ、当該第1軸心または第2軸心を基準として前記第1油圧部品の前記第1穴と前記第2油圧部品の前記第2穴とが連通しつつ対向する油圧機器において、
前記第1油圧部品又は前記第2油圧部品における、前記第1軸心または第2軸心を基準として前記第1穴及び前記第2穴の対向部より径方向外側に設けられた、略環状の第1溝と、
前記第1溝に挿入されて配置されたOリングと、
前記対向部よりも径方向外側で、かつ前記第1溝よりも径方向内側に設けられ、前記第1油圧部品又は前記第2油圧部品のドレーンポートに連通する第2溝と、
を有することを特徴とする油圧機器。
続きを表示(約 970 文字)
【請求項2】
請求項1記載の油圧機器において、
圧油を吐出する油圧ポンプに設けられており、
前記第1穴及び前記第2穴が、吐出された圧油の油路を構成している
ことを特徴とする油圧機器。
【請求項3】
請求項2記載の油圧機器において、
前記油圧ポンプは、
原動機の出力軸に連結され、ドライブディスクを備えた回転軸と、
センタシャフトを介して前記ドライブディスクに連結され、複数のシリンダ室を備えたシリンダブロックと、
前記シリンダ室の内部に往復摺動可能に挿入され、前記ドライブディスクに揺動自在に連結されたピストンと、
前記回転軸に対する前記センタシャフトの傾斜角を変化させ、前記ピストンのストローク量を変化させるサーボピストンと、
内部を前記サーボピストンが往復動作するシリンダ室と、
を有する可変容量型ポンプであり、
前記第1油圧部品は、
前記回転軸と、前記シリンダブロックと、前記ピストンとを収容したポンプケーシングであり、
前記第2油圧部品は、
前記サーボピストンと、前記シリンダ室とを収容したヘッドケーシングである
ことを特徴とする油圧機器。
【請求項4】
請求項1記載の油圧機器において、
油圧源と油圧アクチュエータとの間に配置されるコントロールバルブに設けられており、
前記第1穴及び前記第2穴が、前記油圧源からの圧油の油路を構成している
ことを特徴とする油圧機器。
【請求項5】
請求項1記載の油圧機器において、
前記ポペット用穴は、前記第1穴に備えられ、
前記弁座部は、前記第2穴の縁部に設けられ、
前記第1溝及び前記第2溝は、前記第1油圧部品に設けられている
ことを特徴とする油圧機器。
【請求項6】
請求項1記載の油圧機器において、
前記ポペット用穴は、前記第2穴に備えられ、
前記弁座部は、前記第2穴に備えられる前記ポペット用穴の底部に設けられ、
前記第1溝及び前記第2溝は、前記第1油圧部品に設けられている
ことを特徴とする油圧機器。
発明の詳細な説明
【技術分野】
【0001】
本発明は、逆止弁機構を備えた油圧機器に関する。
続きを表示(約 2,100 文字)
【背景技術】
【0002】
特許文献1は、ケーシング内にそれぞれ回転自在に支持された一対の回転軸に設けられ、各ピストンが往復動する複数のシリンダがそれぞれ穿設された一対のシリンダブロックと、ケーシングと該各シリンダブロックの端面との間に設けられ、該各シリンダブロックの回転時に各シリンダとそれぞれ連通する一対の吸入・吐出ポートが穿設された弁板とからなるアキシャルピストン式ダブル型油圧ポンプを開示している。この油圧ポンプでは、ケーシングは、一端側端面が衝合面となった筒状のケーシング本体と、該ケーシング本体の衝合面に衝合され、該ケーシング本体の一端側を施蓋するヘッドケーシングとから構成されている。また、ケーシング本体の衝合面には、ケーシング本体の内周側に臨み、バックアップリングが装着される深溝な内側リング溝と、該内側リング溝の外周側に位置し、バックアップリングとの間にOリングが装着される浅溝な外側リング溝とからなる段付リング溝が一体的に形成されている。
【0003】
特許文献2は、軸方向に沿って形成される管路の一部に、管路を拡径形成した拡径部を設け、その拡径部の周壁に軸周りの少なくとも半周部分が開口する開口部を形成してなる管体と、開口部を介して拡径部に収容される逆止弁ユニットと、管体に装着され、管体の側面を軸方向に沿ってスライドして開口部を閉塞可能なスライド管とを備える逆止弁保持装置を開示している。この逆止弁保持装置では、管体の拡径部の端部には逆止弁ユニットのOリングを配設した端部が嵌入する環状壁が形成されており、該環状壁に逆止弁ユニットを嵌入装着した状態で生じる拡径部の隙間に環状スペーサが配置されている。また、管体の側面には、開口部を挟んで軸方向に一対のOリングが配置され、スライド管の内面が一対のOリングに接触して拡径部を密閉している。
【先行技術文献】
【特許文献】
【0004】
特開平6-330850号公報
特許4755465号公報
【発明の概要】
【発明が解決しようとする課題】
【0005】
しかしながら、圧油の漏れが生じ得る2つの部品の合わせ面に逆止弁機構を設けるとき、それらの油路が高圧回路である場合は、上記特許文献1又は特許文献2の構成では漏れ防止対策として不十分であった。
【0006】
本発明は、上記事情に鑑みてなされたものであり、その目的は、2つの部品の合わせ面に設ける逆止弁機構によって、油路が高圧回路である場合であっても圧油の漏れを十分に防止することができる油圧機器を提供することにある。
【課題を解決するための手段】
【0007】
上記目的を達成するために、本発明は、第1軸心を備えた第1穴が形成された第1油圧部品と、第2軸心を備えた第2穴が形成された第2油圧部品と、前記第1油圧部品と前記第2油圧部品とが接続される合わせ面に設けられる逆止弁機構とを有し、前記逆止弁機構は、前記第1穴又は前記第2穴に備えられるポペット用穴と、前記ポペット用穴に摺動可能に挿入され、略棒状のステムと傘部とを備えたポペットと、前記第1穴又は前記第2穴に備えられ、前記ポペット用穴内で摺動する前記ポペットの前記傘部が接触可能な弁座部とを有し、前記第1軸心と前記第2軸心とを一致させ、当該第1軸心または第2軸心を基準として前記第1油圧部品の前記第1穴と前記第2油圧部品の前記第2穴とが連通しつつ対向する油圧機器において、前記第1油圧部品又は前記第2油圧部品における、前記第1軸心または第2軸心を基準として前記第1穴及び前記第2穴の対向部より径方向外側に設けられた、略環状の第1溝と、前記第1溝に挿入されて配置されたOリングと、前記対向部よりも径方向外側で、かつ前記第1溝よりも径方向内側に設けられ、前記第1油圧部品又は前記第2油圧部品のドレーンポートに連通する第2溝と、を有することを特徴とする。
【発明の効果】
【0008】
本発明によれば、2つの部品の合わせ面に設ける逆止弁機構によって、油路が高圧回路である場合であっても圧油の漏れを十分に防止することができる。
【図面の簡単な説明】
【0009】
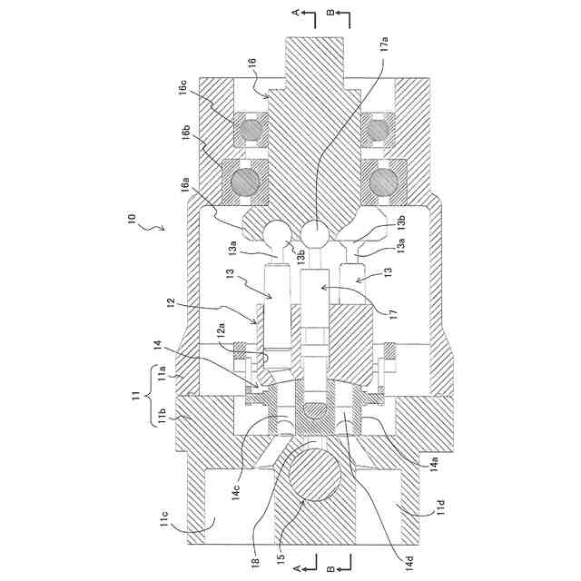
本発明の一実施形態の逆止弁機構の適用対象である可変容量型油圧ポンプの全体構造を表す断面図である。
図1中のA-A断面による矢視断面図である。
図1中のB-B断面による矢視断面図である。
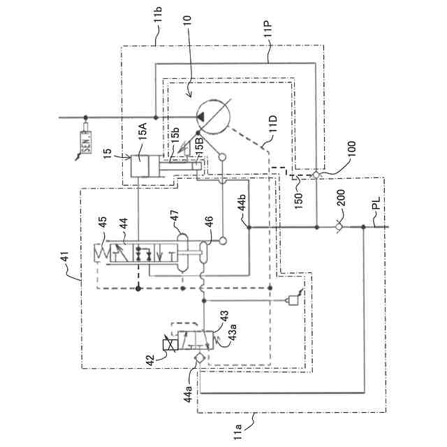
図1~図3に示す油圧ポンプを含む、建設機械の油圧駆動装置の要部を表す油圧回路図である。
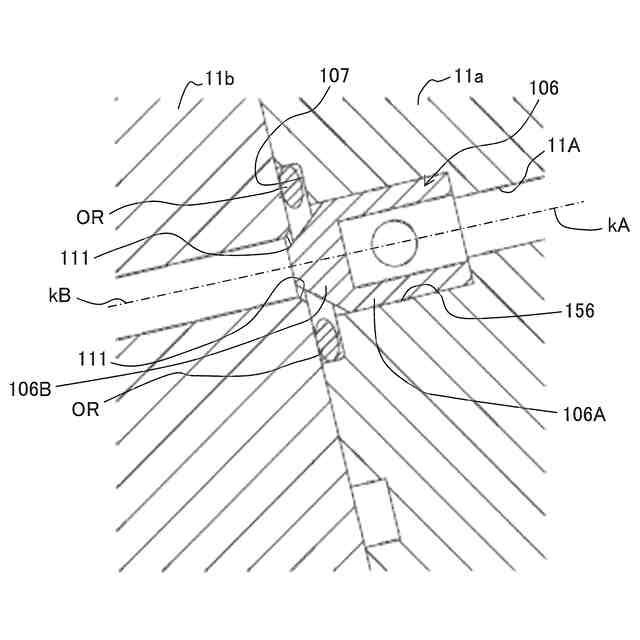
図3中の要部拡大図である。
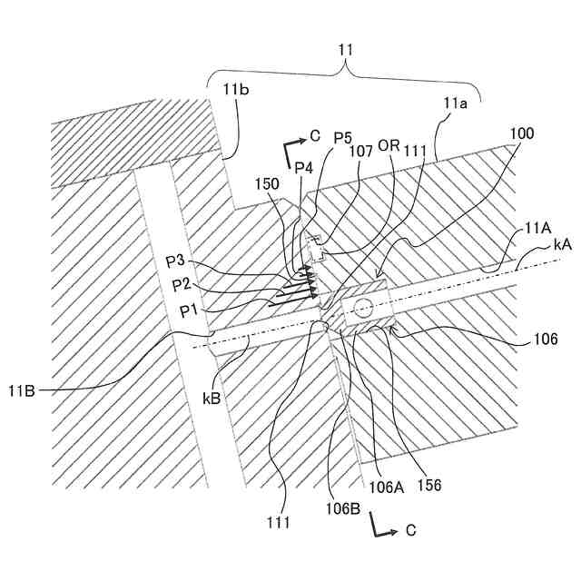
図5中のC-C断面で見た矢視図である。
第1比較例による逆止弁機構を表す拡大断面図である。
第2比較例による逆止弁機構を表す拡大断面図である。
ポペット用穴をヘッドケーシングに設ける変形例を表す拡大断面図である。
【発明を実施するための形態】
【0010】
以下、本発明の一実施形態を、図面を参照しつつ説明する。
(【0011】以降は省略されています)
この特許をJ-PlatPat(特許庁公式サイト)で参照する
関連特許
日立建機株式会社
作業機械
2か月前
日立建機株式会社
作業機械
7日前
日立建機株式会社
作業機械
3日前
日立建機株式会社
作業機械
3日前
日立建機株式会社
作業車両
3日前
日立建機株式会社
作業車両
3日前
日立建機株式会社
建設機械
3日前
日立建機株式会社
建設機械
3日前
日立建機株式会社
建設機械
7日前
日立建機株式会社
作業機械
7日前
日立建機株式会社
作業車両
7日前
日立建機株式会社
建設機械
7日前
日立建機株式会社
作業機械
7日前
日立建機株式会社
作業機械
7日前
日立建機株式会社
油圧機器
2日前
日立建機株式会社
建設機械
7日前
日立建機株式会社
作業機械
8日前
日立建機株式会社
作業機械
8日前
日立建機株式会社
作業機械
11日前
日立建機株式会社
建設機械
11日前
日立建機株式会社
作業機械
15日前
日立建機株式会社
作業機械
21日前
日立建機株式会社
作業機械
29日前
日立建機株式会社
作業機械
1か月前
日立建機株式会社
作業機械
1か月前
日立建機株式会社
建設機械
1か月前
日立建機株式会社
作業機械
3日前
日立建機株式会社
油圧機器
7日前
日立建機株式会社
作業車両
今日
日立建機株式会社
作業機械
今日
日立建機株式会社
作業機械
今日
日立建機株式会社
建設機械
1日前
日立建機株式会社
建設機械
1日前
日立建機株式会社
作業機械
1日前
日立建機株式会社
転圧機械
1日前
日立建機株式会社
作業車両
1日前
続きを見る
他の特許を見る