TOP
|
特許
|
意匠
|
商標
特許ウォッチ
Twitter
他の特許を見る
公開番号
2025146475
公報種別
公開特許公報(A)
公開日
2025-10-03
出願番号
2024047281
出願日
2024-03-22
発明の名称
作業機械
出願人
日立建機株式会社
代理人
弁理士法人武和国際特許事務所
主分類
E02F
9/00 20060101AFI20250926BHJP(水工;基礎;土砂の移送)
要約
【課題】アンテナ装置の管理が簡単な作業機械を提供する。
【解決手段】作業機械の一例である油圧ショベル(1)は、走行体(2)上に旋回可能に支持された旋回体(3)と、旋回体(3)に取り付けられた作業機(4)と、旋回体(3)に設けられたエンジン(14)等の駆動源を収容する建屋(16)と、建屋(16)の上部に設置されたアンテナユニット(18)とを備えており、アンテナユニット(18)は、GNSSアンテナからなるアンテナ装置(19)と、アンテナ装置(19)を収容するアンテナカバー(20)とで構成され、アンテナカバー(20)の上面は、樹脂材料、または、開口によって形成された特定領域部(27,28)を有している。
【選択図】図5
特許請求の範囲
【請求項1】
車体と、前記車体に取り付けられた作業機と、前記車体に設けられた駆動源を収容する建屋と、前記建屋の上部に配置されたアンテナ装置と、を備えた作業機械において、
前記アンテナ装置を収容するアンテナカバーを備え、
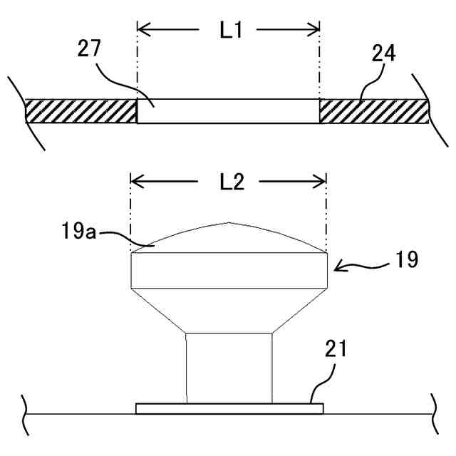
前記アンテナカバーの上面は、樹脂材料、または、開口によって形成された特定領域部を有する、
ことを特徴とする作業機械。
続きを表示(約 520 文字)
【請求項2】
請求項1に記載の作業機械において、
前記特定領域部は、前記開口で形成されており、
前記開口の寸法は、前記アンテナ装置の通過が不可となる寸法に設定されている、
ことを特徴とする作業機械。
【請求項3】
請求項2に記載の作業機械において、
前記アンテナ装置は、その頂部が前記開口より上方へ突出した状態で設けられている、
ことを特徴とする作業機械。
【請求項4】
請求項1に記載の作業機械において、
前記特定領域部は、前記樹脂材料で形成されており、
前記アンテナカバーのうち前記特定領域部を除くカバー部分は、金属材料で構成されている、
ことを特徴とする作業機械。
【請求項5】
請求項1に記載の作業機械において、
前記アンテナカバーは、閉じた位置と、90度以下の角度で開いた位置との間で回動可能である、
ことを特徴とする作業機械。
【請求項6】
請求項5に記載の作業機械において、
前記アンテナカバーを施解錠する施解錠装置を備えている、
ことを特徴とする作業機械。
発明の詳細な説明
【技術分野】
【0001】
本発明は、油圧ショベル等の作業機械に関する。
続きを表示(約 1,200 文字)
【背景技術】
【0002】
油圧ショベル等の作業機械において、アンテナ装置の位置情報に基づいて作業機械の位置情報を計測し、掘削作業等の施工管理を支援するようにした技術が広く知られている。
【0003】
例えば特許文献1には、車体に設けられた建屋カバーと、建屋カバー上に立設された支持マストと、支持マストの頂部に着脱可能に取り付けるアンテナ装置と、建屋カバー内に設けられたアンテナ収容室とを備え、アンテナ装置を使用しない作業を行う場合や、運搬車両を用いて車体を輸送する場合等は、アンテナ装置を支持マストから取り外してアンテナ収容室内に保管するようにした油圧ショベルが記載されている。
【先行技術文献】
【特許文献】
【0004】
特許第7339454号公報
【発明の概要】
【発明が解決しようとする課題】
【0005】
しかしながら、特許文献1では、アンテナ装置を支持マストから取り外してアンテナ収容室内に保管する作業と、保管されたアンテナ装置を支持マストに取り付ける作業とが必要となり、アンテナ装置の管理に手間がかかるという課題がある。
【0006】
本発明は、このような実状に鑑みてなされたものであり、その目的は、アンテナ装置の管理が簡単な作業機械を提供することにある。
【課題を解決するための手段】
【0007】
上記目的を達成するために、本発明の一態様は、車体と、前記車体に取り付けられた作業機と、前記車体に設けられた駆動源を収容する建屋と、前記建屋の上部に配置されたアンテナ装置と、を備えた作業機械において、前記アンテナ装置を収容するアンテナカバーを備え、前記アンテナカバーの上面は、樹脂材料、または、開口によって形成された特定領域部を有する、ことを特徴とする。
【発明の効果】
【0008】
本発明によれば、アンテナ装置の管理が簡単な作業機械を提供することができる。なお、上記した以外の課題、構成及び効果は、以下の実施形態の説明により明らかにされる。
【図面の簡単な説明】
【0009】
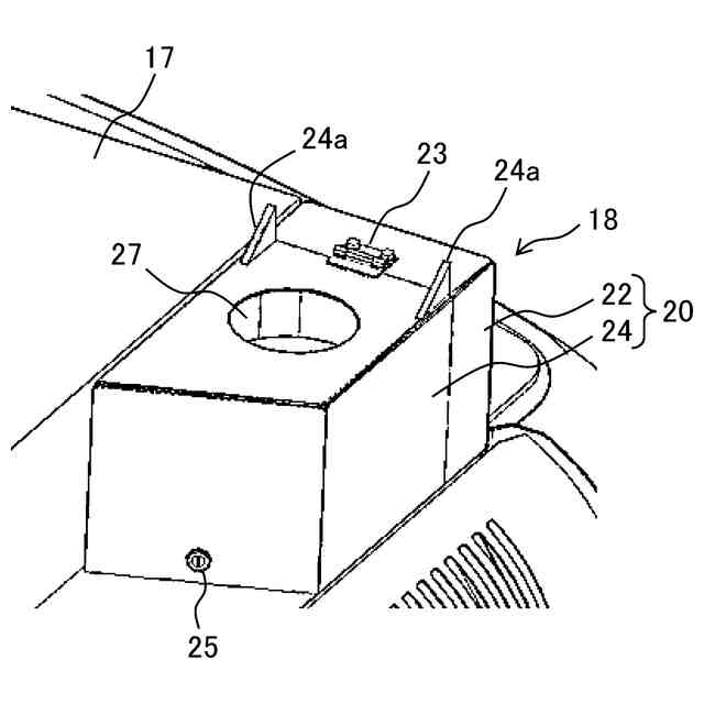
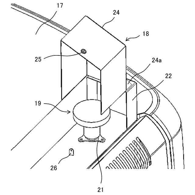
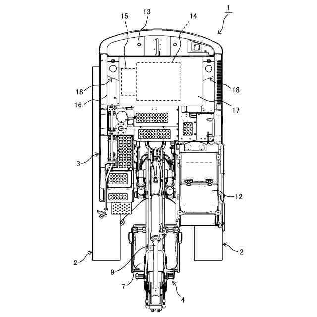
本発明の実施形態に係る油圧ショベルの側面図である。
油圧ショベルの平面図である。
アンテナユニットの斜視図である。
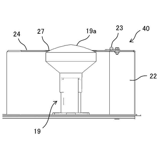
アンテナユニットの断面図である。
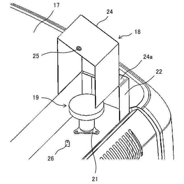
アンテナユニットのアンテナカバーを開放した状態を示す斜視図である。
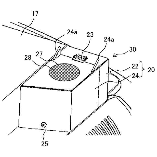
変形例1に係るアンテナユニットの斜視図である
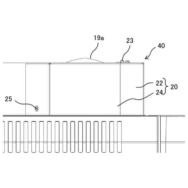
変形例2に係るアンテナユニットの側面図である。
変形例2に係るアンテナユニットの断面図である。
【発明を実施するための形態】
【0010】
以下、本発明の実施形態に係る作業機械について、図面を参照して説明する。
(【0011】以降は省略されています)
この特許をJ-PlatPat(特許庁公式サイト)で参照する
関連特許
日立建機株式会社
建設機械
今日
日立建機株式会社
作業機械
今日
日立建機株式会社
作業機械
22日前
日立建機株式会社
作業機械
14日前
日立建機株式会社
作業機械
8日前
日立建機株式会社
建設機械
4日前
日立建機株式会社
作業機械
4日前
日立建機株式会社
作業機械
1日前
日立建機株式会社
油圧機器
今日
日立建機株式会社
建設機械
今日
日立建機株式会社
作業機械
今日
日立建機株式会社
作業機械
1日前
日立建機株式会社
作業機械
今日
日立建機株式会社
建設機械
今日
日立建機株式会社
作業車両
今日
日立建機株式会社
作業機械
今日
日立建機株式会社
動力伝達装置
今日
日立建機株式会社
液冷式抵抗器
今日
日立建機株式会社
油圧システム
4日前
日立建機株式会社
電動式作業機械
今日
日立建機株式会社
ダンプトラック
今日
日立建機株式会社
充電支援システム
1か月前
日立建機株式会社
水素供給システム
今日
日立建機株式会社
分別回収システム
4日前
日立建機株式会社
減速機及び建設機械
今日
日立建機株式会社
スプライン連結装置
4日前
日立建機株式会社
建設機械の作業装置
14日前
日立建機株式会社
建設機械の下部走行体
7日前
日立建機株式会社
地形情報管理システム
4日前
日立建機株式会社
作業機械及び監視システム
今日
日立建機株式会社
制御弁装置および作業機械
1か月前
日立建機株式会社
作業機械の位置推定システム
14日前
日立建機株式会社
アキシャルピストン式液圧回転機
今日
日立建機株式会社
作業機械および作業機械の制御方法
2日前
日立建機株式会社
作業機械の経路生成装置及び作業機械
今日
日立建機株式会社
計測装置及びダンプトラックの走行装置
今日
続きを見る
他の特許を見る