TOP
|
特許
|
意匠
|
商標
特許ウォッチ
Twitter
他の特許を見る
公開番号
2025145304
公報種別
公開特許公報(A)
公開日
2025-10-03
出願番号
2024045409
出願日
2024-03-21
発明の名称
作業機械
出願人
日立建機株式会社
代理人
弁理士法人武和国際特許事務所
主分類
E02F
9/20 20060101AFI20250926BHJP(水工;基礎;土砂の移送)
要約
【課題】サポート人員との接触を回避しつつ、サポート人員のサポートで操作者に操作技術を習得させることが可能な作業機械を提供する。
【解決手段】作業機械は、機体と、機体に支持されて動作する作業装置と、操作装置及びシートが内部に配置され、ドアおよび窓を有し機体に支持されたキャブと、操作者がシートに着座したことを検出する着座センサと、キャブにおけるドアもしくは窓の開閉状態を検出する開閉センサと、着座センサ及び開閉センサによる検出結果に基づいて、操作装置の操作に従った機体の動作を制御するコントローラとを備える。コントローラは、着座センサによって着座が検出されていない場合に、機体及び作業装置の動作を禁止し、着座センサによって着座が検出され且つ開閉センサによってドアもしくは窓が開いた状態が検出された場合に、作業装置の動作を許可し且つ機体の動作の少なくとも一部を制限もしくは禁止する。
【選択図】図4
特許請求の範囲
【請求項1】
機体と、
前記機体に支持されて動作する作業装置と、
前記機体及び前記作業装置を動作させるために操作される操作装置、及び前記操作装置を操作する操作者が着座するシートが内部に配置され、ドアおよび窓を有し前記機体に支持されたキャブとを備える作業機械において、
操作者が前記シートに着座したことを検出する着座センサと、
前記キャブにおける前記ドアもしくは前記窓の開閉状態を検出する開閉センサと、
前記着座センサ及び前記開閉センサによる検出結果に基づいて、前記操作装置の操作に従った前記機体の動作を制御するコントローラとを備え、
前記コントローラは、
前記着座センサによって着座が検出されていない場合に、前記機体及び前記作業装置の動作を禁止し、
前記着座センサによって着座が検出され且つ前記開閉センサによって前記ドアもしくは前記窓が開いた状態が検出された場合に、前記作業装置の動作を許可し且つ前記機体の動作の少なくとも一部を制限もしくは禁止することを特徴とする作業機械。
続きを表示(約 1,100 文字)
【請求項2】
請求項1に記載の作業機械において、
前記機体は、
下部走行体と、
前記下部走行体に旋回可能に支持され、前記作業装置及び前記キャブを支持する上部旋回体とを備え、
前記コントローラは、前記着座センサによって着座が検出され且つ前記開閉センサによって前記ドアもしくは前記窓が開いた状態が検出された場合に、前記作業装置の動作を許可し且つ前記上部旋回体の旋回動作を制限もしくは禁止することを特徴とする作業機械。
【請求項3】
請求項2に記載の作業機械において、
前記コントローラは、前記着座センサによって着座が検出され且つ前記開閉センサによって前記ドアもしくは前記窓が開いた状態が検出された場合に、前記作業装置の動作を許可し且つ前記上部旋回体の旋回角及び旋回速度の少なくとも一方をさらに制限することを特徴とする作業機械。
【請求項4】
請求項1に記載の作業機械において、
前記コントローラは、前記着座センサによって着座が検出され且つ前記開閉センサによって前記ドアもしくは前記窓が開いた状態が検出された場合に、前記作業装置の動作を許可し且つ前記機体の走行する向きを変更する動作を制限もしくは禁止することを特徴とする作業機械。
【請求項5】
請求項4に記載の作業機械において、
前記コントローラは、前記着座センサによって着座が検出され且つ前記開閉センサによって前記ドアもしくは前記窓が開いた状態が検出された場合に、前記作業装置の動作を許可し且つ前記機体が前後進する走行速度をさらに制限することを特徴とする作業機械。
【請求項6】
請求項1に記載の作業機械において、
前記キャブ内に配置されて情報を報知する報知装置を備え、
前記コントローラは、
前記着座センサによって着座が検出されていない場合に、前記機体及び前記作業装置の動作を禁止することを、前記報知装置を通じて報知し、
前記着座センサによって着座が検出され且つ前記開閉センサによって前記ドアもしくは前記窓が開いた状態が検出された場合に、前記作業装置の動作を許可し且つ前記機体の動作の少なくとも一部を制限もしくは禁止することを、前記報知装置を通じて報知することを特徴とする作業機械。
【請求項7】
請求項1に記載の作業機械において、
前記着座センサは、操作者を前記シートに拘束するシートベルトが装着されたことを着座しているとみなして検出することを特徴とする作業機械。
発明の詳細な説明
【技術分野】
【0001】
本発明は、作業機械に関する。
続きを表示(約 1,500 文字)
【背景技術】
【0002】
作業機械の操作技術を習得しようとする操作者は、例えば、キャブの横に立ったサポート人員と会話したり、サポート人員からの指示を受けながら、作業機械の操作を練習する場合がある。このような場合において、操作者が操作する作業機械がサポート人員に接触するのを回避する必要がある。
【0003】
また、特許文献1には、作業機械が周囲の作業者に接触するのを回避するために、自己位置を発信する発信装置を携帯する作業者が死角領域に存在する場合に、作業機械の動作を制限する技術が開示されている。
【先行技術文献】
【特許文献】
【0004】
特開2020-139312号公報
【発明の概要】
【発明が解決しようとする課題】
【0005】
しかしながら、特許文献1の技術では、発信装置を携帯する者がサポート人員か否かに拘わらず、作業機械の動作が制限される。また、特許文献1の技術では、発信装置を携帯しない者を検出することができない。
【0006】
本発明は、上記した実状に鑑みてなされたものであり、その目的は、サポート人員との接触を回避しつつ、サポート人員のサポートで操作者に操作技術を習得させることが可能な作業機械を提供することにある。
【課題を解決するための手段】
【0007】
上記目的を達成するために、本発明は、機体と、前記機体に支持されて動作する作業装置と、前記機体及び前記作業装置を動作させるために操作される操作装置、及び前記操作装置を操作する操作者が着座するシートが内部に配置され、ドアおよび窓を有し前記機体に支持されたキャブとを備える作業機械において、操作者が前記シートに着座したことを検出する着座センサと、前記キャブにおける前記ドアもしくは前記窓の開閉状態を検出する開閉センサと、前記着座センサ及び前記開閉センサによる検出結果に基づいて、前記操作装置の操作に従った前記機体の動作を制御するコントローラとを備え、前記コントローラは、前記着座センサによって着座が検出されていない場合に、前記機体及び前記作業装置の動作を禁止し、前記着座センサによって着座が検出され且つ前記開閉センサによって前記ドアもしくは前記窓が開いた状態が検出された場合に、前記作業装置の動作を許可し且つ前記機体の動作の少なくとも一部を制限もしくは禁止することを特徴とする。
【発明の効果】
【0008】
本発明によれば、サポート人員との接触を回避しつつ、サポート人員のサポートで操作者に操作技術を習得させることができる。なお、上記した以外の課題、構成及び効果は、以下の実施形態の説明により明らかにされる。
【図面の簡単な説明】
【0009】
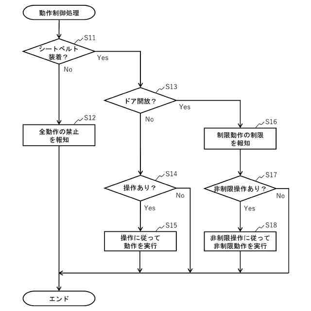
油圧ショベルの側面図である。
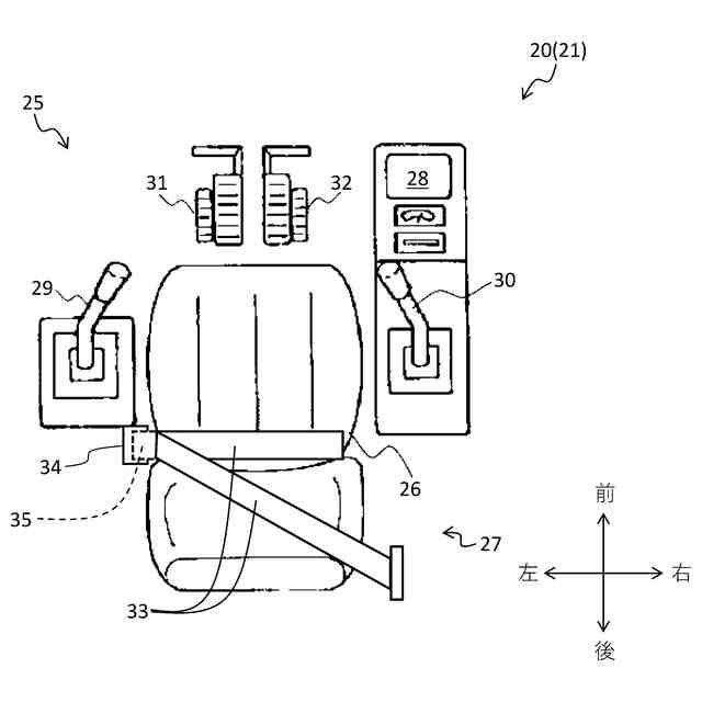
キャブの内部を示す模式図である。
油圧ショベルの制御ブロック図である。
動作制御処理のフローチャートである。
制限動作及び非制限動作の組み合わせの例を示す図である。
【発明を実施するための形態】
【0010】
本発明に係る作業機械としての油圧ショベル1の実施形態について、図面を用いて説明する。但し、作業機械の具体例は、油圧ショベル1に限定されず、ホイールローダ、ダンプトラック、クレーン車など、作業装置を有するものであればよい。また、本明細書中の前後左右は、特に断らない限り、油圧ショベル1に搭乗して操作する操作者H1の視点を基準としている。
(【0011】以降は省略されています)
この特許をJ-PlatPat(特許庁公式サイト)で参照する
関連特許
日立建機株式会社
建設機械
1日前
日立建機株式会社
作業機械
1日前
日立建機株式会社
作業機械
2日前
日立建機株式会社
作業機械
2日前
日立建機株式会社
建設機械
1日前
日立建機株式会社
作業機械
1日前
日立建機株式会社
作業機械
1日前
日立建機株式会社
油圧機器
1日前
日立建機株式会社
作業機械
5日前
日立建機株式会社
建設機械
1日前
日立建機株式会社
作業車両
1日前
日立建機株式会社
作業機械
1日前
日立建機株式会社
動力伝達装置
1日前
日立建機株式会社
液冷式抵抗器
1日前
日立建機株式会社
電動式作業機械
1日前
日立建機株式会社
ダンプトラック
1日前
日立建機株式会社
水素供給システム
1日前
日立建機株式会社
減速機及び建設機械
1日前
日立建機株式会社
作業機械及び監視システム
1日前
日立建機株式会社
アキシャルピストン式液圧回転機
1日前
日立建機株式会社
作業機械および作業機械の制御方法
3日前
日立建機株式会社
作業機械の経路生成装置及び作業機械
1日前
日立建機株式会社
計測装置及びダンプトラックの走行装置
1日前
日立建機株式会社
満足度収集システム及び満足度収集サーバ
1日前
鈴健興業株式会社
敷板部材
1日前
株式会社クボタ
作業車
3日前
個人
擁壁用ブロックおよび擁壁
2日前
株式会社ネクステリア
平板基礎
1日前
株式会社大林組
建物の構造
2日前
日立建機株式会社
建設機械
1日前
日立建機株式会社
電動式作業機械
1日前
浙江工業大学
多機能土柱モデル装置及び使用方法
1日前
日立建機株式会社
作業機械
1日前
日立建機株式会社
作業機械
1日前
日立建機株式会社
作業機械
1日前
日立建機株式会社
作業機械
2日前
続きを見る
他の特許を見る