TOP
|
特許
|
意匠
|
商標
特許ウォッチ
Twitter
他の特許を見る
10個以上の画像は省略されています。
公開番号
2025145145
公報種別
公開特許公報(A)
公開日
2025-10-03
出願番号
2024045175
出願日
2024-03-21
発明の名称
作業機械
出願人
日立建機株式会社
代理人
弁理士法人開知
主分類
F15B
11/02 20060101AFI20250926BHJP(流体圧アクチュエータ;水力学または空気力学一般)
要約
【課題】アキュムレータと油圧ポンプによる油圧アクチュエータへの作動油の供給分担が変わるときに、油圧アクチュエータへの作動油の供給流量の連続性を確保可能な作業機械を提供する。
【解決手段】作業機械のコントローラは、アキュムレータの供給流量によって油圧アクチュエータの要求流量を賄える場合には、油圧ポンプの容積を最小容積に制御するとともに原動機の回転速度を最小回転速度に制御し、アキュムレータの圧力と、油圧アクチュエータの圧力と、油圧アクチュエータの要求流量とに基づいて、アキュムレータ制御弁を制御し、アキュムレータの供給流量によって油圧アクチュエータの要求流量を賄えない場合には、アキュムレータ制御弁の開口面積を最大開口面積に制御し、かつ、アキュムレータの供給流量と油圧ポンプの供給流量の合計が油圧アクチュエータの要求流量となるように、油圧ポンプの容積及び原動機の回転速度を制御する。
【選択図】図5A
特許請求の範囲
【請求項1】
原動機と、
前記原動機により駆動され、作動油を吐出する油圧ポンプと、
前記油圧ポンプから供給される作動油により駆動される油圧アクチュエータと、
前記油圧ポンプから前記油圧アクチュエータに供給される作動油の流れを制御するアクチュエータ制御弁と、
前記油圧アクチュエータからの戻り油を蓄えるアキュムレータと、
前記アキュムレータから前記油圧アクチュエータに供給される作動油の流量を制御するアキュムレータ制御弁と、
前記アキュムレータの圧力を検出するアキュムレータ圧センサと、
前記油圧アクチュエータの圧力を検出するアクチュエータ圧センサと、
前記油圧アクチュエータを操作する操作装置と、
前記操作装置の操作量を検出する操作量センサと、
前記油圧ポンプ、前記アクチュエータ制御弁、前記アキュムレータ制御弁、及び前記原動機を制御するコントローラと、を備えた作業機械において、
前記コントローラは、
前記操作量センサにより検出された操作量に基づいて、前記油圧アクチュエータの要求流量を演算し、
前記アキュムレータ圧センサにより検出された前記アキュムレータの圧力と、前記アクチュエータ圧センサにより検出された前記油圧アクチュエータの圧力とに基づいて、前記アキュムレータの供給流量を演算し、
前記アキュムレータの供給流量によって前記油圧アクチュエータの要求流量を賄うことができるか否かを判定し、
前記アキュムレータの供給流量によって前記油圧アクチュエータの要求流量を賄うことができると判定された場合には、前記油圧ポンプの容積を最小容積に制御するとともに前記原動機の回転速度を最小回転速度に制御し、前記アキュムレータ圧センサにより検出された前記アキュムレータの圧力と、前記アクチュエータ圧センサにより検出された前記油圧アクチュエータの圧力と、前記油圧アクチュエータの要求流量とに基づいて、前記アキュムレータ制御弁を制御し、
前記アキュムレータの供給流量によって前記油圧アクチュエータの要求流量を賄うことができないと判定された場合には、前記アキュムレータ制御弁の開口面積を最大開口面積に制御し、かつ、前記アキュムレータの供給流量と前記油圧ポンプの供給流量の合計が前記油圧アクチュエータの要求流量となるように、前記油圧ポンプの容積及び前記原動機の回転速度を制御する、
ことを特徴とする作業機械。
続きを表示(約 3,100 文字)
【請求項2】
請求項1に記載の作業機械において、
前記油圧ポンプの吐出圧を検出するポンプ圧センサを備え、
前記コントローラは、
前記アキュムレータの供給流量によって前記油圧アクチュエータの要求流量を賄うことができないと判定された場合には、前記原動機の回転速度を最小回転速度に維持した状態で、前記油圧アクチュエータの要求流量を前記アキュムレータの供給流量と前記油圧ポンプの供給流量で賄うことができるか否かを判定し、
前記原動機の回転速度を最小回転速度に維持した状態で、前記油圧アクチュエータの要求流量を前記アキュムレータの供給流量と前記油圧ポンプの供給流量で賄うことができると判定された場合には、前記ポンプ圧センサにより検出された前記油圧ポンプの吐出圧に基づいて、前記原動機の回転速度を最小回転速度に維持した状態で前記油圧アクチュエータの要求流量の作動油を吐出させる場合の前記油圧ポンプのトルクを演算し、演算した前記油圧ポンプのトルクが許容トルクよりも大きいか否かを判定し、
前記油圧ポンプのトルクが前記許容トルクよりも小さいと判定された場合には、前記原動機の回転速度を最小回転速度に制御し、かつ、前記アキュムレータの供給流量と前記油圧ポンプの供給流量の合計が前記油圧アクチュエータの要求流量となるように、前記油圧ポンプの容積を制御し、
前記油圧ポンプのトルクが前記許容トルクよりも大きいと判定された場合には、前記油圧ポンプの容積を前記油圧ポンプのトルクが前記許容トルクを超えない範囲での上限値に制御し、かつ、前記アキュムレータの供給流量と前記油圧ポンプの供給流量の合計が前記油圧アクチュエータの要求流量となるように、前記原動機の回転速度を制御する、
ことを特徴とする作業機械。
【請求項3】
請求項2に記載の作業機械において、
前記コントローラは、
前記ポンプ圧センサにより検出された前記油圧ポンプの吐出圧に基づいて、前記油圧ポンプの容積を最大容積とした場合の前記油圧ポンプのトルクである最大ポンプトルクを演算し、
前記原動機の回転速度を最小回転速度に維持した状態で、前記油圧アクチュエータの要求流量を前記アキュムレータの供給流量と前記油圧ポンプの供給流量で賄うことができないと判定された場合には、前記最大ポンプトルクが許容トルクよりも大きいか否かを判定し、
前記最大ポンプトルクが前記許容トルクよりも小さいと判定された場合には、前記油圧ポンプの容積を最大容積に制御し、かつ、前記アキュムレータの供給流量と前記油圧ポンプの供給流量の合計が前記油圧アクチュエータの要求流量となるように、前記原動機の回転速度を制御し、
前記最大ポンプトルクが前記許容トルクよりも大きいと判定された場合には、前記油圧ポンプの容積を前記油圧ポンプのトルクが前記許容トルクを超えない範囲での上限値に制御し、かつ、前記アキュムレータの供給流量と前記油圧ポンプの供給流量の合計が前記油圧アクチュエータの要求流量となるように、前記原動機の回転速度を制御する、
ことを特徴とする作業機械。
【請求項4】
請求項3に記載の作業機械において、
前記コントローラには、前記原動機の回転速度の変化に応じて変化する前記許容トルクの特性が記憶され、
前記コントローラは、
前記アキュムレータ圧センサにより検出された前記アキュムレータの圧力と、前記アクチュエータ圧センサにより検出された前記油圧アクチュエータの圧力とに基づいて、前記アキュムレータ制御弁の開口面積を最大開口面積とした場合の前記アキュムレータの供給流量を演算し、
前記油圧アクチュエータの要求流量から前記アキュムレータの供給流量を減算して前記油圧ポンプの要求流量を演算し、
前記許容トルクの特性と、前記ポンプ圧センサにより検出された前記油圧ポンプの吐出圧と、前記油圧ポンプの要求流量とに基づいて、前記油圧ポンプのトルクが前記許容トルクの範囲内で前記油圧ポンプの要求流量を満足する前記原動機の回転速度の速度下限値及び前記油圧ポンプの容積の容積上限値を演算し、
前記最大ポンプトルクが前記許容トルクよりも大きいと判定された場合には、前記原動機の回転速度が前記速度下限値となり、かつ、前記油圧ポンプの容積が前記容積上限値となるように、前記原動機の回転速度と前記油圧ポンプの容積を制御する、
ことを特徴とする作業機械。
【請求項5】
請求項4に記載の作業機械において、
前記許容トルクの特性は、前記原動機の回転速度と前記許容トルクとの関係を表す許容トルク特性線であり、
前記コントローラは、
前記ポンプ圧センサにより検出された前記油圧ポンプの吐出圧を一定とした場合の前記油圧ポンプのトルクと前記油圧ポンプの容積との関係と、前記油圧ポンプの供給流量を前記油圧ポンプの要求流量とした場合の前記原動機の回転速度と前記油圧ポンプの容積との関係と、に基づいて、前記原動機の回転速度と前記油圧ポンプのトルクとの関係を表すポンプトルク特性線を演算し、
前記許容トルク特性線と前記ポンプトルク特性線との交点の情報に基づいて、前記速度下限値及び前記容積上限値を演算する、
ことを特徴とする作業機械。
【請求項6】
請求項5に記載の作業機械において、
動作重視モード及び燃費重視モードのいずれか一方のモードを設定するモード設定装置を備え、
前記コントローラは、
前記許容トルク特性線と前記ポンプトルク特性線とが交差するか否かを判定し、
前記許容トルク特性線と前記ポンプトルク特性線とが交差しないと判定された場合には、設定されている前記モードを判定し、
前記動作重視モードが設定されていると判定された場合には、前記原動機の回転速度を最大回転速度に制御し、前記油圧ポンプの容積を前記油圧ポンプのトルクが前記許容トルクを超えない範囲での上限値に制御し、
前記燃費重視モードが設定されていると判定された場合には、前記原動機の回転速度を最小回転速度に制御し、前記油圧ポンプの容積を前記油圧ポンプのトルクが前記許容トルクを超えない範囲での上限値に制御する、
ことを特徴とする作業機械。
【請求項7】
請求項6に記載の作業機械において、
前記コントローラは、
前記動作重視モードが設定されていると判定された場合には、前記原動機を最大回転速度で回転させた場合に、前記油圧ポンプのトルクが前記許容トルクを超えることなく前記油圧ポンプから吐出可能な作動油の最大流量である第1流量と、前記原動機を最小回転速度で回転させた場合に、前記油圧ポンプのトルクが前記許容トルクを超えることなく前記油圧ポンプから吐出可能な作動油の最大流量である第2流量のいずれが大きいかを判定し、
前記第1流量が前記第2流量よりも大きいと判定された場合には、前記原動機の回転速度を最大回転速度に制御し、前記油圧ポンプの容積を前記油圧ポンプのトルクが前記許容トルクを超えない範囲での上限値に制御し、
前記第2流量が前記第1流量よりも大きいと判定された場合には、前記原動機の回転速度を最小回転速度に制御し、前記油圧ポンプの容積を前記油圧ポンプのトルクが前記許容トルクを超えない範囲での上限値に制御する、
ことを特徴とする作業機械。
発明の詳細な説明
【技術分野】
【0001】
本発明は、作業機械に関する。
続きを表示(約 3,200 文字)
【背景技術】
【0002】
特許文献1には、油圧アクチュエータによって上昇された荷重体が有する位置エネルギを下降時に蓄圧力として蓄積可能なアキュムレータと、アキュムレータから油圧アクチュエータへの作動油の流れを制御するアキュムレータ制御弁と、アキュムレータ制御弁及びポンプ動力を制御する制御装置と、を備えた作業機械が開示されている。この作業機械の制御装置は、アキュムレータに蓄圧力がある間は、ポンプ動力を減少させるとともにアキュムレータ制御弁を開いてアキュムレータから油圧アクチュエータに作動流体を供給する。この作業機械の制御装置は、アキュムレータの蓄圧力がなくなった段階で、ポンプ動力を制御してポンプから油圧アクチュエータに作動油を供給する。
【先行技術文献】
【特許文献】
【0003】
特開2009-275771号公報
【発明の概要】
【発明が解決しようとする課題】
【0004】
特許文献1に記載の技術では、アキュムレータにエネルギの蓄積がある場合には、アキュムレータのみから必要な流量が油圧アクチュエータに供給され、油圧ポンプの流量が最小流量に制御される。そして、アキュムレータが空になると、油圧ポンプのみから必要な流量が油圧アクチュエータに供給される。
【0005】
このように、特許文献1に記載の技術では、アキュムレータと油圧ポンプによる油圧アクチュエータへの作動油の供給分担が不連続的に変わる。このため、油圧アクチュエータも不連続的に動作することになり、作業機械のオペレータに違和感を与えてしまったり、油圧シリンダにより駆動される駆動対象部材の位置決めを精度よく行うことができなくなってしまったりするおそれがある。このため、アキュムレータと油圧ポンプによる油圧アクチュエータへの作動油の供給分担が変わるときに、油圧アクチュエータへの作動油の供給流量の連続性を確保可能な技術が要望されている。
【0006】
本発明は、アキュムレータと油圧ポンプによる油圧アクチュエータへの作動油の供給分担が変わるときに、油圧アクチュエータへの作動油の供給流量の連続性を確保可能な作業機械を提供することを目的とする。
【課題を解決するための手段】
【0007】
本発明の一態様による作業機械は、原動機と、前記原動機により駆動され、作動油を吐出する油圧ポンプと、前記油圧ポンプから供給される作動油により駆動される油圧アクチュエータと、前記油圧ポンプから前記油圧アクチュエータに供給される作動油の流れを制御するアクチュエータ制御弁と、前記油圧アクチュエータからの戻り油を蓄えるアキュムレータと、前記アキュムレータから前記油圧アクチュエータに供給される作動油の流量を制御するアキュムレータ制御弁と、前記アキュムレータの圧力を検出するアキュムレータ圧センサと、前記油圧アクチュエータの圧力を検出するアクチュエータ圧センサと、前記油圧アクチュエータを操作する操作装置と、前記操作装置の操作量を検出する操作量センサと、前記油圧ポンプ、前記アクチュエータ制御弁、前記アキュムレータ制御弁、及び前記原動機を制御するコントローラと、を備えた作業機械において、前記コントローラは、前記操作量センサにより検出された操作量に基づいて、前記油圧アクチュエータの要求流量を演算し、前記アキュムレータ圧センサにより検出された前記アキュムレータの圧力と、前記アクチュエータ圧センサにより検出された前記油圧アクチュエータの圧力とに基づいて、前記アキュムレータの供給流量を演算し、前記アキュムレータの供給流量によって前記油圧アクチュエータの要求流量を賄うことができるか否かを判定し、前記アキュムレータの供給流量によって前記油圧アクチュエータの要求流量を賄うことができると判定された場合には、前記油圧ポンプの容積を最小容積に制御するとともに前記原動機の回転速度を最小回転速度に制御し、前記アキュムレータ圧センサにより検出された前記アキュムレータの圧力と、前記アクチュエータ圧センサにより検出された前記油圧アクチュエータの圧力と、前記油圧アクチュエータの要求流量とに基づいて、前記アキュムレータ制御弁を制御し、前記アキュムレータの供給流量によって前記油圧アクチュエータの要求流量を賄うことができないと判定された場合には、前記アキュムレータ制御弁の開口面積を最大開口面積に制御し、かつ、前記アキュムレータの供給流量と前記油圧ポンプの供給流量の合計が前記油圧アクチュエータの要求流量となるように、前記油圧ポンプの容積及び前記原動機の回転速度を制御する。
【発明の効果】
【0008】
本発明によれば、アキュムレータと油圧ポンプによる油圧アクチュエータへの作動油の供給分担が変わるときに、油圧アクチュエータへの作動油の供給流量の連続性を確保可能な作業機械を提供することができる。
【図面の簡単な説明】
【0009】
図1は、第1実施形態に係る油圧ショベル100の側面図である。
図2は、油圧ショベル100が備える油圧システム106の概略図である。
図3は、本実施形態の比較例に係るコントローラによる制御を実行した場合の流量の時間変化を示す図である。
図4は、第1実施形態に係るコントローラ120の機能ブロック図である。
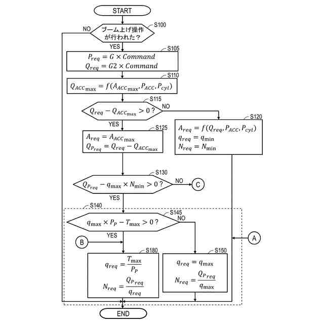
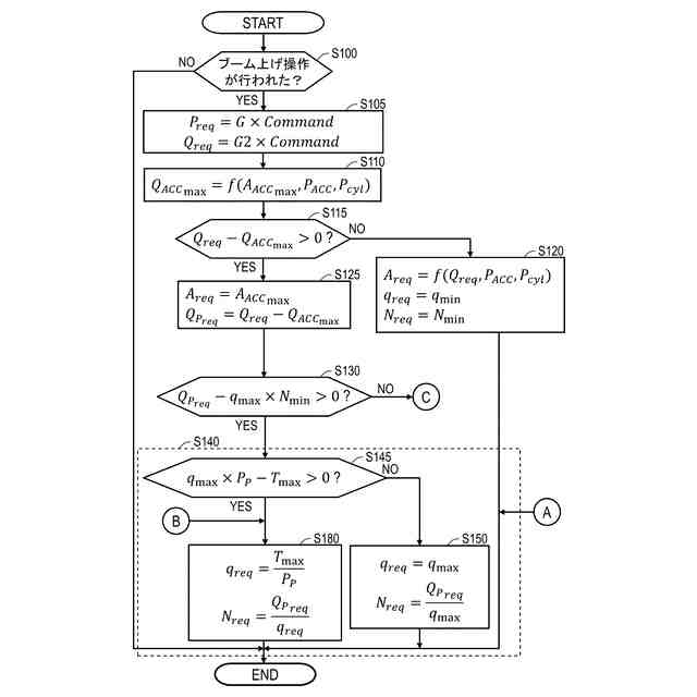
図5Aは、第1実施形態に係るコントローラ120により実行される処理の流れの一例について示すフローチャートである。
図5Bは、図5AのステップS130の処理で否定判定された場合に実行される処理の流れの一例について示す部分フローチャートである。
図6は、第1実施形態に係るコントローラ120による制御を実行した場合の流量の時間変化を示す図である。
図7は、第2実施形態に係るコントローラ220の機能ブロック図である。
図8は、第2実施形態に係るコントローラ220により実行される回転速度制御の処理の流れの一例について示すフローチャートである。
図9は、第2実施形態に係るコントローラ220による要求回転速度N
req
及び要求容積q
req
の演算処理について説明する図である。
図10は、第2実施形態の変形例に係るコントローラ220による要求回転速度N
req
及び要求容積q
req
の演算処理について説明する図である。
図11は、第3実施形態に係るコントローラ320の機能ブロック図である。
図12は、第3実施形態に係るコントローラ320により実行される回転速度制御(ステップS340)の処理の流れの一例について示すフローチャートである。
図13は、第3実施形態に係る油圧ショベル100の許容トルク特性線とポンプトルク特性線を示す図である。
図14は、第3実施形態の変形例に係るコントローラ320により実行される回転速度制御(ステップS440)の処理の流れの一例について示すフローチャートである。
図15は、第3実施形態の変形例に係る油圧ショベル100の許容トルク特性線とポンプトルク特性線を示す図である。
図16は、変形例1に係る許容トルク特性線を示す図である。
【発明を実施するための形態】
【0010】
図面を参照して、本発明の実施形態に係る作業機械について説明する。本実施形態では、作業機械がクローラ式の油圧ショベルである例について説明する。作業機械は、作業現場において、土木作業、建設作業、解体作業、浚渫作業等の作業を行う。
(【0011】以降は省略されています)
この特許をJ-PlatPat(特許庁公式サイト)で参照する
関連特許
日立建機株式会社
建設機械
3日前
日立建機株式会社
作業機械
3日前
日立建機株式会社
建設機械
1か月前
日立建機株式会社
作業機械
1か月前
日立建機株式会社
作業機械
1か月前
日立建機株式会社
作業機械
25日前
日立建機株式会社
作業機械
17日前
日立建機株式会社
作業機械
11日前
日立建機株式会社
油圧機器
3日前
日立建機株式会社
作業機械
7日前
日立建機株式会社
作業機械
4日前
日立建機株式会社
作業機械
4日前
日立建機株式会社
建設機械
3日前
日立建機株式会社
建設機械
7日前
日立建機株式会社
作業機械
3日前
日立建機株式会社
作業機械
3日前
日立建機株式会社
作業機械
3日前
日立建機株式会社
作業車両
3日前
日立建機株式会社
建設機械
3日前
日立建機株式会社
油圧システム
7日前
日立建機株式会社
情報処理装置
2か月前
日立建機株式会社
動力伝達装置
3日前
日立建機株式会社
液冷式抵抗器
3日前
日立建機株式会社
電動式作業機械
3日前
日立建機株式会社
ダンプトラック
3日前
日立建機株式会社
充電支援システム
1か月前
日立建機株式会社
部品需要予測装置
1か月前
日立建機株式会社
水素供給システム
3日前
日立建機株式会社
分別回収システム
7日前
日立建機株式会社
スプライン連結装置
7日前
日立建機株式会社
建設機械の作業装置
17日前
日立建機株式会社
減速機及び建設機械
3日前
日立建機株式会社
建設機械の下部走行体
10日前
日立建機株式会社
地形情報管理システム
7日前
日立建機株式会社
作業機械及び監視システム
3日前
日立建機株式会社
制御弁装置および作業機械
1か月前
続きを見る
他の特許を見る