TOP
|
特許
|
意匠
|
商標
特許ウォッチ
Twitter
他の特許を見る
10個以上の画像は省略されています。
公開番号
2025155209
公報種別
公開特許公報(A)
公開日
2025-10-14
出願番号
2024058888
出願日
2024-04-01
発明の名称
車両用ガラス板、及び車両用ガラス板の製造方法
出願人
AGC株式会社
代理人
個人
主分類
B60J
1/00 20060101AFI20251006BHJP(車両一般)
要約
【課題】ガラス板に光学素子を適切に取り付け可能な車両用ガラス板を提供すること。
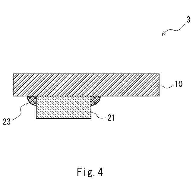
【解決手段】本開示の一態様かかる車両用ガラス板は、ガラス板10と、ガラス板10の表面側に第1主面31が配置された光学素子21と、を備える。光学素子21は軟質性を有する透明な樹脂材料を用いて構成されており、光学素子21に導入された光71は光学素子21を介してガラス板10に導入される。
【選択図】図1
特許請求の範囲
【請求項1】
ガラス板と、
前記ガラス板の表面側に第1主面が配置された光学素子と、を備え、
前記光学素子は軟質性を有する透明な樹脂材料を用いて構成されており、
前記光学素子に導入された光が前記光学素子を介して前記ガラス板に導入される、
車両用ガラス板。
続きを表示(約 710 文字)
【請求項2】
前記光学素子の曲げ弾性率が1,400MPa以下である、請求項1に記載の車両用ガラス板。
【請求項3】
前記光学素子の曲げ弾性率(MPa)と厚さ(mm)との積が、2,700MPa・mm以下である、請求項1に記載の車両用ガラス板。
【請求項4】
前記光学素子は、前記ガラス板と密着するように配置されている、請求項1~3のいずれか一項に記載の車両用ガラス板。
【請求項5】
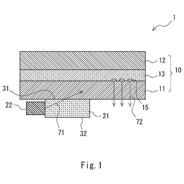
前記光学素子は、接着部材を用いて前記ガラス板に接着されている、請求項4に記載の車両用ガラス板。
【請求項6】
前記光学素子は、10質量%以上50質量%以下の可塑剤を含む樹脂材料を用いて構成されている、請求項1または2に記載の車両用ガラス板。
【請求項7】
前記光学素子がポリ塩化ビニルを用いて構成されている、請求項1または2に記載の車両用ガラス板。
【請求項8】
前記ガラス板の屈折率が1.48以上1.56以下であり、
前記光学素子の屈折率が1.46以上1.58以下である、
請求項1または2に記載の車両用ガラス板。
【請求項9】
前記光学素子と前記ガラス板との接触面の周囲に封止材が設けられている、請求項1または2に記載の車両用ガラス板。
【請求項10】
前記光学素子の前記第1主面と反対側の第2主面に支持部材が接着されており、
前記光は前記光学素子の側面から前記光学素子に導入される、
請求項1または2に記載の車両用ガラス板。
(【請求項11】以降は省略されています)
発明の詳細な説明
【技術分野】
【0001】
本開示は、車両用ガラス板、及び車両用ガラス板の製造方法に関する。
続きを表示(約 990 文字)
【背景技術】
【0002】
近年、発光ダイオード(LED:Light Emitting Diode)等の光源を用いて、車両用ガラス板の端部側から車両用ガラス板の内部に照射光を導入し、車両用ガラス板の表面又は内部で光を散乱させて光を外部に取り出す技術が開発されている。
【0003】
特許文献1には、接着部材を用いて車内側のガラス板に光学素子を取り付ける技術が開示されている。
【先行技術文献】
【特許文献】
【0004】
国際公開第2021/198262号
【発明の概要】
【発明が解決しようとする課題】
【0005】
車両用ガラス板に光を導入する際は、車両用ガラス板に光学素子を設け、光源から出射された光をこの光学素子を介して車両用ガラス板に導入する。特許文献1には、接着部材を用いてガラス板に光学素子を取り付ける技術が開示されている。
【0006】
しかしながら、ガラス板の表面に光学素子を設けた場合は、ガラス板と光学素子との界面に気泡が混入する場合がある。このように、ガラス板と光学素子との界面に気泡が混入した場合は、光学素子からガラス板に光を効率的に導入できない場合がある。このため、ガラス板の表面に光学素子を適切に取り付ける技術が必要とされていた。
【0007】
上記課題に鑑み本開示の目的は、ガラス板に光学素子を適切に取り付け可能な車両用ガラス板、及び車両用ガラス板の製造方法を提供することである。
【課題を解決するための手段】
【0008】
本開示の一態様かかる車両用ガラス板、及び車両用ガラス板の製造方法は下記の通りである。
【0009】
[1]
ガラス板と、
前記ガラス板の表面側に第1主面が配置された光学素子と、を備え、
前記光学素子は軟質性を有する透明な樹脂材料を用いて構成されており、
前記光学素子に導入された光が前記光学素子を介して前記ガラス板に導入される、
車両用ガラス板。
【0010】
[2]
前記光学素子の曲げ弾性率が1,400MPa以下である、[1]に記載の車両用ガラス板。
(【0011】以降は省略されています)
この特許をJ-PlatPat(特許庁公式サイト)で参照する
関連特許
AGC株式会社
真空断熱材
17日前
AGC株式会社
合紙積層装置
13日前
AGC株式会社
感光性ガラス
1か月前
AGC株式会社
顔面用貼付材
9日前
AGC株式会社
車両用窓ガラス
7日前
AGC株式会社
積層体及び移動体
7日前
AGC株式会社
太陽電池モジュール
20日前
AGC株式会社
積層板および光学素子
28日前
AGC株式会社
車両用窓ガラスとその製造方法
14日前
AGC株式会社
複層ガラス、高地対応複層ガラス
28日前
AGC株式会社
光学素子の製造方法、及び光学素子
15日前
AGC株式会社
車両用窓ガラス及びサッシュレスドア
7日前
AGC株式会社
稠密シートの製造方法、及び稠密シート
1か月前
AGC株式会社
フロートガラスの検査方法及び検査装置
1か月前
AGC株式会社
車両用ガラス板、及び車両用ガラス板の製造方法
2日前
AGC株式会社
化学強化結晶化ガラスおよび化学強化用結晶化ガラス
17日前
AGC株式会社
文書分析方法、文書分析プログラム、及び文書分析装置
8日前
AGC株式会社
強化ガラスの応力測定装置、強化ガラスの応力測定方法
27日前
AGC株式会社
光学素子
21日前
AGC株式会社
結晶化ガラス
27日前
AGC株式会社
無アルカリガラス
16日前
AGC株式会社
反射型マスクブランク、反射型マスクおよび反射型マスクの製造方法
13日前
AGC株式会社
ガラス、ガラス粉末、混合粉、ガラスペースト、及びグリーンシート
6日前
AGC株式会社
反射型マスクブランク、反射型マスクおよび反射型マスクの製造方法
13日前
AGC株式会社
テキスト生成方法、テキスト生成プログラム、及びテキスト生成装置
13日前
AGC株式会社
組成物、洗浄方法、塗膜形成用組成物、エアゾール組成物、熱移動媒体
14日前
AGC株式会社
組成物、洗浄方法、塗膜形成用組成物、エアゾール組成物、熱移動媒体
14日前
AGC株式会社
ガラスおよび化学強化ガラス
2日前
AGC株式会社
ハロゲン化アルケンの製造方法
16日前
AGC株式会社
化学強化ガラスおよび電子機器筐体
13日前
AGC株式会社
ガラス基板の製造方法及びガラス基板
1か月前
AGC株式会社
フツリン酸ガラス及び近赤外線カットフィルタ
13日前
AGC株式会社
反射型マスクブランクの検査方法、反射型マスクブランクの製造方法、及び反射型マスクの製造方法
20日前
AGC株式会社
反射型マスクブランク、反射型マスク、反射型マスクブランクの製造方法、及び反射型マスクの製造方法
今日
AGC株式会社
化合物、組成物、表面処理剤、物品、及び物品の製造方法
13日前
AGC株式会社
車両用合わせガラス、自動車、及び車両用合わせガラスの製造方法
17日前
続きを見る
他の特許を見る