TOP
|
特許
|
意匠
|
商標
特許ウォッチ
Twitter
他の特許を見る
公開番号
2025146082
公報種別
公開特許公報(A)
公開日
2025-10-03
出願番号
2024046677
出願日
2024-03-22
発明の名称
反射型マスクブランク、反射型マスクおよび反射型マスクの製造方法
出願人
AGC株式会社
代理人
個人
,
個人
,
個人
,
個人
主分類
G03F
1/24 20120101AFI20250926BHJP(写真;映画;光波以外の波を使用する類似技術;電子写真;ホログラフイ)
要約
【課題】 結晶性が低く、かつ、優れた光学特性を有する位相シフト膜を有する、反射型マスクブランクの提供。
【解決手段】 基板と、EUV光を反射する多層反射膜と、保護膜と、位相シフト膜とをこの順で有する反射型マスクブランクであって、位相シフト膜は、RuおよびBと、Cr、Nb、Mo、Sn、Ta、W、Re、Os、Ir、PtおよびAuからなる群から選択される少なくとも1種の元素とを含み、位相シフト膜におけるNの含有量が、位相シフト膜の全原子に対して10原子%未満であり、位相シフト膜の組成に関して、下記式(1)および下記式(2)を満たす、反射型マスクブランク。
式(1) P
B
> -0.45×P
Cr
+16
式(2) P
B
≧4
式(1)中、P
Cr
は、位相シフト膜におけるCrの含有量の値であり、単位は原子%である。
式(1)および式(2)中、P
B
は、位相シフト膜におけるBの含有量の値であり、単位は原子%である。
【選択図】図1
特許請求の範囲
【請求項1】
基板と、
EUV光を反射する多層反射膜と、
保護膜と、
位相シフト膜とをこの順で有する反射型マスクブランクであって、
前記位相シフト膜は、ルテニウムおよびホウ素と、クロム、ニオブ、モリブデン、スズ、タンタル、タングステン、レニウム、オスミウム、イリジウム、白金および金からなる群から選択される少なくとも1種の元素とを含み、
前記位相シフト膜における窒素の含有量が、前記位相シフト膜の全原子に対して10原子%未満であり、
前記位相シフト膜の組成に関して、下記式(1)および下記式(2)を満たす、反射型マスクブランク。
式(1) P
B
> -0.45×P
Cr
+16
式(2) P
B
≧4
式(1)中、P
Cr
は、前記位相シフト膜におけるクロムの含有量の値であり、単位は原子%である。
式(1)および式(2)中、P
B
は、前記位相シフト膜におけるホウ素の含有量の値であり、単位は原子%である。
続きを表示(約 640 文字)
【請求項2】
前記位相シフト膜が、クロムを含み、
波長13.5nmにおける前記位相シフト膜の屈折率nの値および消衰係数kの値に関して下記式(3)を満たす、請求項1に記載の反射型マスクブランク。
式(3) k < 0.5×n-0.434
【請求項3】
前記位相シフト膜について、Out-of-Plane法で測定したX線回折チャートの最大ピークの半値幅が、1.3°以上である、請求項1または2に記載の反射型マスクブランク。
【請求項4】
前記位相シフト膜におけるルテニウムの含有量が、前記位相シフト膜の全原子に対して20~91原子%であり、
前記位相シフト膜におけるクロムの含有量が、前記位相シフト膜の全原子に対して5~50原子%であり、
前記位相シフト膜におけるホウ素の含有量が、前記位相シフト膜の全原子に対して4~30原子%である、請求項1または2に記載の反射型マスクブランク。
【請求項5】
前記保護膜が、ロジウムを含む、請求項1または2に記載の反射型マスクブランク。
【請求項6】
請求項1または2に記載の反射型マスクブランクの前記位相シフト膜をパターニングして形成される位相シフト膜パターンを有する、反射型マスク。
【請求項7】
請求項1または2に記載の反射型マスクブランクの前記位相シフト膜をパターニングする工程を含む、反射型マスクの製造方法。
発明の詳細な説明
【技術分野】
【0001】
本発明は、半導体製造の露光プロセスで使用されるEUV(Extreme Ultra Violet:極端紫外)露光に用いられる反射型マスクおよびその製造方法、ならびに、反射型マスクの原板である反射型マスクブランクに関する。
続きを表示(約 2,600 文字)
【背景技術】
【0002】
近年、半導体デバイスの更なる微細化のために、光源として中心波長13.5nm付近のEUV光を使用したEUVリソグラフィが検討されている。
【0003】
EUV露光では、EUV光の特性から、反射光学系および反射型マスクが用いられる。反射型マスクは、基板上にEUV光を反射する多層反射膜が形成され、多層反射膜上にEUV光を吸収する吸収体膜がパターニングされている。
【0004】
露光装置の照明光学系より反射型マスクに入射したEUV光は、吸収体膜の無い部分(開口部)では反射され、吸収体膜の有る部分(非開口部)では吸収される。結果として、マスクパターンが露光装置の縮小投影光学系を通してウエハ上にレジストパターンとして転写され、その後の処理が実施される。
吸収体膜としては、EUV光の位相をシフトさせてEUV光の反射率を低下させる、位相シフト膜と呼ばれる態様も用いられている。位相シフト膜においては、吸収体膜の多層反射膜側とは反対側の表面で反射したEUV光と、吸収体膜の多層反射膜側の表面で反射したEUV光とを干渉させてEUV光の反射率を低下させる。
このような位相シフト膜を構成する材料としては、例えば、特許文献1では、ルテニウム(Ru)およびクロム(Cr)を含む材料、ならびに、Ru、Crおよび窒素(N)を含む材料が開示されている。
【先行技術文献】
【特許文献】
【0005】
国際公開第2019/225736号
【発明の概要】
【発明が解決しようとする課題】
【0006】
反射型マスクブランクの位相シフト膜においては、パターニングする際の線幅のばらつきを抑制するため、結晶性が低いことが求められる。
本発明者が、上記特許文献に記載の位相シフト膜について検討したところ、結晶性が高く、その低減が望まれていた。
また、反射型マスクブランクの位相シフト膜においては、より薄い膜厚でEUV光の位相をシフトできる点で、優れた光学特性を有することが望ましい。
【0007】
本発明は、上記課題に鑑みてなされたものであり、結晶性が低く、かつ、優れた光学特性を有する位相シフト膜を有する、反射型マスクブランクの提供を課題とする。
また、本発明は、反射型マスクの提供および反射型マスクの製造方法の提供も課題とする。
【課題を解決するための手段】
【0008】
本発明者は、位相シフト膜がルテニウムおよびホウ素を含み、かつ、位相シフト膜におけるホウ素およびクロムの含有量を所定の範囲に調整すると、上記課題が解決することを知見し、本発明に至った。
すなわち、発明者らは、以下の構成により上記課題が解決できることを見出した。
〔1〕 基板と、
EUV光を反射する多層反射膜と、
保護膜と、
位相シフト膜とをこの順で有する反射型マスクブランクであって、
上記位相シフト膜は、ルテニウムおよびホウ素と、クロム、ニオブ、モリブデン、スズ、タンタル、タングステン、レニウム、オスミウム、イリジウム、白金および金からなる群から選択される少なくとも1種の元素とを含み、
上記位相シフト膜における窒素の含有量が、上記位相シフト膜の全原子に対して10原子%未満であり、
上記位相シフト膜の組成に関して、下記式(1)および下記式(2)を満たす、反射型マスクブランク。
式(1) P
B
> -0.45×P
Cr
+16
式(2) P
B
≧4
式(1)中、P
Cr
は、上記位相シフト膜におけるクロムの含有量の値であり、単位は原子%である。
式(1)および式(2)中、P
B
は、上記位相シフト膜におけるホウ素の含有量の値であり、単位は原子%である。
〔2〕 上記位相シフト膜が、クロムを含み、
波長13.5nmにおける上記位相シフト膜の屈折率nの値および消衰係数kの値に関して下記式(3)を満たす、〔1〕に記載の反射型マスクブランク。
式(3) k < 0.5×n-0.434
〔3〕 上記位相シフト膜について、Out-of-Plane法で測定したX線回折チャートの最大ピークの半値幅が、1.3°以上である、〔1〕または〔2〕に記載の反射型マスクブランク。
〔4〕 上記位相シフト膜におけるルテニウムの含有量が、上記位相シフト膜の全原子に対して20~91原子%であり、
上記位相シフト膜におけるクロムの含有量が、上記位相シフト膜の全原子に対して5~50原子%であり、
上記位相シフト膜におけるホウ素の含有量が、上記位相シフト膜の全原子に対して4~30原子%である、〔1〕~〔3〕のいずれか1つに記載の反射型マスクブランク。
〔5〕 上記保護膜が、ロジウムを含む、〔1〕~〔4〕のいずれか1つに記載の反射型マスクブランク。
〔6〕 〔1〕~〔5〕のいずれか1つに記載の反射型マスクブランクの上記位相シフト膜をパターニングして形成される位相シフト膜パターンを有する、反射型マスク。
〔7〕 〔1〕~〔5〕のいずれか1つに記載の反射型マスクブランクの上記位相シフト膜をパターニングする工程を含む、反射型マスクの製造方法。
【発明の効果】
【0009】
本発明によれば、結晶性が低く、かつ、優れた光学特性を有する位相シフト膜を有する、反射型マスクブランクを提供できる。
また、本発明によれば、反射型マスクおよび反射型マスクの製造方法も提供できる。
【図面の簡単な説明】
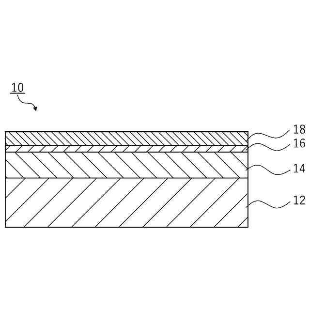
【0010】
本発明の反射型マスクブランクの実施態様の一例を示す断面図である。
本発明の反射型マスクブランクを用いた反射型マスクの製造工程の一例を示す断面図である。
【発明を実施するための形態】
(【0011】以降は省略されています)
この特許をJ-PlatPat(特許庁公式サイト)で参照する
関連特許
AGC株式会社
光学素子
1か月前
AGC株式会社
真空断熱材
8日前
AGC株式会社
顔面用貼付材
今日
AGC株式会社
合紙積層装置
4日前
AGC株式会社
合わせガラス
1か月前
AGC株式会社
ガラス構造体
1か月前
AGC株式会社
感光性ガラス
26日前
AGC株式会社
太陽電池モジュール
11日前
AGC株式会社
積層板および光学素子
19日前
AGC株式会社
潤滑油基油、潤滑油組成物
1か月前
AGC株式会社
樹脂組成物及びその成形体
1か月前
AGC株式会社
収納容器、支持部材及び梱包体
28日前
AGC株式会社
車両用窓ガラスとその製造方法
5日前
AGC株式会社
複層ガラス、高地対応複層ガラス
19日前
AGC株式会社
光学素子の製造方法、及び光学素子
6日前
AGC株式会社
組成物、稠密シート及びその製造方法
1か月前
AGC株式会社
フロートガラスの検査方法及び検査装置
28日前
AGC株式会社
稠密シートの製造方法、及び稠密シート
28日前
AGC株式会社
検査装置、プログラム、検査方法および生産方法
1か月前
AGC株式会社
検査システム、検査装置、検査方法および生産方法
1か月前
AGC株式会社
化学強化結晶化ガラスおよび化学強化用結晶化ガラス
8日前
AGC株式会社
分類装置、分類方法、プログラム及び学習済みモデル
1か月前
AGC株式会社
分類装置、分類方法、プログラム及び学習済みモデル
1か月前
AGC株式会社
分類装置、分類方法、プログラム及び学習済みモデル
1か月前
AGC株式会社
強化ガラスの応力測定装置、強化ガラスの応力測定方法
18日前
AGC株式会社
光学素子
12日前
AGC株式会社
結晶化ガラス
18日前
AGC株式会社
硬化性組成物の品質評価方法、及び硬化性組成物の出荷管理方法
1か月前
AGC株式会社
無アルカリガラス
7日前
AGC株式会社
反射型マスクブランク、反射型マスクおよび反射型マスクの製造方法
4日前
AGC株式会社
テキスト生成方法、テキスト生成プログラム、及びテキスト生成装置
4日前
AGC株式会社
反射型マスクブランク、反射型マスクおよび反射型マスクの製造方法
4日前
AGC株式会社
組成物、洗浄方法、塗膜形成用組成物、エアゾール組成物、熱移動媒体
5日前
AGC株式会社
組成物、洗浄方法、塗膜形成用組成物、エアゾール組成物、熱移動媒体
5日前
AGC株式会社
粘着剤組成物、粘着剤、貼付材、表面保護フィルム、光学部材、及び電子部材
1か月前
AGC株式会社
粘着剤組成物、粘着剤、貼付材、表面保護フィルム、光学部材、及び電子部材
1か月前
続きを見る
他の特許を見る