TOP
|
特許
|
意匠
|
商標
特許ウォッチ
Twitter
他の特許を見る
公開番号
2025151993
公報種別
公開特許公報(A)
公開日
2025-10-09
出願番号
2024053678
出願日
2024-03-28
発明の名称
車両用窓ガラス
出願人
AGC株式会社
代理人
弁理士法人太陽国際特許事務所
主分類
B60J
1/18 20060101AFI20251002BHJP(車両一般)
要約
【課題】意匠性に優れ、かつ樹脂モールがガラス板に精度高く取り付けられた車両用窓ガラスを提供する。
【解決手段】本発明に係る車両用窓ガラスは、ガラス板と、前記ガラス板に取り付けられた樹脂モールとを備える車両用窓ガラスであって、前記樹脂モールは、前記ガラス板の第1の辺に沿って設けられる第1樹脂枠部と、前記第1の辺の両端につながる第2の辺の一部に沿って設けられる第2樹脂枠部とを有し、前記第1樹脂枠部及び前記第2樹脂枠部の少なくとも一方の内側に、位置決め部が設けられる。
【選択図】図1
特許請求の範囲
【請求項1】
ガラス板と、前記ガラス板に取り付けられた樹脂モールとを備える車両用窓ガラスであって、
前記樹脂モールは、前記ガラス板の第1の辺に沿って設けられる第1樹脂枠部と、前記第1の辺の両端につながる第2の辺の一部に沿って設けられる第2樹脂枠部とを有し、
前記第1樹脂枠部及び前記第2樹脂枠部の少なくとも一方の内側に、位置決め部が設けられる、車両用窓ガラス。
続きを表示(約 670 文字)
【請求項2】
前記位置決め部の形状は、凹部又は凸部である、請求項1に記載の車両用窓ガラス。
【請求項3】
前記第1の辺は、前記ガラス板の平面視における長手方向の辺である、請求項1又は2に記載の車両用窓ガラス。
【請求項4】
前記位置決め部は、前記第2樹脂枠部に設けられる、請求項1又は2に記載の車両用窓ガラス。
【請求項5】
前記位置決め部は、平面視において、一対の前記第2樹脂枠部にそれぞれ設けられる、請求項4に記載の車両用窓ガラス。
【請求項6】
前記樹脂モールは、前記第1樹脂枠部と前記第2樹脂枠部とが一体に形成され、
前記第2樹脂枠部は、前記第1の辺から前記第2の辺の一部に沿って設けられる、請求項1又は2に記載の車両用窓ガラス。
【請求項7】
前記第2樹脂枠部は、ショアA硬度90以下の軟質樹脂で形成されている、請求項1又は2に記載の車両用窓ガラス。
【請求項8】
前記軟質樹脂は、発泡剤を含む、請求項7に記載の車両用窓ガラス。
【請求項9】
前記樹脂モールは、前記ガラス板の設置面とは反対側の面に切込みを有し、
前記切込みの幅は、前記位置決め部に近づくにしたがって小さくなる、請求項1又は2に記載の車両用窓ガラス。
【請求項10】
前記第2樹脂枠部は、前記ガラス板の設置面とは反対側の面に溝部を有する、請求項1又は2に記載の車両用窓ガラス。
(【請求項11】以降は省略されています)
発明の詳細な説明
【技術分野】
【0001】
本発明は、車両用窓ガラスに関する。
続きを表示(約 1,400 文字)
【背景技術】
【0002】
自動車などの車両のフロントガラス及びリアガラスなどの固定窓に用いられる車両用窓ガラスとして、例えば、ガラス板にポリ塩化ビニル又はポリウレタンなどの樹脂からなる樹脂モール(樹脂枠)を取り付けた樹脂枠付きガラス板がある。
【0003】
このような車両用窓ガラスとして、例えば、車両のリアウィンドウガラスの側縁部分に、サイドスポイラー用のブラケットのベースを少なくとも2種類の接着剤を用いて接合されたブラケット付きガラスが開示されている(例えば、特許文献1参照)。
【先行技術文献】
【特許文献】
【0004】
特開2023-158418号公報
【発明の概要】
【発明が解決しようとする課題】
【0005】
しかしながら、樹脂モールをガラス板の下辺又は側辺などの一辺にのみ設ける場合、ガラス板の一辺に隣接する他の辺には樹脂モールがないため、ガラス板の一辺に設けられる樹脂モールと、他の辺に取り付けられたブラケットに固定されたサイドスポイラーとの間に隙間が生じる、という問題があった。このような隙間があると、見栄えが悪いため、車両用窓ガラスとして使用するためには、外観の改善を図ることが重要であった。
【0006】
また、ガラス板の一辺から他の辺にかけて樹脂モールを設ける場合、樹脂モールの形状によっては、樹脂モールは柔らかく、樹脂モールの角部での位置決めを行いにくいため、ガラス板に樹脂モールを精度良く取り付けることが難しい、という問題があった。ガラス板への樹脂モールの取り付け精度が悪いと、車両用窓ガラスの見栄えが悪くなってしまう。
【0007】
本発明の一態様は、意匠性に優れ、かつ樹脂モールがガラス板に精度高く取り付けられた車両用窓ガラスを提供することを目的とする。
【課題を解決するための手段】
【0008】
本発明の一態様は、
ガラス板と、前記ガラス板に取り付けられた樹脂モールとを備える車両用窓ガラスであって、
前記樹脂モールは、前記ガラス板の第1の辺に沿って設けられる第1樹脂枠部と、前記第1の辺の両端につながる第2の辺の一部に沿って設けられる第2樹脂枠部とを有し、
前記第1樹脂枠部及び前記第2樹脂枠部の少なくとも一方の内側に、位置決め部が設けられる、車両用窓ガラスである。
【発明の効果】
【0009】
本発明に係る車両用窓ガラスの一態様は、意匠性に優れ、かつ樹脂モールがガラス板に精度高く取り付けられる。
【図面の簡単な説明】
【0010】
本発明の実施形態に係る車両用窓ガラスの一例を示す平面図である。
図1の車両用窓ガラスの分解図である。
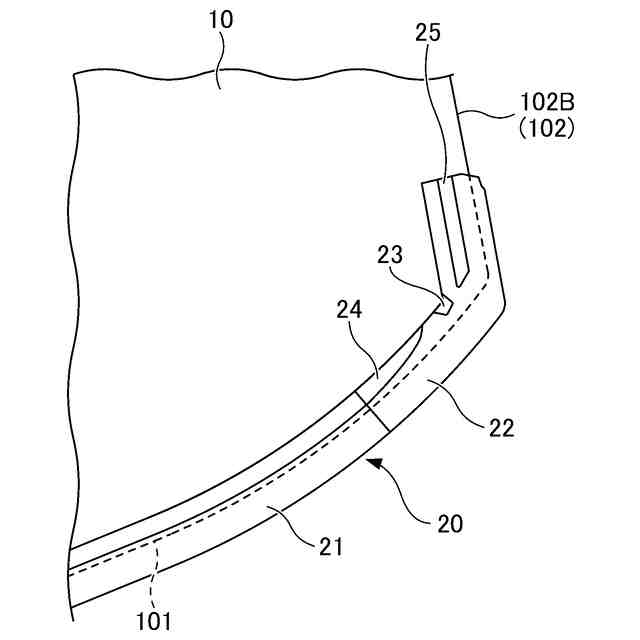
図1のガラス板の下辺と右側辺との端部を含む部分拡大図である。
図1のガラス板の下辺と左側辺に沿って取り付けられている樹脂モールの一部を示す部分拡大図である。
本発明の実施形態に係る車両用窓ガラスの製造方法の工程の一例を示す説明図である。
本発明の実施形態に係る車両用窓ガラスの製造方法の他の工程の一例を示す説明図である。
ガラス板の側辺に樹脂モールが無い状態の一例を示す説明図である。
【発明を実施するための形態】
(【0011】以降は省略されています)
この特許をJ-PlatPat(特許庁公式サイト)で参照する
関連特許
AGC株式会社
光学素子
1か月前
AGC株式会社
真空断熱材
12日前
AGC株式会社
感光性ガラス
1か月前
AGC株式会社
合わせガラス
1か月前
AGC株式会社
顔面用貼付材
4日前
AGC株式会社
ガラス構造体
1か月前
AGC株式会社
合紙積層装置
8日前
AGC株式会社
車両用窓ガラス
2日前
AGC株式会社
積層体及び移動体
2日前
AGC株式会社
太陽電池モジュール
15日前
AGC株式会社
積層板および光学素子
23日前
AGC株式会社
樹脂組成物及びその成形体
1か月前
AGC株式会社
収納容器、支持部材及び梱包体
1か月前
AGC株式会社
車両用窓ガラスとその製造方法
9日前
AGC株式会社
複層ガラス、高地対応複層ガラス
23日前
AGC株式会社
光学素子の製造方法、及び光学素子
10日前
AGC株式会社
車両用窓ガラス及びサッシュレスドア
2日前
AGC株式会社
稠密シートの製造方法、及び稠密シート
1か月前
AGC株式会社
フロートガラスの検査方法及び検査装置
1か月前
AGC株式会社
検査装置、プログラム、検査方法および生産方法
1か月前
AGC株式会社
検査システム、検査装置、検査方法および生産方法
1か月前
AGC株式会社
分類装置、分類方法、プログラム及び学習済みモデル
1か月前
AGC株式会社
分類装置、分類方法、プログラム及び学習済みモデル
1か月前
AGC株式会社
分類装置、分類方法、プログラム及び学習済みモデル
1か月前
AGC株式会社
化学強化結晶化ガラスおよび化学強化用結晶化ガラス
12日前
AGC株式会社
文書分析方法、文書分析プログラム、及び文書分析装置
3日前
AGC株式会社
強化ガラスの応力測定装置、強化ガラスの応力測定方法
22日前
AGC株式会社
光学素子
16日前
AGC株式会社
結晶化ガラス
22日前
AGC株式会社
硬化性組成物の品質評価方法、及び硬化性組成物の出荷管理方法
1か月前
AGC株式会社
無アルカリガラス
11日前
AGC株式会社
ガラス、ガラス粉末、混合粉、ガラスペースト、及びグリーンシート
1日前
AGC株式会社
反射型マスクブランク、反射型マスクおよび反射型マスクの製造方法
8日前
AGC株式会社
テキスト生成方法、テキスト生成プログラム、及びテキスト生成装置
8日前
AGC株式会社
反射型マスクブランク、反射型マスクおよび反射型マスクの製造方法
8日前
AGC株式会社
組成物、洗浄方法、塗膜形成用組成物、エアゾール組成物、熱移動媒体
9日前
続きを見る
他の特許を見る