TOP
|
特許
|
意匠
|
商標
特許ウォッチ
Twitter
他の特許を見る
公開番号
2025146001
公報種別
公開特許公報(A)
公開日
2025-10-03
出願番号
2024046556
出願日
2024-03-22
発明の名称
合紙積層装置
出願人
AGC株式会社
代理人
弁理士法人栄光事務所
主分類
B65H
23/34 20060101AFI20250926BHJP(運搬;包装;貯蔵;薄板状または線条材料の取扱い)
要約
【課題】ロール紙から引き出した長尺状の合紙を切断してガラス基板へ良好に積層させることが可能な合紙積層装置を提供する。
【解決手段】搬送される複数のガラス基板Gの表面に合紙1を順に重ね合わせる合紙積層装置100であって、長尺状合紙1Lをロール状に巻回したロール紙1Rから長尺状合紙1Lを繰り出す繰り出し機構25と、繰り出し機構25によって繰り出した長尺状合紙1Lを切断してガラス基板Gの表面に重ね合わせる大きさの合紙1とする切断機構26と、切断機構26によって切断された合紙1をガラス基板Gの表面へ搬送するガイド機構27と、切断機構26よりも長尺状合紙1Lの繰り出し方向Yの上流側に配置されて長尺状合紙1Lの少なくとも一方の面に霧状の水Wを吹き付ける噴霧機構13と、を備える。
【選択図】図1
特許請求の範囲
【請求項1】
搬送される複数のガラス基板の表面に合紙を順に重ね合わせる合紙積層装置であって、
長尺状合紙をロール状に巻回したロール紙から前記長尺状合紙を繰り出す繰り出し機構と、
前記繰り出し機構によって繰り出した前記長尺状合紙を切断して前記ガラス基板の表面に重ね合わせる大きさの合紙とする切断機構と、
前記切断機構によって切断された合紙を前記ガラス基板の表面へ搬送するガイド機構と、
前記切断機構よりも前記長尺状合紙の繰り出し方向の上流側に配置されて前記長尺状合紙の少なくとも一方の面に霧状の水を吹き付ける噴霧機構と、
を備える、
合紙積層装置。
続きを表示(約 620 文字)
【請求項2】
前記繰り出し機構は、外周面に前記長尺状合紙が接触される複数のローラを備え、
前記噴霧機構は、前記繰り出し機構における最下流のローラとの接触箇所よりも上流側に配置されている、
請求項1に記載の合紙積層装置。
【請求項3】
前記噴霧機構は、前記長尺状合紙へ向かって霧状の水を噴霧する複数の噴霧器を備え、
前記複数の噴霧器は、前記長尺状合紙の繰り出し方向と直交する幅方向に間隔をあけて配置されている、
請求項1に記載の合紙積層装置。
【請求項4】
前記噴霧機構は、前記長尺状合紙の繰り出し方向の複数箇所に配置されている、
請求項1に記載の合紙積層装置。
【請求項5】
前記噴霧機構は、前記長尺状合紙の表裏の両面側に配置されている、
請求項1に記載の合紙積層装置。
【請求項6】
前記噴霧機構における前記霧状の水を噴出する噴出口と前記長尺状合紙との距離が100mm以上1000mm以下である、
請求項1に記載の合紙積層装置。
【請求項7】
前記ロール紙の外径を検知するセンサと、
前記センサからの外径の検知結果に基づいて、前記ロール紙の外径が閾値以下となった際に、前記噴霧機構を作動させる制御部と、
を備える、
請求項1~6のいずれか一項に記載の合紙積層装置。
発明の詳細な説明
【技術分野】
【0001】
本発明は、合紙積層装置に関する。
続きを表示(約 1,300 文字)
【背景技術】
【0002】
例えば、液晶ディスプレイやプラズマディスプレイなどに用いられるFPD(Flat panel Display)用のガラス基板などでは、表面への微細な異物や傷の付着を抑えることが要求される。このため、保管中や搬送中において、ガラス基板の表面に合紙を重ね合わせている(例えば、特許文献1)。
【0003】
この合紙は、長尺状の合紙をロール状に巻回したロール紙から引き出され、切断機によってガラス基板の表面を覆う大きさに切断されてガラス基板に重ねられる(例えば、特許文献2,3参照)。
【先行技術文献】
【特許文献】
【0004】
特開2013-256315号公報
特許第5807417号公報
特許第6953795号公報
【発明の概要】
【発明が解決しようとする課題】
【0005】
ところで、ロール紙から引き出される長尺状の合紙は、ロール紙の巻回径が小さくなるにつれて巻き癖が強くなる。すると、切断後の搬送途中において、合紙が装置に引っ掛かったり、位置ずれなどを生じ、その結果、ガラス基板の表面に重ね合わせた際にガラス基板から浮き上がる積層不良が生じるおそれがある。
【0006】
そこで本発明は、ロール紙から引き出した長尺状の合紙を切断してガラス基板へ良好に積層させることが可能な合紙積層装置を提供することを目的とする。
【課題を解決するための手段】
【0007】
本発明は下記構成からなる。
搬送される複数のガラス基板の表面に合紙を順に重ね合わせる合紙積層装置であって、
長尺状合紙をロール状に巻回したロール紙から前記長尺状合紙を繰り出す繰り出し機構と、
前記繰り出し機構によって繰り出した前記長尺状合紙を切断して前記ガラス基板の表面に重ね合わせる大きさの合紙とする切断機構と、
前記切断機構によって切断された合紙を前記ガラス基板の表面へ搬送するガイド機構と、
前記切断機構よりも前記長尺状合紙の繰り出し方向の上流側に配置されて前記長尺状合紙の少なくとも一方の面に霧状の水を吹き付ける噴霧機構と、
を備える、
合紙積層装置。
【発明の効果】
【0008】
本発明によれば、ロール紙から引き出した長尺状の合紙を切断してガラス基板へ良好に積層させることが可能な合紙積層装置を提供できる。
【図面の簡単な説明】
【0009】
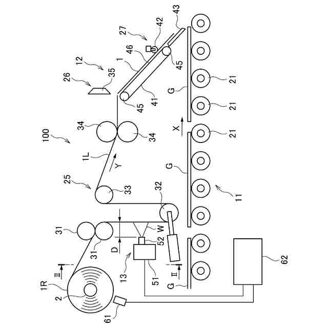
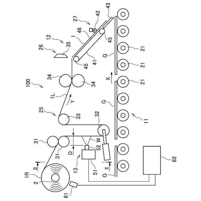
図1は、本実施形態に係る合紙積層装置の構成図である。
図2は、図1におけるII-II断面図である。
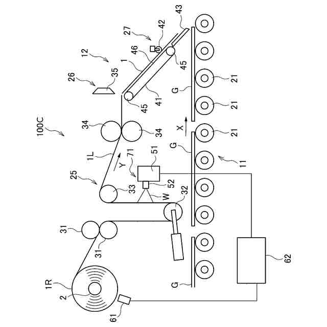
図3は、変形例1に係る合紙積層装置の構成図である。
図4は、変形例2に係る合紙積層装置の構成図である。
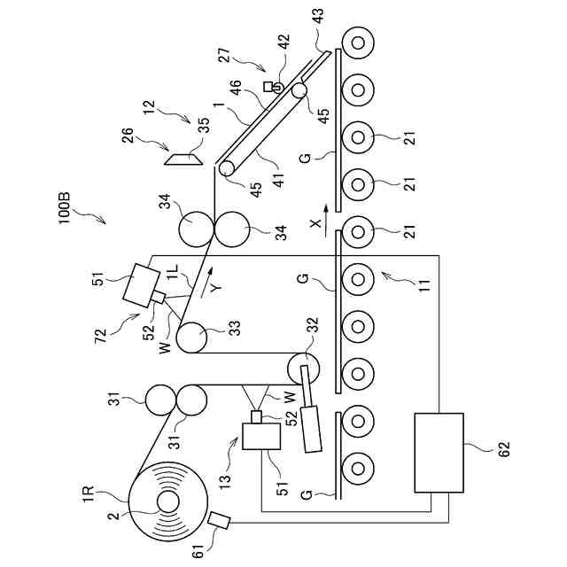
図5は、変形例3に係る合紙積層装置の構成図である。
図6は、ガイド機構の他の例を示す構成図である。
【発明を実施するための形態】
【0010】
以下、本発明の実施形態について、図面を参照して詳細に説明する。
図1は、本実施形態に係る合紙積層装置100の構成図である。
(【0011】以降は省略されています)
この特許をJ-PlatPat(特許庁公式サイト)で参照する
関連特許
AGC株式会社
光学素子
1か月前
AGC株式会社
真空断熱材
8日前
AGC株式会社
感光性ガラス
26日前
AGC株式会社
合紙積層装置
4日前
AGC株式会社
合わせガラス
1か月前
AGC株式会社
ガラス構造体
1か月前
AGC株式会社
太陽電池モジュール
11日前
AGC株式会社
研磨装置及び研磨方法
1か月前
AGC株式会社
積層板および光学素子
19日前
AGC株式会社
潤滑油基油、潤滑油組成物
1か月前
AGC株式会社
樹脂組成物及びその成形体
1か月前
AGC株式会社
車両用窓ガラスとその製造方法
5日前
AGC株式会社
収納容器、支持部材及び梱包体
28日前
AGC株式会社
複層ガラス、高地対応複層ガラス
19日前
AGC株式会社
光学素子の製造方法、及び光学素子
6日前
AGC株式会社
組成物、稠密シート及びその製造方法
1か月前
AGC株式会社
フロートガラスの検査方法及び検査装置
28日前
AGC株式会社
稠密シートの製造方法、及び稠密シート
28日前
AGC株式会社
検査装置、プログラム、検査方法および生産方法
1か月前
AGC株式会社
検査システム、検査装置、検査方法および生産方法
1か月前
AGC株式会社
分類装置、分類方法、プログラム及び学習済みモデル
1か月前
AGC株式会社
化学強化結晶化ガラスおよび化学強化用結晶化ガラス
8日前
AGC株式会社
分類装置、分類方法、プログラム及び学習済みモデル
1か月前
AGC株式会社
分類装置、分類方法、プログラム及び学習済みモデル
1か月前
AGC株式会社
強化ガラスの応力測定装置、強化ガラスの応力測定方法
18日前
AGC株式会社
光学素子
12日前
AGC株式会社
結晶化ガラス
18日前
AGC株式会社
硬化性組成物の品質評価方法、及び硬化性組成物の出荷管理方法
1か月前
AGC株式会社
無アルカリガラス
7日前
AGC株式会社
反射型マスクブランク、反射型マスクおよび反射型マスクの製造方法
4日前
AGC株式会社
テキスト生成方法、テキスト生成プログラム、及びテキスト生成装置
4日前
AGC株式会社
反射型マスクブランク、反射型マスクおよび反射型マスクの製造方法
4日前
AGC株式会社
組成物、洗浄方法、塗膜形成用組成物、エアゾール組成物、熱移動媒体
5日前
AGC株式会社
組成物、洗浄方法、塗膜形成用組成物、エアゾール組成物、熱移動媒体
5日前
AGC株式会社
合わせガラス、車両用合わせガラス、及び車両フロントガラス用合わせガラス
1か月前
AGC株式会社
粘着剤組成物、粘着剤、貼付材、表面保護フィルム、光学部材、及び電子部材
1か月前
続きを見る
他の特許を見る