TOP
|
特許
|
意匠
|
商標
特許ウォッチ
Twitter
他の特許を見る
10個以上の画像は省略されています。
公開番号
2025155960
公報種別
公開特許公報(A)
公開日
2025-10-14
出願番号
2025032711
出願日
2025-03-03
発明の名称
呼気測定装置及び認証方法
出願人
株式会社JVCケンウッド
代理人
主分類
A61B
5/117 20160101AFI20251002BHJP(医学または獣医学;衛生学)
要約
【課題】被測定者の呼気を測定する呼気測定装置のコストの増大を抑制しつつ、呼気測定装置における被測定者のなりすましを効果的に抑制する技術を提供する。
【解決手段】呼気測定装置は、被測定者が吹き入れた呼気の量を測定する呼気量測定部48と、測定した呼気の量を経時的に示す呼気量パターンを特定するパターン特定部102と、被測定者の認証の際に吹き入れられた呼気に基づいて特定された呼気量パターンと事前に登録された呼気量パターンとの比較に基づいて、被測定者を認証する認証部104と、を備える。
【選択図】図3
特許請求の範囲
【請求項1】
被測定者が吹き入れた呼気の量を測定する呼気量測定部と、
測定した前記呼気の量を経時的に示す呼気量パターンを特定するパターン特定部と、
前記被測定者の認証の際に吹き入れられた前記呼気に基づいて特定された特定呼気量パターンと事前に登録された登録呼気量パターンとの比較に基づいて、前記被測定者を認証する認証部と、
を備える、呼気測定装置。
続きを表示(約 790 文字)
【請求項2】
前記被測定者が発した音声を検出する音声検出部をさらに備え、
前記パターン特定部は、検出された前記音声を経時的に示す音声パターンを特定し、
前記認証部は、認証の際に前記被測定者の発声に基づいて特定された特定音声パターンと事前に登録された登録音声パターンとの比較にさらに基づいて、前記被測定者を認証する、
請求項1に記載の呼気測定装置。
【請求項3】
前記パターン特定部は、前記呼気の吹き入れが開始された時点から前記呼気の吹き入れが終了した時点までに検出された前記音声に基づいて、前記音声パターンを特定する、
請求項2に記載の呼気測定装置。
【請求項4】
前記判断部は、前記音声検出部が検出した音声に基づいて前記被測定者の発声の検出有無を判断し、
前記認証部は、前記特定音声パターンと前記登録音声パターンとそれぞれにおける、前記発声の検出有無が変化したタイミングを比較することで、前記特定音声パターンと前記登録音声パターンとの乖離度合いにさらに基づいて前記被測定者を認証する、
請求項2に記載の呼気測定装置。
【請求項5】
前記認証の際に吹き入れられた前記呼気中に含まれるアルコールの濃度を測定する濃度測定部をさらに備える、
請求項1から4のいずれか1項に記載の呼気測定装置。
【請求項6】
呼気の測定対象である被測定者が吹き入れた呼気の量を測定することと、
測定した前記呼気の量を経時的に示す呼気量パターンを特定することと、
前記被測定者の認証の際に吹き入れられた前記呼気に基づいて特定された特定呼気量パターンと事前に登録された登録呼気量パターンとの比較に基づいて、前記被測定者を認証することと、
を備える、認証方法。
発明の詳細な説明
【技術分野】
【0001】
本開示は、被測定者の呼気を測定する呼気測定装置及び認証方法に関する。
続きを表示(約 1,600 文字)
【背景技術】
【0002】
従来、運転者(被測定者)の飲酒運転を防止するために、アルコール検知器を用いて被測定者の呼気のアルコール濃度を測定しアルコール摂取の有無を確認する技術が知られている(例えば、特許文献1参照)。このようなアルコール検査では、被測定者とは別の飲酒していない他人がアルコール検知器に呼気するなどの替え玉による不正な測定が行われることが想定される。このような不正を抑制するために、例えば特許文献1に記載の技術では、車両のドライバの顔を撮像した画像に基づいて、ドライバの認証が行われる。
【先行技術文献】
【特許文献】
【0003】
特開2010-000941号公報
【発明の概要】
【発明が解決しようとする課題】
【0004】
特許文献1に記載の技術では、カメラなどの高価なデバイスを必要とし、呼気測定装置の一種であるアルコール濃度測定装置などの低価格帯が期待される機器に不正防止機能を搭載するにはコストが掛かるという課題がある。
【0005】
上記を鑑み、本開示の目的は、呼気測定装置のコストの増大を抑制しつつ、呼気測定における被測定者のなりすましを効果的に抑制する技術を提供することにある。
【課題を解決するための手段】
【0006】
上記課題を解決するために、本開示のある態様の呼気測定装置は、被測定者が吹き入れた呼気の量を測定する呼気量測定部と、測定した前記呼気の量を経時的に示す呼気量パターンを特定するパターン特定部と、前記被測定者の認証の際に吹き入れられた前記呼気に基づいて特定された特定呼気量パターンと事前に登録された登録呼気量パターンとの比較に基づいて、前記被測定者を認証する認証部と、を備える。
【0007】
本開示の他の態様の方法は、呼気の測定対象である被測定者が吹き入れた呼気の量を測定することと、測定した前記呼気の量を経時的に示す呼気量パターンを特定することと、前記被測定者の認証の際に吹き入れられた前記呼気に基づいて特定された特定呼気量パターンと事前に登録された登録呼気量パターンとの比較に基づいて、前記被測定者を認証することと、を備える。
【0008】
なお、以上の構成要素の任意の組合せ、本実施形態の表現を方法、装置、システム、記録媒体、コンピュータプログラムなどの間で変換したものもまた、本実施形態の態様として有効である。
【発明の効果】
【0009】
本開示によれば、呼気測定装置の一例であるアルコール濃度測定装置のコストの増大を抑制しつつ、アルコール濃度測定における被測定者のなりすましを効果的に抑制する技術を提供することができる。
【図面の簡単な説明】
【0010】
実施形態に係るアルコール濃度測定システムの構成例を示す図である。
実施形態に係るアルコール濃度測定装置のハードウェア構成を例示する図である。
実施形態に係る処理部の機能ブロック図である。
濃度測定装置の呼気量パターン及び音声パターンの登録のための処理のフローチャートである。
呼気量パターン及び音声パターンの一例を示す図である。
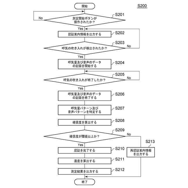
実施形態に係るアルコール濃度測定装置における被測定者の認証及びアルコール濃度測定のための処理のフローチャートである。
事前に登録された呼気量パターン及び音声パターンと特定された呼気量パターン及び音声パターンとを例示する図である。
図7の呼気量パターン及び音声パターンをAD変換した結果を示す図である。
算出部における各算出結果を例示する図である。
【発明を実施するための形態】
(【0011】以降は省略されています)
この特許をJ-PlatPat(特許庁公式サイト)で参照する
関連特許
個人
短下肢装具
2か月前
個人
前腕誘導装置
3か月前
個人
嚥下鍛錬装置
3か月前
個人
排尿補助器具
3日前
個人
歯の修復用材料
3か月前
個人
ホバーアイロン
6か月前
個人
胸骨圧迫補助具
1か月前
個人
ウォート指圧法
1日前
個人
汚れ防止シート
18日前
個人
アイマスク装置
1か月前
個人
矯正椅子
4か月前
個人
バッグ式オムツ
4か月前
個人
歯の保護用シール
4か月前
個人
湿布連続貼り機。
2か月前
個人
哺乳瓶冷まし容器
2か月前
個人
シャンプー
5か月前
個人
陣痛緩和具
3か月前
株式会社コーセー
化粧料
今日
株式会社八光
剥離吸引管
4か月前
個人
性行為補助具
2か月前
個人
治療用酸化防御装置
1か月前
株式会社大野
骨壷
3か月前
個人
エア誘導コルセット
1か月前
株式会社ニデック
眼科装置
7日前
株式会社ニデック
検眼装置
3か月前
個人
手指運動ツール
2か月前
個人
精力増強キット
22日前
株式会社ニデック
眼科装置
4か月前
株式会社GSユアサ
歩行器
5か月前
株式会社ダリヤ
毛髪化粧料
28日前
株式会社ニデック
眼科装置
1か月前
個人
高気圧環境装置
4か月前
株式会社松風
口腔用組成物
3か月前
個人
形見の製造方法
4か月前
個人
シリンダ式歩行補助具
2か月前
株式会社コロナ
サウナ装置
5か月前
続きを見る
他の特許を見る