TOP
|
特許
|
意匠
|
商標
特許ウォッチ
Twitter
他の特許を見る
10個以上の画像は省略されています。
公開番号
2025156260
公報種別
公開特許公報(A)
公開日
2025-10-14
出願番号
2025057118
出願日
2025-03-28
発明の名称
吸音体及び音環境調整構造
出願人
大建工業株式会社
代理人
弁理士法人前田特許事務所
主分類
G10K
11/16 20060101AFI20251002BHJP(楽器;音響)
要約
【課題】室内の音環境を容易に変更できる吸音体を構成し、この吸音体を用いて室の快適性を向上させる。
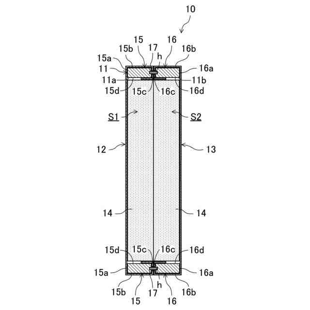
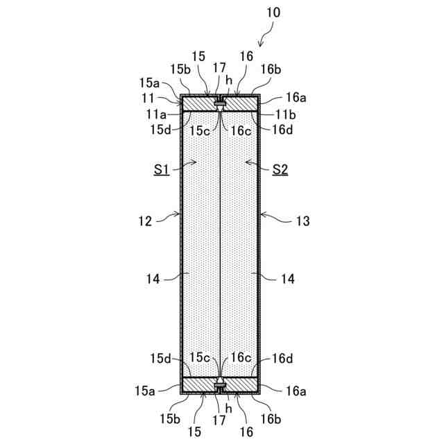
【解決手段】外側面の一部が底部となって自立する矩形状に枠組みされた枠体11と、該枠体11の一端側の第1開口11aを閉塞する第1膜体12と、枠体11の他端側の第2開口11bを閉塞する第2膜体13と、枠体11の内側に配置される多孔質材料からなる吸音材14とを備え、音が第1膜体12側から入射するか第2膜体13側から入射するかにより、発現する吸音特性が異なるように構成された吸音体10を室内に設けることにより、室内の音環境を調整する。
【選択図】図2
特許請求の範囲
【請求項1】
室内に設けられて該室内の音環境を調整する吸音体であって、
外側面の一部が底部となって自立する矩形状に枠組みされた枠体と、
上記枠体の奥行方向の一端側の第1開口を閉塞する第1膜体と、
上記枠体の奥行方向の他端側の第2開口を閉塞する第2膜体と、
上記枠体の内側に配置される多孔質材料からなる吸音材とを備え、
音が上記第1膜体側から入射するか上記第2膜体側から入射するかにより、発現する吸音特性が異なるように構成されている
ことを特徴とする吸音体。
続きを表示(約 1,000 文字)
【請求項2】
請求項1に記載の吸音体において、
上記第1膜体及び上記第2膜体は、識別可能に構成されている
ことを特徴とする吸音体。
【請求項3】
請求項1に記載の吸音体において、
上記第1膜体と上記第2膜体とは、異なる材料で構成されている
ことを特徴とする吸音体。
【請求項4】
請求項1に記載の吸音体において、
上記第1膜体は、織布で構成され、
上記第2膜体は、人工皮革で構成されている
ことを特徴とする吸音体。
【請求項5】
請求項4に記載の吸音体において、
上記吸音材は、板状に形成され、上記第1及び第2膜体との間に空気層を形成するように設けられている
ことを特徴とする吸音体。
【請求項6】
請求項4に記載の吸音体において、
上記枠体は、上記第1開口を形成する矩形状に枠組みされた第1枠材と、上記第2開口を形成する矩形状に枠組みされた第2枠材とを備え、上記第1枠材と上記第2枠材とを接合してなるものであり、
上記吸音材は、板状に形成され、上記第1枠材の内側の第1空間と上記第2枠材の内側の第2空間とに、互いの間に空気層が形成されるように1つずつ設けられている
ことを特徴とする吸音体。
【請求項7】
請求項1に記載の吸音体において、
上記枠体は、上記第1開口を形成する矩形状に枠組みされた第1枠材と、上記第2開口を形成する矩形状に枠組みされた第2枠材とを備え、上記第1枠材と上記第2枠材とを接合してなるものであり、
上記第1膜体は、上記第1開口と共に上記第1枠材の上記第1開口側の表側端面と外側面とを一体的に覆い、周縁部が上記第1枠材の裏側端面又は内側面に固定され、
上記第2膜体は、上記第2開口と共に上記第2枠材の上記第2開口側の表側端面と外側面とを一体的に覆い、周縁部が上記第2枠材の裏側端面又は内側面に固定されている
ことを特徴とする吸音体。
【請求項8】
室内の音環境を調整するための音環境調整構造であって、
上記室内に設置された棚上に、請求項1~7のいずれか1つに記載の吸音体が複数設けられている
ことを特徴とする音環境調整構造。
発明の詳細な説明
【技術分野】
【0001】
本発明は、室内に用いられる吸音体及び音環境調整構造に関するものである。
続きを表示(約 1,300 文字)
【背景技術】
【0002】
従来、住宅やオフィス等において、室内の音環境を改善させるために、室内に吸音体を配置し、話し声や物音を吸音体に吸収させることとしている。(例えば、下記の特許文献1を参照)。
【0003】
特許文献1では、吸音材料により構成された板状又は塊状の複数の吸音体を、ブースの周囲を取り囲むように天井から吊り下げて、ブース内外への音漏れを軽減してブース内の音の響きを抑制することにより、ブース内において会話がし易くなるようにしている。
【先行技術文献】
【特許文献】
【0004】
特開2023-034006号公報
【発明の概要】
【発明が解決しようとする課題】
【0005】
しかしながら、特許文献1で用いる吸音体は、一種類の吸音材料により構成され、吸収できる周波数帯域が限られたものであるため、例えば、室内の用途変更(対面会議用の会議室をオンライン会議用の会議室に変更)等により、室内の音環境(吸収させたい音の周波数帯域等)を変更する必要がある場合に、天井から吊り下げられた吸音体を取り外し、吸音特性の異なる(周波数帯域ごとの吸音率が異なる)吸音体へ変更する必要があり、室内の音環境を容易に変更することができなかった。
【0006】
本発明は斯かる点に鑑みてなされたもので、その目的は、室内の音環境を容易に変更できる吸音体を構成し、この吸音体を用いて室の快適性を向上させることにある。
【課題を解決するための手段】
【0007】
上記の目的を達成するために、本発明では、向きを変えるだけで発現する吸音特性が変わる吸音体を室内の音環境の調整に用いるようにした。
【0008】
具体的には、第1の発明は、室内に設けられて該室内の音環境を調整する吸音体であって、外側面の一部が底部となって自立する矩形状に枠組みされた枠体と、上記枠体の奥行方向の一端側の第1開口を閉塞する第1膜体と、上記枠体の奥行方向の他端側の第2開口を閉塞する第2膜体と、上記枠体の内側に配置される多孔質材料からなる吸音材とを備え、音が上記第1膜体側から入射するか上記第2膜体側から入射するかにより、発現する吸音特性が異なるように構成されていることを特徴とするものである。
【0009】
第1の発明では、吸音体を、矩形状に枠組みされた枠体が自立することにより、第1膜体と第2膜体とが互いの間に吸音材を挟んで水平方向に対向し、音が第1膜体側から入射するか第2膜体側から入射するかにより、発現する吸音特性が異なるように構成している。つまり、第1の発明によれば、向きを変えるだけで発現する吸音特性が変わる吸音体を構成し、このような吸音体を室内に設けて室内の音環境の調整に用いるようにしたため、吸音体の向きを変更するだけで容易に室の快適性を向上させることができる。
【0010】
第2の発明は、第1の発明において、上記第1膜体及び上記第2膜体は、識別可能に構成されていることを特徴とするものである。
(【0011】以降は省略されています)
この特許をJ-PlatPat(特許庁公式サイト)で参照する
関連特許
大建工業株式会社
吸音体及び音環境調整構造
1日前
個人
木管楽器
8日前
株式会社豊田中央研究所
吸音構造体
16日前
本田技研工業株式会社
車室環境制御装置
12日前
株式会社東芝
吸音装置
14日前
積水樹脂株式会社
吸音シート
12日前
株式会社第一興商
カラオケ装置
6日前
カシオ計算機株式会社
発音装置、発音方法及びプログラム
1日前
カシオ計算機株式会社
減音器具
14日前
日本軽金属株式会社
遮音壁
6日前
株式会社第一興商
カラオケ装置
12日前
株式会社第一興商
カラオケ装置
16日前
カシオ計算機株式会社
減音器具
14日前
トヨタ自動車株式会社
判定装置
1日前
中原大學
能動騒音除去機能を持つレンジフード
16日前
ブラザー工業株式会社
カラオケ装置及びカラオケプログラム
6日前
シャープ株式会社
電子機器および電子機器の制御方法
6日前
日本電気株式会社
放送用システムおよび字幕作成方法
8日前
カシオ計算機株式会社
電子鍵盤楽器
12日前
ブラザー工業株式会社
カラオケ用プログラム、及び、カラオケ装置
5日前
株式会社JVCケンウッド
クリッピング装置及びクリッピング方法
16日前
大建工業株式会社
吸音体及び音環境調整構造
1日前
ブラザー工業株式会社
音声録音装置、及び、音声録音用プログラム
5日前
株式会社JVCケンウッド
収音装置、収音方法、およびプログラム
1日前
カシオ計算機株式会社
電子楽器、電子楽器の制御方法及びプログラム
12日前
トヨタ自動車株式会社
運転者認知機能改善システム
12日前
株式会社河合楽器製作所
鍵盤楽器の鍵盤装置
7日前
株式会社河合楽器製作所
鍵盤楽器の鍵盤装置
7日前
株式会社東芝
吸音装置及び音響メタマテリアル
14日前
株式会社リコー
対話装置、対話システム、対話方法及びプログラム
5日前
株式会社NTTドコモ
情報処理装置及び情報処理方法
6日前
株式会社河合楽器製作所
鍵盤楽器の楽音制御方法
7日前
株式会社河合楽器製作所
鍵盤楽器の楽音制御方法
7日前
カシオ計算機株式会社
制御装置、方法およびプログラム
16日前
株式会社河合楽器製作所
鍵盤楽器の楽音制御装置
7日前
カシオ計算機株式会社
制御装置、方法およびプログラム
16日前
続きを見る
他の特許を見る