TOP
|
特許
|
意匠
|
商標
特許ウォッチ
Twitter
他の特許を見る
公開番号
2025155320
公報種別
公開特許公報(A)
公開日
2025-10-14
出願番号
2024059097
出願日
2024-04-01
発明の名称
収音装置、収音方法、およびプログラム
出願人
株式会社JVCケンウッド
代理人
個人
主分類
G10L
21/0388 20130101AFI20251006BHJP(楽器;音響)
要約
【課題】帯域が制限された音声信号の音質を改善できる技術を提供する。
【解決手段】収音装置100において、音素情報取得部(短時間音素分析部16)は、学習済みモデルを用いて、音声信号に含まれる音素に関する情報を取得する。帯域拡張部34は、音素に関する情報に基づいて音声信号の高域周波数成分を生成し、高域周波数成分によって音声信号の帯域を拡張する。
【選択図】図1
特許請求の範囲
【請求項1】
学習済みモデルを用いて、音声信号に含まれる音素に関する情報を取得する音素情報取得部と、
前記音素に関する情報に基づいて前記音声信号の高域周波数成分を生成し、前記高域周波数成分によって前記音声信号の帯域を拡張する帯域拡張部と、
を備えることを特徴とする収音装置。
続きを表示(約 590 文字)
【請求項2】
前記帯域拡張部は、前記音素に関する情報が母音の情報を含む場合、前記母音に応じた高次フォルマントの特徴を再現した倍音成分を含む前記高域周波数成分を生成する、
ことを特徴とする請求項1に記載の収音装置。
【請求項3】
前記帯域拡張部は、前記音素に関する情報が子音の情報を含む場合、前記子音に応じた周波数特性の雑音成分であって、前記音声信号の音圧に基づいて調整された大きさの雑音成分を含む前記高域周波数成分を生成する、
ことを特徴とする請求項1または2に記載の収音装置。
【請求項4】
コンピュータが、
学習済みモデルを用いて、音声信号に含まれる音素に関する情報を取得するステップと、
前記音素に関する情報に基づいて前記音声信号の高域周波数成分を生成し、前記高域周波数成分によって前記音声信号の帯域を拡張するステップと、
を実行することを特徴とする収音方法。
【請求項5】
コンピュータに、
学習済みモデルを用いて、音声信号に含まれる音素に関する情報を取得するステップと、
前記音素に関する情報に基づいて前記音声信号の高域周波数成分を生成し、前記高域周波数成分によって前記音声信号の帯域を拡張するステップと、
を実行させることを特徴とするプログラム。
発明の詳細な説明
【技術分野】
【0001】
本発明は、狭帯域の音声信号の周波数帯域を拡大する技術に関する。
続きを表示(約 1,300 文字)
【背景技術】
【0002】
特許文献1には、周波数帯域が制限された狭帯域の信号に対し、非線形処理を施す非線形処理手段を有し、周波数帯域が拡張された信号を形成する帯域拡張装置が開示されている。この装置は、周波数帯域が拡張された信号のスペクトル概形を求め、求めたスペクトル概形を平坦化した特性を白色雑音に対して付与した信号を生成し、周波数帯域が拡張された信号に重畳する。
【先行技術文献】
【特許文献】
【0003】
特開2012-27255号公報
【発明の概要】
【発明が解決しようとする課題】
【0004】
しかしながら、特許文献1のLPC分析は人の声である音声の成り立ちである喉、口元の音導管を表現したものであり、帯域が制限された段階での分析では高次のフォルマントに相当する情報が欠落することとなり、誤った広帯域の音声成分が復元される恐れがある。また、特許文献1の技術では、白色雑音を元に無声音をLPC雑音合成により生成しているが、上記同様に拡大帯域に相当するLPC情報が正確ではないため、無声音の種類、すなわち音素の種類によっては、意図しない雑音成分が付加される恐れがある。
【0005】
本発明はこうした状況に鑑みてなされたものであり、その目的は、帯域が制限された音声信号の音質を改善できる技術を提供することである。
【課題を解決するための手段】
【0006】
上記課題を解決するために、本発明のある態様の収音装置は、学習済みモデルを用いて、音声信号に含まれる音素に関する情報を取得する音素情報取得部と、前記音素に関する情報に基づいて音声信号の高域周波数成分を生成し、前記高域周波数成分によって前記音声信号の帯域を拡張する帯域拡張部と、を備えることを特徴とする。
【0007】
本発明の別の態様は、収音方法である。この方法は、コンピュータが、学習済みモデルを用いて、音声信号に含まれる音素に関する情報を取得するステップと、前記音素に関する情報に基づいて音声信号の高域周波数成分を生成し、前記高域周波数成分によって音声信号の帯域を拡張するステップと、を実行することを特徴とする。
【0008】
本発明の別の態様は、プログラムである。このプログラムは、コンピュータに、学習済みモデルを用いて、音声信号に含まれる音素に関する情報を取得するステップと、前記音素に関する情報に基づいて前記音声信号の高域周波数成分を生成し、前記高域周波数成分によって前記音声信号の帯域を拡張するステップと、を実行させることを特徴とする。
【0009】
なお、以上の構成要素の任意の組合せ、本発明の表現を方法、装置、システム、記録媒体、コンピュータプログラムなどの間で変換したものもまた、本発明の態様として有効である。
【発明の効果】
【0010】
本発明によれば、帯域が制限された音声信号の音質を改善できる技術を提供できる。
【図面の簡単な説明】
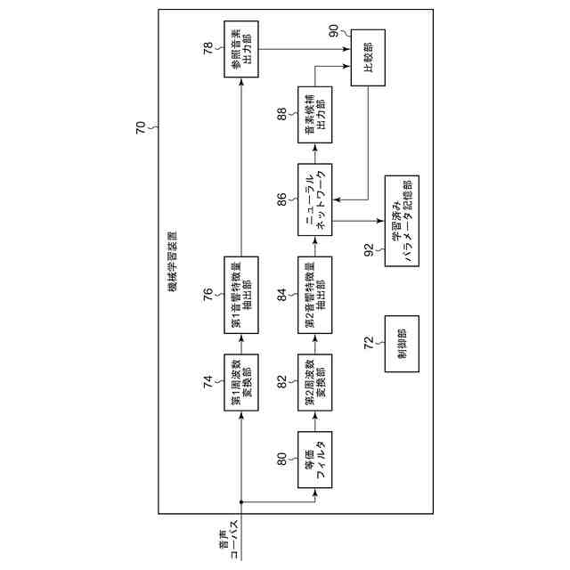
(【0011】以降は省略されています)
この特許をJ-PlatPat(特許庁公式サイト)で参照する
関連特許
株式会社JVCケンウッド
駆動制御装置
今日
株式会社JVCケンウッド
呼気測定装置及び認証方法
2日前
株式会社JVCケンウッド
色補正装置および色補正方法
1日前
株式会社JVCケンウッド
映像記録装置及び映像記録方法
1日前
株式会社JVCケンウッド
映像記録装置及び映像記録方法
1日前
株式会社JVCケンウッド
端末装置及び表示映像決定システム
1日前
株式会社JVCケンウッド
オブジェクト認識制御装置およびオブジェクト認識制御方法
1日前
個人
木管楽器
9日前
株式会社豊田中央研究所
吸音構造体
17日前
本田技研工業株式会社
車室環境制御装置
13日前
株式会社東芝
吸音装置
15日前
株式会社イノアックコーポレーション
吸音材
1か月前
積水樹脂株式会社
吸音シート
13日前
株式会社SinasSP
自動騒音低減装置
今日
株式会社第一興商
カラオケ装置
13日前
株式会社第一興商
カラオケ装置
7日前
株式会社第一興商
カラオケ装置
17日前
日本軽金属株式会社
遮音壁
7日前
カシオ計算機株式会社
減音器具
15日前
カシオ計算機株式会社
発音装置、発音方法及びプログラム
2日前
KDDI株式会社
認証装置、認証方法及び認証プログラム
1か月前
株式会社第一興商
カラオケ装置
1か月前
カシオ計算機株式会社
減音器具
15日前
トヨタ自動車株式会社
判定装置
2日前
シャープ株式会社
電子機器および電子機器の制御方法
7日前
ブラザー工業株式会社
カラオケ装置及びカラオケプログラム
7日前
中原大學
能動騒音除去機能を持つレンジフード
17日前
日本電気株式会社
放送用システムおよび字幕作成方法
9日前
カシオ計算機株式会社
電子鍵盤楽器
13日前
株式会社JVCケンウッド
収音装置、収音方法、およびプログラム
2日前
大建工業株式会社
吸音体及び音環境調整構造
2日前
トヨタ自動車株式会社
電気自動車
1か月前
株式会社JVCケンウッド
クリッピング装置及びクリッピング方法
17日前
ブラザー工業株式会社
音声録音装置、及び、音声録音用プログラム
6日前
ブラザー工業株式会社
カラオケ用プログラム、及び、カラオケ装置
6日前
カシオ計算機株式会社
電子楽器、電子楽器の制御方法及びプログラム
13日前
続きを見る
他の特許を見る