TOP
|
特許
|
意匠
|
商標
特許ウォッチ
Twitter
他の特許を見る
10個以上の画像は省略されています。
公開番号
2025156861
公報種別
公開特許公報(A)
公開日
2025-10-15
出願番号
2024059590
出願日
2024-04-02
発明の名称
端末装置及び表示映像決定システム
出願人
株式会社JVCケンウッド
代理人
個人
主分類
H04N
21/462 20110101AFI20251007BHJP(電気通信技術)
要約
【課題】本開示により、複数の映像からユーザが所望する映像を自動で選択し、端末装置に表示する映像として決定する端末装置及び表示映像決定システムを提供することができる。
【解決手段】本開示に係る端末装置は、複数の撮像手段により撮影される映像を取得する映像取得部と、映像を表示する映像表示部と、撮像手段の位置と向きとに関する撮像属性情報を記憶する撮像属性情報記憶部と、ユーザの位置に関するユーザ位置情報を記憶するユーザ位置情報記憶部と、撮像属性情報とユーザ位置情報とに基づいて、複数の撮像手段のそれぞれにより撮影される複数の映像からいずれかの映像を選択して映像表示部に表示する映像を決定する表示映像決定部と、を備える。
【選択図】図1
特許請求の範囲
【請求項1】
複数の撮像手段により撮影される映像を取得する映像取得部と、
前記映像を表示する映像表示部と、
前記撮像手段の位置と向きとに関する撮像属性情報を記憶する撮像属性情報記憶部と、
端末装置のユーザの位置に関するユーザ位置情報を記憶するユーザ位置情報記憶部と、
前記撮像属性情報と前記ユーザ位置情報とに基づいて、複数の前記撮像手段のそれぞれにより撮影される複数の映像からいずれかの映像を選択して前記映像表示部に表示する映像を決定する表示映像決定部と、を備えた、
端末装置。
続きを表示(約 1,300 文字)
【請求項2】
前記撮像属性情報記憶部に記憶されている前記撮像属性情報と、ユーザ位置情報記憶部に記憶されている前記ユーザ位置情報とに基づいて、前記ユーザとそれぞれの前記撮像手段との差分距離と差分角度とを算出し、前記差分距離と差分角度とに基づいて、それぞれの前記撮像手段に対して重み係数を設定する重み係数設定部をさらに備え、
前記表示映像決定部は、前記重み係数が最大の前記撮像手段より撮像される映像を前記映像表示部に表示する映像として決定する、
請求項1に記載の端末装置。
【請求項3】
前記ユーザ位置情報記憶部に記憶されている前記ユーザ位置情報に基づいて設定される、前記ユーザの基準位置範囲を記憶する基準位置範囲記憶部と、
所定の時間ごとに取得されたユーザ位置情報を記憶する現在位置情報記憶部と、をさらに備え、
前記表示映像決定部は、現在位置情報記憶部に記憶されている前記ユーザ位置情報が、
前記基準位置範囲内であった場合、前記重み係数が最大の前記撮像手段より撮像される映像を前記映像表示部に表示する映像として決定し、
前記基準位置範囲外であった場合、前記重み係数が最小の前記撮像手段より撮像される映像を前記映像表示部に表示する映像として決定する、
請求項2に記載の端末装置。
【請求項4】
前記撮像属性情報は、前記撮像手段のズーム倍率に関する情報をさらに含み、
前記表示映像決定部は、前記重み係数に基づいて決定された前記撮像手段が複数ある場合、さらに前記撮像手段のズーム倍率に基づいて、前記重み係数に基づいて決定された複数の前記撮像手段より撮像される映像から前記映像表示部に表示する映像を決定する、
請求項3に記載の端末装置。
【請求項5】
特定イベントの会場において、当該特定イベントに来場したユーザの端末装置に表示する映像を決定する表示映像決定システムであって、
前記特定イベントの会場に設置された複数の撮像手段と、
複数の前記撮像手段により撮影される映像を取得する映像取得部と、
それぞれの前記撮像手段の位置と向きとに関する撮像属性情報を取得する撮像属性情報取得部と、
前記映像を通信部を介して送信する映像送信部と、
それぞれの前記撮像手段の前記撮像属性情報を前記通信部を介して送信する撮像属性情報送信部と、
を有する配信映像管理サーバと、
前記配信映像管理サーバから送信された複数の前記映像を取得する映像取得部と、
前記配信映像管理サーバから送信された前記撮像属性情報を取得する撮像属性情報取得部と、
前記ユーザの位置に関するユーザ位置情報を取得するユーザ位置情報取得部と、
前記映像を表示する映像表示部と、
前記撮像属性情報と前記ユーザ位置情報とに基づいて、複数の前記映像からいずれかの映像を選択して前記映像表示部に表示する映像を決定する表示映像決定部と、
を有する端末装置と、を備える、
表示映像決定システム。
発明の詳細な説明
【技術分野】
【0001】
本開示は、端末装置及び表示映像決定システムに関する。
続きを表示(約 2,300 文字)
【背景技術】
【0002】
スポーツやコンサートなどのイベントの会場に設置された複数台のカメラにより撮像された映像を、ユーザが所持する端末装置に配信するマルチアングル配信システムがある。この配信システムは、複数のカメラがイベントに対してそれぞれ異なる位置及び向きで撮影した映像を、端末装置において同時に再生する。そして、ユーザは、好きなタイミングで観たい映像に切り替えながらイベントを視聴できる(例えば、特許文献1)。
【先行技術文献】
【特許文献】
【0003】
特開2013-162399号公報
【発明の概要】
【発明が解決しようとする課題】
【0004】
イベントの会場において、当該イベントを観るために来場したユーザは、実際に自分が観ている位置及び向きとは異なる映像を観たい場合がある。この場合、ユーザは、様々な位置及び向きから撮影される複数の映像の中から、所望の映像を自分で探し出し選択しなければならない。カメラの台数が増えると、それに伴い映像の選択肢が増える。よって、その中から所望の映像を選択することがユーザにとって煩わしくなってしまう。
【0005】
本開示は、このような問題を解決するためになされたものであり、複数の映像からユーザが所望する映像を自動で選択し、端末装置に表示する映像として決定する端末装置及び表示映像決定システムを提供することを目的とするものである。
【課題を解決するための手段】
【0006】
本開示に係る端末装置は、複数の撮像手段により撮影される映像を取得する映像取得部と、前記映像を表示する映像表示部と、前記撮像手段の位置と向きとに関する撮像属性情報を記憶する撮像属性情報記憶部と、前記ユーザの位置に関するユーザ位置情報を記憶するユーザ位置情報記憶部と、前記撮像属性情報と前記ユーザ位置情報とに基づいて、複数の前記撮像手段のそれぞれにより撮影される複数の映像からいずれかの映像を選択して前記映像表示部に表示する映像を決定する表示映像決定部と、を備える。
【0007】
本開示に係る表示映像決定システムは、特定イベントの会場において、当該特定イベントに来場したユーザの端末装置に表示する映像を決定する表示映像決定システムであって、前記特定のイベントの会場に設置された複数の撮像手段と、複数の前記撮像手段により撮影される映像を取得する映像取得部と、それぞれの前記撮像手段の位置と向きとに関する撮像属性情報を取得する撮像属性情報取得部と、前記映像を通信部を介して送信する映像送信部と、それぞれの前記撮像手段の前記撮像属性情報を前記通信部を介して送信する撮像属性情報送信部と、を有する配信映像管理サーバと、前記配信映像管理サーバから送信された複数の前記映像を取得する映像取得部と、前記配信映像管理サーバから送信された前記撮像属性情報を取得する撮像属性情報取得部と、前記ユーザの位置に関するユーザ位置情報を取得するユーザ位置情報取得部と、前記映像を表示する映像表示部と、前記撮像属性情報と前記ユーザ位置情報とに基づいて、複数の前記映像からいずれかの映像を選択して前記映像表示部に表示する映像を決定する表示映像決定部と、を有する端末装置と、を備える。
【発明の効果】
【0008】
本開示により、複数の映像からユーザが所望する映像を自動で選択し、端末装置に表示する映像として決定する端末装置及び表示映像決定システムを提供することができる。
【図面の簡単な説明】
【0009】
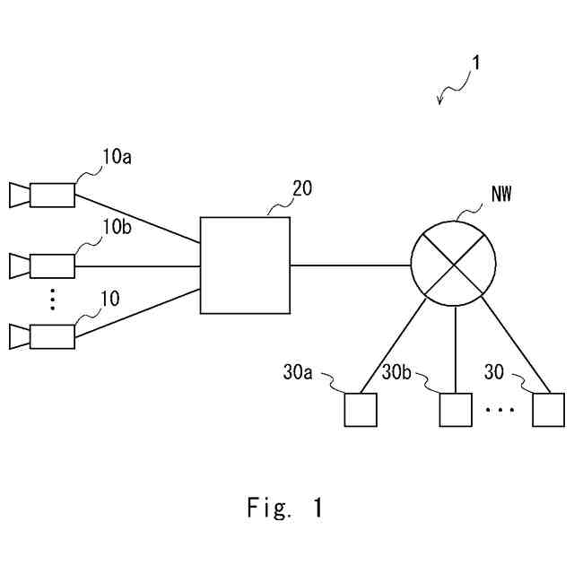
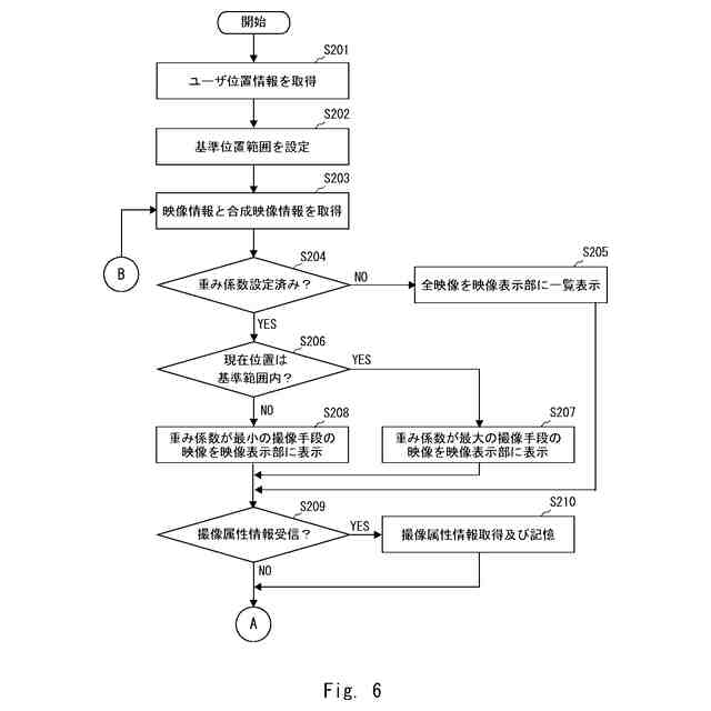
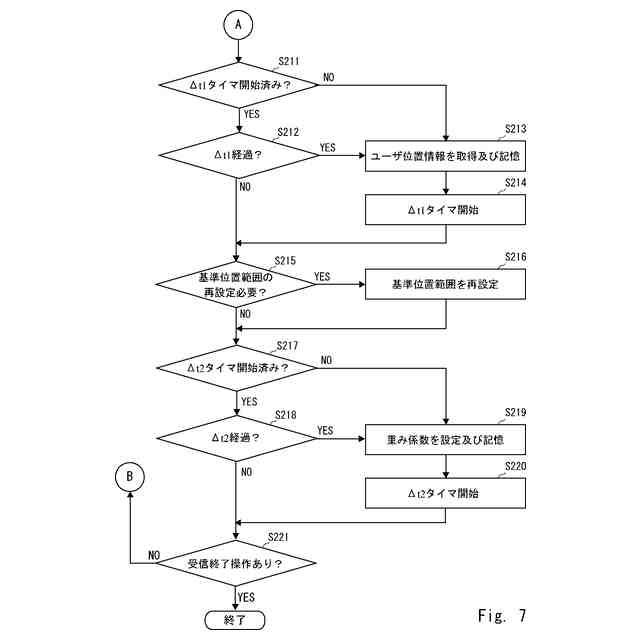
図1は、本開示に係る表示映像決定システムの一例を示すブロック図である。
図2は、本開示に係る表示映像決定システムにおける配信映像管理サーバの一例を示すブロック図である。
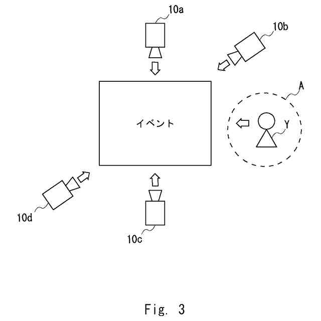
図3は、本開示に係る表示映像決定システムにおけるイベント会場での配置の一例を示す説明図である。
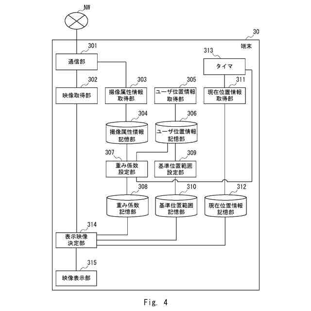
図4は、本開示に係る表示映像決定システムにおける端末装置の一例を示すブロック図である。
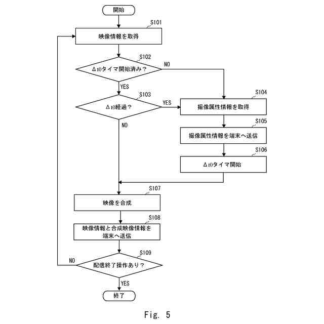
図5は、本開示に係る表示映像決定システムにおける配信映像管理サーバによる処理の一例を示すフローチャートである。
図6は、本開示に係る表示映像決定システムにおける端末装置による処理の一例を示すフローチャートである。
図7は、本開示に係る表示映像決定システムにおける端末装置による処理の一例を示すフローチャートである。
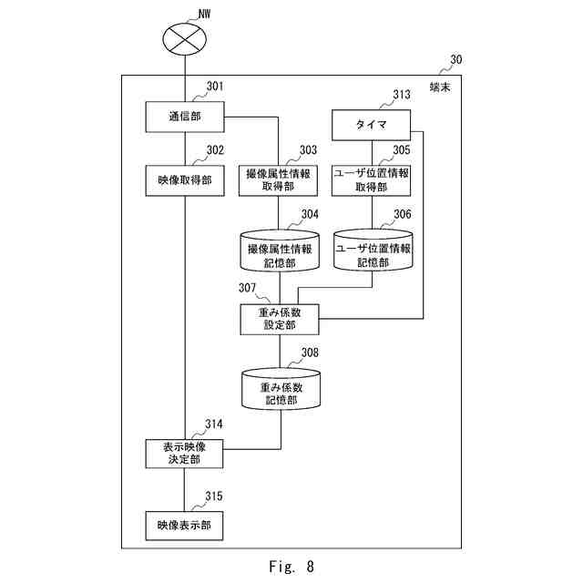
図8は、本開示に係る表示映像決定システムにおける端末装置の他の一例を示すブロック図である。
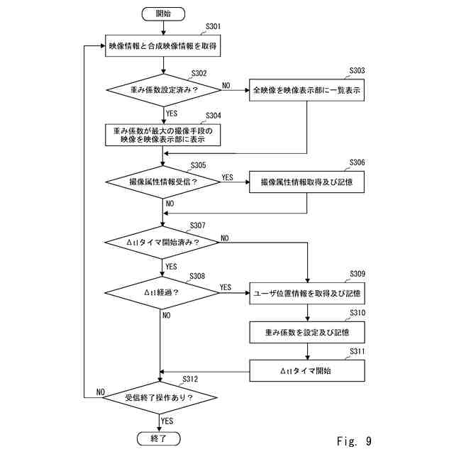
図9は、本開示に係る表示映像決定システムにおける端末装置による処理の一例を示すフローチャートである。
【発明を実施するための形態】
【0010】
実施の形態1
以下に、図を参照しつつ、本開示に係る表示映像決定システムについて説明する。本開示に係る表示映像決定システムは、例えばスポーツやコンサートなど特定イベントの会場において、当該イベントを観るために来場したユーザの端末装置に表示する映像を決定するシステムである。本実施の形態1では、当該会場においてユーザがイベントを観る位置は固定されている。なお、イベントの会場においてユーザがスポーツ選手やコンサート歌手など視聴対象を観ることを総称して、イベントを観ると呼ぶことがある。
(【0011】以降は省略されています)
この特許をJ-PlatPat(特許庁公式サイト)で参照する
関連特許
個人
監視カメラシステム
2日前
キーコム株式会社
光伝送線路
3日前
サクサ株式会社
中継装置
9日前
WHISMR合同会社
収音装置
1か月前
個人
スキャン式車載用撮像装置
2日前
サクサ株式会社
中継装置
8日前
キヤノン株式会社
撮像装置
1か月前
アイホン株式会社
電気機器
1か月前
株式会社リコー
画像形成装置
1か月前
株式会社リコー
画像形成装置
1か月前
サクサ株式会社
無線通信装置
8日前
サクサ株式会社
無線通信装置
8日前
サクサ株式会社
無線システム
7日前
株式会社リコー
画像形成装置
2か月前
個人
ワイヤレスイヤホン対応耳掛け
28日前
キヤノン電子株式会社
画像読取装置
1日前
キヤノン電子株式会社
画像読取装置
1か月前
個人
発信機及び発信方法
7日前
キヤノン株式会社
撮像システム
1か月前
日本電気株式会社
海底分岐装置
3日前
ブラザー工業株式会社
読取装置
2か月前
株式会社JVCケンウッド
通信システム
14日前
パテントフレア株式会社
超高速電波通信
1か月前
沖電気工業株式会社
画像形成装置
10日前
株式会社小糸製作所
画像照射装置
1か月前
株式会社松平商会
携帯機器カバー
1か月前
キヤノン電子株式会社
画像処理システム
1日前
国立大学法人電気通信大学
小型光学装置
1か月前
シャープ株式会社
端末装置
今日
キヤノン電子株式会社
シート材搬送装置
2か月前
有限会社フィデリックス
マイクロフォン
14日前
株式会社NTTドコモ
端末
2日前
沖電気工業株式会社
画像形成装置
18日前
株式会社NTTドコモ
端末
3日前
株式会社NTTドコモ
端末
2日前
株式会社NTTドコモ
端末
2日前
続きを見る
他の特許を見る