TOP
|
特許
|
意匠
|
商標
特許ウォッチ
Twitter
他の特許を見る
10個以上の画像は省略されています。
公開番号
2025157158
公報種別
公開特許公報(A)
公開日
2025-10-15
出願番号
2025046082
出願日
2025-03-19
発明の名称
基地局及び通信方法
出願人
株式会社NTTドコモ
代理人
弁理士法人ITOH
主分類
H04W
28/10 20090101AFI20251007BHJP(電気通信技術)
要約
【課題】無線通信システムにおいて、マルチモーダルサービス(Multi-modal service)を提供する。
【解決手段】CU(Central Unit)を含む基地局10であって、DU(Distributed Unit)との間に複数のQoS(Quality of Service)フローを設定する制御部140と、DUに、各QoSフローに設定されたMMSID(Multi-modal service ID)を含むメッセージを送信する通信部110とを有し、制御部140は、メッセージにおいて、同一のサービスに関連付けられるQoSフローに同一のMMSIDを設定する。
【選択図】図14
特許請求の範囲
【請求項1】
CU(Central Unit)を含む基地局であって、
DU(Distributed Unit)との間に複数のQoS(Quality of Service)フローを設定する制御部と、
前記DUに、各前記QoSフローに設定されたMMSID(Multi-modal service ID)を含むメッセージを送信する通信部とを有し、
前記制御部は、前記メッセージにおいて、同一のサービスに関連付けられる前記QoSフローに同一の前記MMSIDを設定する基地局。
続きを表示(約 660 文字)
【請求項2】
前記制御部は、前記メッセージを、UEコンテキストセットアップ要求又はUEコンテキスト変更要求とする請求項1記載の基地局。
【請求項3】
前記制御部は、前記メッセージを、マルチキャストコンテキストセットアップ要求又はブロードキャストコンテキストセットアップ要求とする請求項1記載の基地局。
【請求項4】
前記通信部は、AMF(Access and Mobility Management Function)から前記MMSIDを含むメッセージを受信する請求項1記載の基地局。
【請求項5】
前記通信部は、ハンドオーバ時のソース基地局である場合、各前記QoSフローに設定されたMMSIDを含むハンドオーバ要求メッセージをAMF(Access and Mobility Management Function)に送信する請求項1記載の基地局。
【請求項6】
CU(Central Unit)を含む基地局が実行する通信方法であって、
DU(Distributed Unit)との間に複数のQoS(Quality of Service)フローを設定する手順と、
前記DUに、各前記QoSフローに設定されたMMSID(Multi-modal service ID)を含むメッセージを送信する手順と、
前記メッセージにおいて、同一のサービスに関連付けられる前記QoSフローに同一の前記MMSIDを設定する手順とを含む通信方法。
発明の詳細な説明
【技術分野】
【0001】
本発明は、無線通信システムにおける基地局及び通信方法に関する。
続きを表示(約 2,200 文字)
【背景技術】
【0002】
3GPP(登録商標)(3rd Generation Partnership Project)では、システム容量の更なる大容量化、データ伝送速度の更なる高速化、無線区間における更なる低遅延化等を実現するために、5GあるいはNR(New Radio)と呼ばれる無線通信方式(以下、当該無線通信方式を「NR」という。)の検討が進んでいる。5Gでは、10Gbps以上のスループットを実現しつつ無線区間の遅延を1ms以下にするという要求条件を満たすために、様々な無線技術及びネットワークアーキテクチャの検討が行われている(例えば非特許文献1)。
【0003】
また、3GPPでは、XR(Extended Reality)のアプリケーションをサポートすることが検討されている。XRでは、遅延に対する許容時間が短いデータ(以下、遅延クリティカルデータ)が存在しており、3GPPでは、遅延クリティカルデータを優先的にスケジューリングする必要性に関する議論が進められている(例えば非特許文献2)。
【先行技術文献】
【非特許文献】
【0004】
3GPP TS 38.300 V18.4.0 (2024-12)
"Report of 3GPP TSG RAN WG2 meeting #126", 3GPP TSG-RAN WG 2, 3GPP, 2024年5月
【発明の概要】
【発明が解決しようとする課題】
【0005】
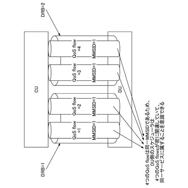
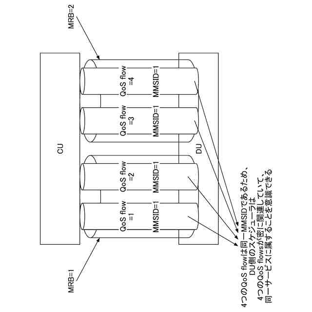
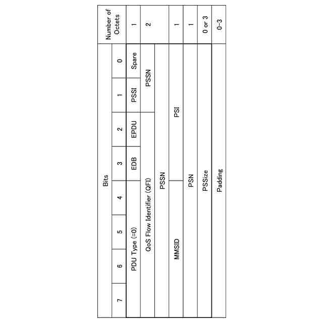
マルチモーダルサービス(Multi-modal service)に係るポリシの強化が検討されている。マルチモーダルサービスとは、互いに関連する複数のデータフローから構成される通信サービスであり、アプリケーションの協調を実現する。ここで、5GC(5G Core)からデータフローがいずれのサービスに関連付けられるかを識別するためのMMSID(multi-modal service ID)をRAN(Radio Access Network)ノードに送信し、無線アクセス層におけるマルチモーダルサービス向けスケジューリングを実施する必要がある。
【0006】
本発明は上記の点に鑑みてなされたものであり、無線通信システムにおいて、マルチモーダルサービス(Multi-modal service)を提供することを目的とする。
【課題を解決するための手段】
【0007】
開示の技術によれば、CU(Central Unit)を含む基地局であって、DU(Distributed Unit)との間に複数のQoS(Quality of Service)フローを設定する制御部と、前記DUに、各前記QoSフローに設定されたMMSID(Multi-modal service ID)を含むメッセージを送信する通信部とを有し、前記制御部は、前記メッセージにおいて、同一のサービスに関連付けられる前記QoSフローに同一の前記MMSIDを設定する基地局が提供される。
【発明の効果】
【0008】
開示の技術によれば、無線通信システムにおいて、マルチモーダルサービス(Multi-modal service)を提供することができる。
【図面の簡単な説明】
【0009】
無線通信システムの構成例を示す図である。
本発明の実施の形態に係るサービスの例(1)を示す図である。
本発明の実施の形態に係るサービスの例(2)を示す図である。
本発明の実施の形態に係るサービスの例(3)を示す図である。
本発明の実施の形態に係るサービスの例(4)を示す図である。
本発明の実施の形態に係るサービスの例(5)を示す図である。
本発明の実施の形態に係るサービスの例(6)を示す図である。
本発明の実施の形態に係るMMSID通知の例(1)を示すシーケンス図である。
本発明の実施の形態に係るMMSID通知の例(2)を示すシーケンス図である。
本発明の実施の形態に係るMMSID通知の例(3)を示すシーケンス図である。
本発明の実施の形態に係るMMSID通知の例(4)を示すシーケンス図である。
本発明の実施の形態に係るMMSID通知の例(5)を示すシーケンス図である。
本発明の実施の形態に係るMMSID通知の例(6)を示すシーケンス図である。
本発明の実施の形態に係る基地局10の機能構成の一例を示す図である。
本発明の実施の形態に係る端末20の機能構成の一例を示す図である。
本発明の実施の形態に係る基地局10又は端末20のハードウェア構成の一例を示す図である。
本発明の実施の形態における車両2001の構成の一例を示す図である。
【発明を実施するための形態】
【0010】
以下、図面を参照して本発明の実施の形態を説明する。なお、以下で説明する実施の形態は一例であり、本発明が適用される実施の形態は、以下の実施の形態に限られない。
(【0011】以降は省略されています)
この特許をJ-PlatPat(特許庁公式サイト)で参照する
関連特許
株式会社NTTドコモ
端末
6日前
株式会社NTTドコモ
端末
6日前
株式会社NTTドコモ
端末
5日前
株式会社NTTドコモ
端末
5日前
株式会社NTTドコモ
端末
5日前
株式会社NTTドコモ
端末
5日前
株式会社NTTドコモ
端末
6日前
株式会社NTTドコモ
端末
6日前
株式会社NTTドコモ
端末
5日前
株式会社NTTドコモ
基地局
5日前
株式会社NTTドコモ
デバイス
5日前
株式会社NTTドコモ
デバイス
6日前
株式会社NTTドコモ
デバイス
5日前
株式会社NTTドコモ
デバイス
5日前
株式会社NTTドコモ
デバイス
6日前
株式会社NTTドコモ
デバイス
6日前
株式会社NTTドコモ
デバイス
6日前
株式会社NTTドコモ
端末及び方法
1か月前
株式会社NTTドコモ
リニアライザ
13日前
株式会社NTTドコモ
情報処理装置
12日前
株式会社NTTドコモ
装置及び方法
3日前
株式会社NTTドコモ
端末及び基地局
5日前
株式会社NTTドコモ
端末及び基地局
5日前
株式会社NTTドコモ
装置および方法
18日前
株式会社NTTドコモ
基地局及び端末
5日前
株式会社NTTドコモ
基地局及び端末
5日前
株式会社NTTドコモ
端末及び基地局
5日前
株式会社NTTドコモ
端末及び通信方法
6日前
株式会社NTTドコモ
端末及び通信方法
6日前
株式会社NTTドコモ
端末及び通信方法
6日前
株式会社NTTドコモ
端末及び通信方法
6日前
株式会社NTTドコモ
端末及び通信方法
6日前
株式会社NTTドコモ
端末及び通信方法
6日前
株式会社NTTドコモ
端末及び通信方法
6日前
株式会社NTTドコモ
端末及び通信方法
6日前
株式会社NTTドコモ
端末及び通信方法
6日前
続きを見る
他の特許を見る