TOP
|
特許
|
意匠
|
商標
特許ウォッチ
Twitter
他の特許を見る
10個以上の画像は省略されています。
公開番号
2025157620
公報種別
公開特許公報(A)
公開日
2025-10-15
出願番号
2025133434,2024061417
出願日
2025-08-08,2020-07-21
発明の名称
画像形成装置
出願人
キヤノン株式会社
代理人
個人
,
個人
,
個人
,
個人
,
個人
主分類
G03G
21/16 20060101AFI20251007BHJP(写真;映画;光波以外の波を使用する類似技術;電子写真;ホログラフイ)
要約
【課題】 メモリ手段を備えるカートリッジが着脱可能である移動ユニットであって、メモリ手段と装置本体の本体電気接点とを電気的に接続するための中間接点構成を有する移動ユニットを備える画像形成装置の一形態を提供することを目的とする。
【解決手段】 移動ユニットは、装置本体に対して、画像形成可能な第1位置と、カートリッジが着脱可能な第2位置との間を移動可能であり、
ユニット電気接点は、第1方向において移動ユニットを装置本体から引き出す方向に位置する枠体の上流側端面に設けられ、装置本体の本体電気接点は、移動ユニットが第1位置にあるときに枠体の上流側端面に対向する装置本体の部分に設けられ、本体電気接点は、移動ユニットが第1位置にあるときにユニット電気接点と電気的に接触し、移動ユニットが第2位置にあるときにユニット電気接点から離れている。
【選択図】 図16
特許請求の範囲
【請求項1】
装置本体と、
前記装置本体に対して着脱可能で、感光ドラムと、前記感光ドラムを回転可能に支持し、現像ローラおよびメモリ手段を備えるカートリッジが着脱可能な枠体とを有する移動ユニットと、
前記カートリッジのメモリ手段のメモリ電気接点に電気的に接触する中間電気接点と、前記装置本体の本体電気接点に電気的に接触するユニット電気接点とを接続する線状導体と、
前記移動ユニットに設けられ、前記線状導体を少なくとも一部囲うように前記線状導体の開口部を覆うカバーと、を有し、
前記カバーは第1方向に直交する断面がU字形状を有し、前記U字形状の開口が前記移動ユニットの端面側を向くように取り付けられ、前記カバーの少なくとも一部が線状導体が配置された凹部に入り込む構成であり、
前記移動ユニットは、前記装置本体に対して、画像形成可能な第1位置と、前記カートリッジが着脱可能な第2位置との間を移動可能であり、
前記ユニット電気接点は、前記第1方向において移動ユニットを装置本体から引き出す方向に位置する枠体の上流側端面に設けられ、
前記装置本体の前記本体電気接点は、前記移動ユニットが前記第1位置にあるときに前記枠体の上流側端面に対向する装置本体の部分に設けられ、
前記本体電気接点は、前記移動ユニットが前記第1位置にあるときに前記ユニット電気接点と電気的に接触し、前記移動ユニットが前記第2位置にあるときに前記ユニット電気接点から離れていることを特徴とする画像形成装置。
続きを表示(約 240 文字)
【請求項2】
前記カバーは、前記枠体の材質とは異なる樹脂製の部材で構成されており、前記移動ユニットの着脱時において弾性変形可能であることを特徴とする請求項1に記載の画像形成装置。
【請求項3】
前記線状導体は、複数の導体線からなることを特徴とする請求項1に記載の画像形成装置。
【請求項4】
前記カートリッジは、前記移動ユニットが第2位置にあるときのみ前記枠体に対して着脱可能であるように構成されていることを特徴とする請求項1に記載の画像形成装置。
発明の詳細な説明
【技術分野】
【0001】
本発明は、電子写真方式の画像形成装置に関する。
続きを表示(約 3,000 文字)
【背景技術】
【0002】
画像形成装置の装置本体に対して移動可能であって、メモリ手段を備えるカートリッジが装着可能に構成された移動ユニットを有する画像形成装置が知られている。特許文献1には、カートリッジのメモリ手段の電気接点と、装置本体の本体電気接点と、を電気的に接続するための中間接点構成を備える移動ユニットが開示されている。
【先行技術文献】
【特許文献】
【0003】
特開2019-28346号公報
【発明の概要】
【発明が解決しようとする課題】
【0004】
上述したような中間接点構成を有する移動ユニットを備える画像形成装置の一形態を提供することを目的とする。
【課題を解決するための手段】
【0005】
本発明は、装置本体と、前記装置本体に対して着脱可能で、感光ドラムと、前記感光ドラムを回転可能に支持し、現像ローラおよびメモリ手段を備えるカートリッジが着脱可能な枠体とを有する移動ユニットと、前記カートリッジのメモリ手段のメモリ電気接点に電気的に接触する中間電気接点と、前記装置本体の本体電気接点に電気的に接触するユニット電気接点とを接続する線状導体と、前記移動ユニットに設けられ、前記線状導体を少なくとも一部囲うように前記線状導体の開口部を覆うカバーと、を有し、前記カバーは第1方向に直交する断面がU字形状を有し、前記U字形状の開口が前記移動ユニットの端面側を向くように取り付けられ、前記カバーの少なくとも一部が線状導体が配置された凹部に入り込む構成であり、前記移動ユニットは、前記装置本体に対して、画像形成可能な第1位置と、前記カートリッジが着脱可能な第2位置との間を移動可能であり、 前記ユニット電気接点は、前記第1方向において移動ユニットを装置本体から引き出す方向に位置する枠体の上流側端面に設けられ、前記装置本体の前記本体電気接点は、前記移動ユニットが前記第1位置にあるときに前記枠体の上流側端面に対向する装置本体の部分に設けられ、前記本体電気接点は、前記移動ユニットが前記第1位置にあるときに前記ユニット電気接点と電気的に接触し、前記移動ユニットが前記第2位置にあるときに前記ユニット電気接点から離れていることを特徴とする。
【発明の効果】
【0006】
本発明によると、メモリ手段を備えるカートリッジが着脱可能である移動ユニットであって、メモリ手段と装置本体の本体電気接点とを電気的に接続するための中間接点構成を有する移動ユニットを備える画像形成装置の一形態を提供することができる。
【図面の簡単な説明】
【0007】
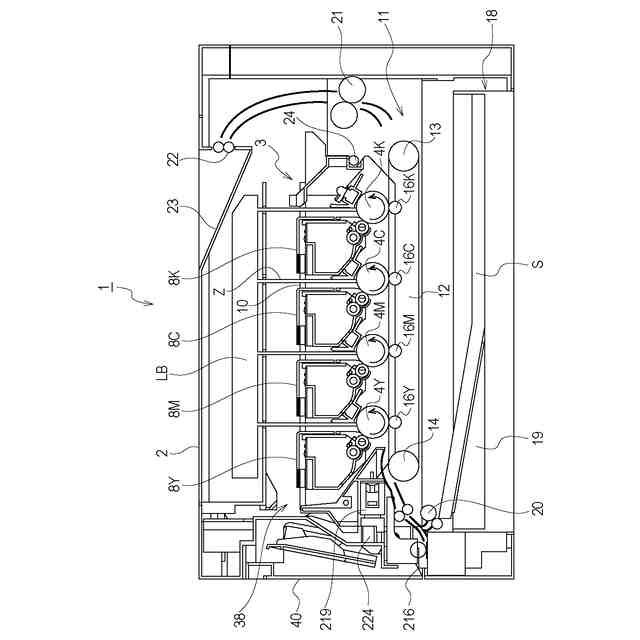
実施例1に係る画像形成装置の概略断面図
(a)カートリッジトレイが引き出された状態の画像形成装置の斜視図 (b)カートリッジトレイがない状態の画像形成装置の斜視図
カートリッジトレイ及び現像カートリッジの斜視図
カートリッジトレイ及び現像カートリッジの拡大断面図
(a)カートリッジトレイの斜視図 (b)カートリッジトレイの前部の拡大斜視図
トレイ接点ユニット及び現像カートリッジに対応するトレイメモリ接点の斜視図。
(a)カートリッジトレイが装着された状態の画像形成装置の側面図 (b)カートリッジトレイが引き出された状態の画像形成装置の側面図 (c)はカートリッジトレイが(b)の状態から更に引き出された状態の画像形成装置の側面図
(a)前ドアが閉位置にある時の画像形成装置の斜視図 (b)前ドアが閉位置から開位置の間にある時の画像形成装置の斜視図 (c)前ドアが開位置にある時の画像形成装置の斜視図
前ドアの斜視図
(a)使用時のマルチトレイユニットの斜視図 (b)マルチトレイユニットを示す拡大斜視図
トレイ接点ユニットの拡大斜視図
ドア接点ユニット及びトレイ接点ユニットを示す図
ドア接点ユニット及びその周辺構成を示す斜視図
前ドアを閉じ動作している途中の画像形成装置を示す斜視図
ドア接点ユニット及びトレイ接点ユニットの接触状態における断面図
(a)カートリッジトレイの斜視図 (b)配線部の斜視図
(a)カートリッジトレイの斜視図 (b)(a)と異なる視点のカートリッジトレイの斜視図
(a)カートリッジトレイの接点部材と配線部を示す側面図。 (b)D3方向に直交する方向のカートリッジトレイの配線部の拡大断面図 (c)第1のトレイ帯電接点と配線部の位置関係を示す図
(a)蓋部材の斜視図 (b)(a)と異なる視点の蓋部材の斜視図
現像カートリッジの斜視図
現像カートリッジの長手端部の分解斜視図
現像カートリッジの斜視図
カートリッジトレイのトレイメモリ接点近傍の斜視図
(a)現像カートリッジの上面図 (b)現像カートリッジの断面図
カートリッジトレイのトレイメモリ接点近傍をD2方向から見た上面図
(a)カートリッジトレイの配線部を示す斜視図 (b)(a)と異なる視点のカートリッジトレイの斜視図
(a)実施例2に係る、蓋部材が取り付けられた状態カートリッジトレイの斜視図 (b)実施例2に係る、蓋部材が外された状態カートリッジトレイの斜視図
(a)実施例2に係るカートリッジトレイの配線部の斜視図 (b)(a)と異なる視点のカートリッジトレイの配線部の斜視図
実施例2に係る、カートリッジトレイを取り出した状態の画像形成装置の斜視図
【発明を実施するための形態】
【0008】
以下の説明では、図面及び実施例を参照して、この発明を実施するための形態を例示的に詳しく説明する。ただし、この実施例に記載されている構成部品の機能、材質、形状、その相対配置などは、特定の記載がない限りは、この発明の範囲をそれらのみに限定する趣旨のものではない。また、以下の説明で一度説明した部材についての機能、材質、形状などは、特に改めて記載しない限りは初めの説明と同様のものである。
【0009】
また、以下の説明では、画像形成装置に関して、前ドアを設けた側を正面側、正面側と反対側を背面側と称す。更に、画像形成装置を正面から見て左側を左側、右側を右側と称す。
【0010】
また、カートリッジトレイが有する感光ドラムのドラム回転軸線上に延びる方向をD1方向(第2方向)とする。更に、D1方向に対して交差する方向(本実施形態では、カートリッジトレイに対する現像カートリッジの挿入方向)をD2方向(第3方向)とする。加えて、カートリッジトレイが画像形成装置内に挿入される方向をD3方向(第1方向)とする。D1方向とD2方向とは、互いに交差もしくは直交する。D2方向とD3方向とは、互いに交差もしくは直交する。D3方向とD1方向とは、互いに交差もしくは直交する。本実施例において、D2方向は鉛直方向であり、D3方向は、D1方向とD3方向の双方に直交する方向である。
(【0011】以降は省略されています)
この特許をJ-PlatPat(特許庁公式サイト)で参照する
関連特許
キヤノン株式会社
トナー
10日前
キヤノン株式会社
トナー
10日前
キヤノン株式会社
トナー
15日前
キヤノン株式会社
トナー
10日前
キヤノン株式会社
現像容器
8日前
キヤノン株式会社
現像装置
8日前
キヤノン株式会社
測距装置
3日前
キヤノン株式会社
撮影装置
8日前
キヤノン株式会社
現像装置
1日前
キヤノン株式会社
現像装置
8日前
キヤノン株式会社
撮像装置
15日前
キヤノン株式会社
現像容器
8日前
キヤノン株式会社
撮像装置
11日前
キヤノン株式会社
記録装置
8日前
キヤノン株式会社
定着装置
9日前
キヤノン株式会社
モジュール
10日前
キヤノン株式会社
光学センサ
10日前
キヤノン株式会社
カートリッジ
8日前
キヤノン株式会社
画像形成装置
4日前
キヤノン株式会社
画像形成装置
8日前
キヤノン株式会社
画像形成装置
11日前
キヤノン株式会社
画像形成装置
8日前
キヤノン株式会社
画像形成装置
8日前
キヤノン株式会社
画像形成装置
2日前
キヤノン株式会社
画像形成装置
2日前
キヤノン株式会社
情報処理装置
8日前
キヤノン株式会社
画像形成装置
11日前
キヤノン株式会社
画像形成装置
11日前
キヤノン株式会社
画像形成装置
11日前
キヤノン株式会社
画像形成装置
11日前
キヤノン株式会社
画像形成装置
15日前
キヤノン株式会社
画像形成装置
11日前
キヤノン株式会社
画像形成装置
4日前
キヤノン株式会社
画像形成装置
9日前
キヤノン株式会社
画像処理装置
8日前
キヤノン株式会社
情報処理装置
15日前
続きを見る
他の特許を見る