TOP
|
特許
|
意匠
|
商標
特許ウォッチ
Twitter
他の特許を見る
公開番号
2025133440
公報種別
公開特許公報(A)
公開日
2025-09-11
出願番号
2024031389
出願日
2024-03-01
発明の名称
冷却貯蔵庫
出願人
ホシザキ株式会社
代理人
弁理士法人暁合同特許事務所
主分類
F25D
21/04 20060101AFI20250904BHJP(冷凍または冷却;加熱と冷凍との組み合わせシステム;ヒートポンプシステム;氷の製造または貯蔵;気体の液化または固体化)
要約
【課題】除霜用ヒータを用いることなく、冷却器の着霜を抑制することが可能な冷却貯蔵庫を提供する。
【解決手段】貯蔵室11と、圧縮機22と、冷却器26と、冷却器室25と、貯蔵室11と冷却器室25との間で空気を循環させる循環ファン27と、冷却器室25及び貯蔵室11の温度を測定する温度センサ29と、冷却器26の温度を測定する冷却器温度センサ30と、制御部40と、を備え、制御部40は、温度センサ29によって測定された貯蔵室11の測定温度が、予め設定された目標設定温度となるように、圧縮機22及び循環ファン27の動作を制御する冷却運転を実行するものとされ、さらに、制御部40は、冷却運転の実行中に、冷却器26の測定温度T1が冷却器室25の測定温度T2よりも第1所定温度X1以上低い状態が、第1所定時間Y1以上継続した場合に、圧縮機22の回転数を低下させる。
【選択図】図4
特許請求の範囲
【請求項1】
貯蔵物が収容される貯蔵室と、
冷媒を圧縮する圧縮機と、
前記圧縮機で圧縮された前記冷媒が蒸発することで周囲の空気を冷却する冷却器と、
前記冷却器が収容される冷却器室と、
前記貯蔵室と前記冷却器室との間で空気を循環させる循環ファンと、
前記冷却器室の温度を測定する冷却器室温度センサと、
前記冷却器の温度を測定する冷却器温度センサと、
前記貯蔵室の温度を測定する貯蔵室温度センサと、
制御部と、を備え、
前記制御部は、前記貯蔵室温度センサによって測定された前記貯蔵室の測定温度が、予め設定された目標設定温度となるように、前記圧縮機及び前記循環ファンの動作を制御する冷却運転を実行するものとされ、
さらに、前記制御部は、前記冷却運転の実行中に、前記冷却器温度センサによって測定された前記冷却器の測定温度が、前記冷却器室温度センサによって測定された前記冷却器室の測定温度よりも第1所定温度以上低い状態が第1所定時間以上継続した場合に、前記圧縮機の回転数を低下させる、冷却貯蔵庫。
続きを表示(約 280 文字)
【請求項2】
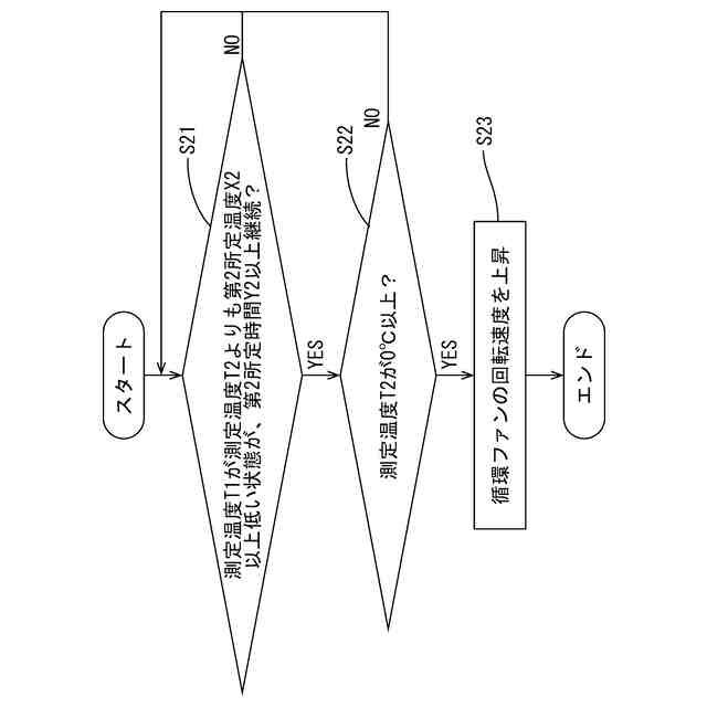
前記制御部は、前記冷却運転の実行中に、前記冷却器の前記測定温度が、前記冷却器室の前記測定温度よりも第2所定温度以上低い状態が第2所定時間以上継続した場合且つ、前記冷却器室の前記測定温度が0℃以上である場合に、前記循環ファンの回転速度を上昇させる、請求項1に記載の冷却貯蔵庫。
【請求項3】
前記制御部は、前記冷却運転の実行中に、前記冷却器の前記測定温度が、前記冷却器室の前記測定温度よりも第3所定温度以上低い状態が第3所定時間以上継続した場合に、前記循環ファンの回転速度を低下させる、請求項1に記載の冷却貯蔵庫。
発明の詳細な説明
【技術分野】
【0001】
本明細書で開示される技術は、冷却貯蔵庫に関する。
続きを表示(約 1,900 文字)
【背景技術】
【0002】
従来、冷却貯蔵庫として、下記特許文献1に記載のものが知られている。この特許文献1に記載された冷却貯蔵庫は、貯蔵物が収容される貯蔵室と、周囲の空気を冷却する冷却器(蒸発器)と、冷却器が収容される冷却器室(冷却室)と、貯蔵室と冷却器室との間で空気を循環させる循環ファン(蒸発器ファン)と、を備え、冷却運転を実行することが可能となっている。冷却運転では、循環ファンによって冷却器室に送られた貯蔵室の空気が、冷却器の周囲を通過する過程で冷却された後、貯蔵室に送られる。これにより、貯蔵室の空気が冷却される。また、冷却運転を実行した場合には、貯蔵室の空気に含まれる水蒸気が冷却器によって冷却される結果、冷却器の表面に霜となって付着し得る。冷却器の表面に霜があると、冷却器とその周囲の空気との熱交換が阻害され、冷却効率が低下する。このため、特許文献1には、除霜用ヒータによって冷却器を加熱することで、冷却器に付着した霜を融解させることが記載されている。
【先行技術文献】
【特許文献】
【0003】
特開2023-89435号公報
【発明の概要】
【発明が解決しようとする課題】
【0004】
しかしながら、特許文献1のように除霜用ヒータを用いて冷却器の除霜を行う方法では、除霜用ヒータを動作させるために電力が必要となり、消費電力が増加してしまう。また、除霜用ヒータを動作させることで、冷却器室の温度が上昇する結果、冷却器室の空気が貯蔵室に送られることで、貯蔵室の温度が上昇してしまう。このため、除霜用ヒータを用いることなく、冷却器の着霜を抑制することが求められている。
【0005】
本明細書で開示される技術は上記のような事情に基づいて完成されたものであって、除霜用ヒータを用いることなく、冷却器の着霜を抑制することが可能な冷却貯蔵庫を提供することを目的とする。
【課題を解決するための手段】
【0006】
上記課題を解決するための手段として、本明細書で開示される冷却貯蔵庫は、貯蔵物が収容される貯蔵室と、冷媒を圧縮する圧縮機と、前記圧縮機で圧縮された前記冷媒が蒸発することで周囲の空気を冷却する冷却器と、前記冷却器が収容される冷却器室と、前記貯蔵室と前記冷却器室との間で空気を循環させる循環ファンと、前記冷却器室の温度を測定する冷却器室温度センサと、前記冷却器の温度を測定する冷却器温度センサと、前記貯蔵室の温度を測定する貯蔵室温度センサと、制御部と、を備え、前記制御部は、前記貯蔵室温度センサによって測定された前記貯蔵室の測定温度が、予め設定された目標設定温度となるように、前記圧縮機及び前記循環ファンの動作を制御する冷却運転を実行するものとされ、さらに、前記制御部は、前記冷却運転の実行中に、前記冷却器温度センサによって測定された前記冷却器の測定温度が、前記冷却器室温度センサによって測定された前記冷却器室の測定温度よりも第1所定温度以上低い状態が第1所定時間以上継続した場合に、前記圧縮機の回転数を低下させることを特徴とする。
【0007】
また、前記制御部は、前記冷却運転の実行中に、前記冷却器の前記測定温度が、前記冷却器室の前記測定温度よりも第2所定温度以上低い状態が第2所定時間以上継続した場合且つ、前記冷却器室の前記測定温度が0℃以上である場合に、前記循環ファンの回転速度を上昇させるものとすることができる。
【0008】
また、前記制御部は、前記冷却運転の実行中に、前記冷却器の前記測定温度が、前記冷却器室の前記測定温度よりも第3所定温度以上低い状態が第3所定時間以上継続した場合に、前記循環ファンの回転速度を低下させるものとすることができる。
【発明の効果】
【0009】
本発明によれば、除霜用ヒータを用いることなく、冷却器の着霜を抑制することが可能な冷却貯蔵庫を提供することができる。
【図面の簡単な説明】
【0010】
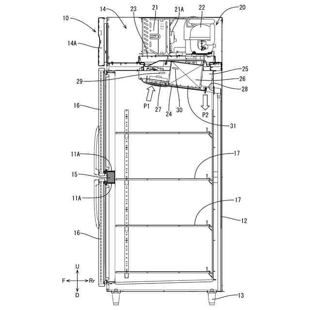
本発明の一実施形態に係る冷却貯蔵庫を示す正面図
冷却貯蔵庫の内部構造を示す断面図
冷却貯蔵庫の電気的構成を示すブロック図
圧縮機に係る制御部の処理を示すフローチャート
循環ファンに係る制御部の処理を示すフローチャート
実施形態2に係る制御部の処理を示すフローチャート
【発明を実施するための形態】
(【0011】以降は省略されています)
この特許をJ-PlatPat(特許庁公式サイト)で参照する
関連特許
ホシザキ株式会社
製氷機
15日前
ホシザキ株式会社
再加熱器
1か月前
ホシザキ株式会社
再加熱器
1か月前
ホシザキ株式会社
再加熱器
1か月前
ホシザキ株式会社
冷却貯蔵庫
9日前
ホシザキ株式会社
冷却貯蔵庫
29日前
ホシザキ株式会社
冷却貯蔵庫
1か月前
ホシザキ株式会社
冷却貯蔵庫
1か月前
ホシザキ株式会社
天板付き機器
15日前
ホシザキ株式会社
液体凍結装置
1か月前
ホシザキ株式会社
真空マイクロ波解凍機
2か月前
タニコー株式会社
貯水槽
1か月前
アクア株式会社
冷蔵庫
1か月前
個人
ヒートポンプ型空気調和機
21日前
ホシザキ株式会社
製氷機
15日前
富士電機株式会社
冷却装置
1か月前
富士電機株式会社
冷却装置
1か月前
富士電機株式会社
冷却装置
14日前
シャープ株式会社
冷蔵庫
1か月前
富士電機株式会社
冷却システム
1か月前
個人
液体窒素凝縮による冷凍サイクル
1か月前
富士ベンダーサービス株式会社
保管庫
23日前
シャープ株式会社
冷却装置
1か月前
三菱重工冷熱株式会社
低温冷水供給装置
21日前
株式会社ゼロカラ
冷凍装置
1か月前
フクシマガリレイ株式会社
ショーケース
2日前
アクア株式会社
冷蔵庫
8日前
FrostiX株式会社
急速冷凍装置
1か月前
シャープ株式会社
冷蔵庫
29日前
ホシザキ株式会社
液体凍結装置
1か月前
シャープ株式会社
冷蔵庫
21日前
島田工業株式会社
製氷装置及び製氷方法
8日前
株式会社アイシン
冷暖房システム
7日前
東芝ライフスタイル株式会社
冷蔵庫
1か月前
タキゲン製造株式会社
冷蔵庫の庫内気圧調整装置
1か月前
株式会社富士通ゼネラル
冷凍サイクル装置
1日前
続きを見る
他の特許を見る