TOP
|
特許
|
意匠
|
商標
特許ウォッチ
Twitter
他の特許を見る
10個以上の画像は省略されています。
公開番号
2025158020
公報種別
公開特許公報(A)
公開日
2025-10-16
出願番号
2024060443
出願日
2024-04-03
発明の名称
情報処理装置、情報処理装置の制御方法およびプログラム
出願人
キヤノン株式会社
代理人
個人
,
個人
,
個人
主分類
G06F
3/12 20060101AFI20251008BHJP(計算;計数)
要約
【課題】情報処理装置からサーバにデータを送信する回数を抑制することを目的とする。
【解決手段】複合機300の部品の状態を示すセンシングデータを蓄積するセンシング部408と、通知対象のイベントの発生に応じて、該イベントを示すイベントデータと、該イベントに関連し蓄積されている一部のセンシングデータとをまとめて送信するための第1制御と、所定のスケジュールで、蓄積されている未送信のセンシングデータを送信するための第2制御を実行するイベント回収部410と、を有し、第1制御では、さらに、蓄積されている未送信のセンシングデータであって、前記イベントに関連しないセンシングデータの少なくとも一部もまとめて送信されるよう制御が実行され、第2制御では、蓄積されている未送信のセンシングデータのデータ量に基づいて、所定のスケジュールでの送信を実行するか判定する。
【選択図】図4
特許請求の範囲
【請求項1】
情報処理装置の部品の状態を示すセンシングデータを蓄積するセンシング部と、
通知対象のイベントの発生に応じて、該イベントを示すイベントデータと、該イベントに関連し蓄積されている一部のセンシングデータとをまとめて送信するための第1制御を実行する第1の制御部と、
所定のスケジュールで、蓄積されている未送信のセンシングデータを送信するための第2制御を実行する第2の制御部と、を有し、
前記第1制御では、さらに、蓄積されている未送信のセンシングデータであって、前記イベントに関連しないセンシングデータの少なくとも一部もまとめて送信されるよう制御が実行され、
前記第2制御では、蓄積されている未送信のセンシングデータのデータ量に基づいて、所定のスケジュールでの送信を実行するか判定することを特徴とする情報処理装置。
続きを表示(約 1,300 文字)
【請求項2】
前記第1制御では、前記イベントに関連し蓄積されている一部のセンシングデータのデータ量と、蓄積されている未送信のセンシングデータであって前記イベントに関連しないセンシングデータのデータ量の合計が所定のデータ量未満である場合に、まとめて送信されるよう制御が実行されることを特徴とする請求項1に記載の情報処理装置。
【請求項3】
前記所定のスケジュールでの送信の対象となっているセンシングデータにはそれぞれ優先度が設定され、
前記第1制御では、前記イベントに関連し蓄積されている一部のセンシングデータのデータ量と、蓄積されている未送信のセンシングデータであって前記イベントに関連しないセンシングデータのデータ量の合計が所定のデータ量未満となるように、前記優先度に基づいてまとめて送信される前記イベントに関連しないセンシングデータを決定することを特徴とする請求項1に記載の情報処理装置。
【請求項4】
前記第2制御では、所定のスケジュールにおいて、前記蓄積されている未送信のセンシングデータのデータ量が所定のデータ量以下で、かつ、前回の該センシングデータの送信から所定の時間が経過していない場合には、送信を行わないことを特徴とする請求項1に記載の情報処理装置。
【請求項5】
前記イベントは、偶発的に発生するエラーまたはジャムであることを特徴とする請求項1に記載の情報処理装置。
【請求項6】
前記所定のスケジュールでの送信の対象となっている前記センシングデータは、前記情報処理装置の不具合を予測するための分析に利用されるデータであることを特徴とする請求項1に記載の情報処理装置。
【請求項7】
前記情報処理装置は、プリンタユニットとスキャナユニットの少なくともいずれかと、複数のセンサーを有する画像処理装置であって、
前記所定のスケジュールでの送信の対象となっている前記センシングデータには、前記プリンタユニットのセンシングデータまたは前記スキャナユニットのセンシングデータが含まれることを特徴とする請求項1に記載の情報処理装置。
【請求項8】
情報処理装置の制御方法であって、
情報処理装置の部品の状態を示すセンシングデータを蓄積する工程と、
通知対象のイベントの発生に応じて、該イベントを示すイベントデータと、該イベントに関連し蓄積されている一部のセンシングデータとをまとめて送信するための第1制御を実行する工程と、
所定のスケジュールで、蓄積されている未送信のセンシングデータを送信するための第2制御を実行する工程と、を有し、
前記第1制御では、さらに、蓄積されている未送信のセンシングデータであって、前記イベントに関連しないセンシングデータの少なくとも一部もまとめて送信されるよう制御が実行され、
前記第2制御では、蓄積されている未送信のセンシングデータのデータ量に基づいて、所定のスケジュールでの送信を実行するか判定することを特徴とする情報処理装置の制御方法。
【請求項9】
請求項8に記載の各工程を情報処理装置のコンピュータに実行させるプログラム。
発明の詳細な説明
【技術分野】
【0001】
本発明は、サーバに情報処理装置内の状態を示す情報を送信する情報処理装置、情報処理装置の制御方法およびプログラムに関する。
続きを表示(約 2,400 文字)
【背景技術】
【0002】
従来、情報処理装置の稼働に伴い発生する障害情報や、装置を構成する部品毎の稼働状態を示すカウンタ情報などを含むイベント情報を、情報処理装置から外部のサーバに送信することが行われている。これに加えて、情報処理装置は部品毎の状態をセンシングし、センシングデータとして管理サーバに送信することもできる。サーバは、情報処理装置から収集した情報に基づいて情報処理装置を管理し、装置の状態を推定したり、保守の必要性を判断したりする。例えば、装置のエラーが発生した場合に、エラーコードのような発生箇所を示す情報にその箇所に関係する部品のセンシングデータを付与して即時にサーバに送信することにより、より的確で迅速な保守を実施することができる。また、不具合が発生していなくても情報処理装置からセンシングデータを定期的に送信し、サーバにて管理している他の情報処理装置のセンシングデータの傾向と比較することで、不具合発生の予兆を予測することに役立てることもできる。装置内のセンシングデータの送信処理では、送信タイミングや送信回数を適切に制御しないと、装置内の記憶領域を圧迫したり、送信する前のセンシングデータを保存しきれずにその一部を失ったりするなどの不都合を起こすことがある。その一方で、サーバに対して1回で送信できるデータ量に制約がある場合もある。また、サーバに対するデータ送信を必要以上に頻繁に行うと、通信にかかる費用が増大する。特許文献1は、画像形成装置において所定期間内に検知された複数のイベントに同じイベントIDを設定して1度送信されたイベント関連情報を対応させることで、当該複数のイベントの全てに対応してイベント関連情報を送信しない技術を開示している。
【先行技術文献】
【特許文献】
【0003】
特開2010-178280号公報
【発明の概要】
【発明が解決しようとする課題】
【0004】
しかしながら、特許文献1の方法では、付随情報であるイベント関連情報の重複送信を抑制することはできるが、イベント毎の送信回数を減らすことはできない。
【0005】
本発明は、情報処理装置からサーバにデータを送信する回数を抑制することを目的とする。
【課題を解決するための手段】
【0006】
上記課題を解決するために、本発明の情報処理装置は、情報処理装置の部品の状態を示すセンシングデータを蓄積するセンシング部と、通知対象のイベントの発生に応じて、該イベントを示すイベントデータと、該イベントに関連し蓄積されている一部のセンシングデータとをまとめて送信するための第1制御を実行する第1の制御部と、所定のスケジュールで、蓄積されている未送信のセンシングデータを送信するための第2制御を実行する第2の制御部と、を有し、前記第1制御では、さらに、蓄積されている未送信のセンシングデータであって、前記イベントに関連しないセンシングデータの少なくとも一部もまとめて送信されるよう制御が実行され、前記第2制御では、蓄積されている未送信のセンシングデータのデータ量に基づいて、所定のスケジュールでの送信を実行するか判定する。
【発明の効果】
【0007】
本発明によれば、情報処理装置からサーバにデータを送信する回数を抑制することができる。
【図面の簡単な説明】
【0008】
システム全体の構成を示す図である。
データ収集サーバのハードウェア構成を示す図である。
複合機のハードウェア構成を示す図である。
複合機のソフトウェア構成を示す図である。
送付イベントと送付タイミングとを指定する通知設定のJSON形式のサンプルを示す図である。
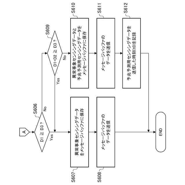
第1実施形態における異常事象イベントの送信処理を示すフローチャートである。
第1実施形態における異常事象イベントの送信処理を示すフローチャートである。
第1実施形態における定期送信イベントの送信処理を示すフローチャートである。
第1実施形態における定期送信イベントの送信処理を示すフローチャートである。
第2実施形態における異常事象イベントの送信処理を示すフローチャートである。
第2実施形態における異常事象イベントの送信処理を示すフローチャートである。
【発明を実施するための形態】
【0009】
(第1実施形態)
図1は、管理対象の情報処理装置からデータを収集して管理するシステム全体の構成を示す図である。システムは、データ収集サーバ200と管理対象の情報処理装置である複合機300を含む。データ収集サーバ200は、インターネット上のノードとしてアクセス可能に配置され、ネットワークを通じて複数の複合機300と接続される。複合機300は、データ収集サーバ200により管理される画像処理装置である。
【0010】
ネットワーク100は、ローカルネットワーク(LAN)として稼働し、複合機300が接続されている。ネットワーク100は、ファイヤウォールを介してインターネット環境であるネットワーク110に接続されるイントラネット環境である。ネットワーク110は、インターネット環境である。なお、各ネットワークはデータの送受信が可能に構成されていればよく、通信方式は問わない。例えば、LAN、WANなどの通信ネットワークの他、LTEや5Gなどのセルラネットワーク、無線ネットワーク、電話回線、専用デジタル回線等のいずれか、またはこれらの組み合わせで構成されてもよい。
(【0011】以降は省略されています)
この特許をJ-PlatPat(特許庁公式サイト)で参照する
関連特許
キヤノン株式会社
トナー
11日前
キヤノン株式会社
トナー
11日前
キヤノン株式会社
トナー
11日前
キヤノン株式会社
トナー
16日前
キヤノン株式会社
記録装置
16日前
キヤノン株式会社
現像装置
9日前
キヤノン株式会社
撮影装置
9日前
キヤノン株式会社
現像容器
9日前
キヤノン株式会社
現像装置
9日前
キヤノン株式会社
現像装置
2日前
キヤノン株式会社
撮像装置
16日前
キヤノン株式会社
記録装置
9日前
キヤノン株式会社
電子機器
18日前
キヤノン株式会社
定着装置
10日前
キヤノン株式会社
撮像装置
12日前
キヤノン株式会社
測距装置
4日前
キヤノン株式会社
現像容器
9日前
キヤノン株式会社
現像剤容器
17日前
キヤノン株式会社
光学センサ
11日前
キヤノン株式会社
モジュール
11日前
キヤノン株式会社
半導体装置
18日前
キヤノン株式会社
画像形成装置
9日前
キヤノン株式会社
画像形成装置
10日前
キヤノン株式会社
画像形成装置
5日前
キヤノン株式会社
画像形成装置
3日前
キヤノン株式会社
画像形成装置
16日前
キヤノン株式会社
画像形成装置
16日前
キヤノン株式会社
画像形成装置
10日前
キヤノン株式会社
画像処理装置
9日前
キヤノン株式会社
画像形成装置
16日前
キヤノン株式会社
画像形成装置
12日前
キヤノン株式会社
画像形成装置
12日前
キヤノン株式会社
吐出素子基板
16日前
キヤノン株式会社
画像形成装置
12日前
キヤノン株式会社
画像形成装置
12日前
キヤノン株式会社
画像形成装置
12日前
続きを見る
他の特許を見る