TOP
|
特許
|
意匠
|
商標
特許ウォッチ
Twitter
他の特許を見る
公開番号
2025158131
公報種別
公開特許公報(A)
公開日
2025-10-16
出願番号
2025122119,2021078555
出願日
2025-07-22,2021-05-06
発明の名称
ファン付きウェアのウェア本体及びファン付きウェア
出願人
株式会社セフト研究所
代理人
個人
,
個人
主分類
A41D
13/002 20060101AFI20251008BHJP(衣類)
要約
【課題】ファン使用時には雨除けの効果を得ることもでき、ファン不使用にファンを取り外した後のファン取付孔が目立たなく、ファン使用時と不使用時の切り換えが容易なファン付きウェア用のウェア本体及びファン付きウェアを提供する。
【解決手段】ファン2を取り付けるための取付孔13と、空気を排出する空気排出部14と、を備えたファン付きウェア100のウェア本体1であって、ウェア本体1の外面側から取付孔13を覆い、開口部171が形成されたファンカバー17と、開口部171の開口面積を調整する調整部材18と、を備え、調整部材18は、長手方向の一端が開口部171の近傍の服地C又はファンカバー17に固定されるとともに長手方向の他端が服地Cに着脱可能に固定されるため、調整部材18の他端の固定位置により開口部171の開口面積が調整される。
【選択図】図2A
特許請求の範囲
【請求項1】
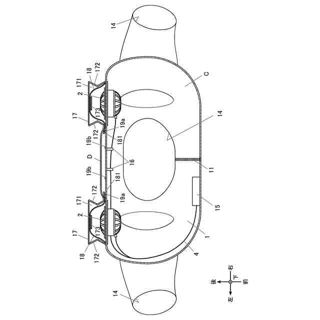
通気性のない又はファンによる空気の導入によって膨らませることができる程度の通気性を有する服地によって、少なくとも着用者の胴部を覆う形状に形成され、
前記ファンを取り付けるための取付孔と、
前記ファンによって導入された空気を排出する空気排出部と、
を備えたファン付きウェアのウェア本体であって、
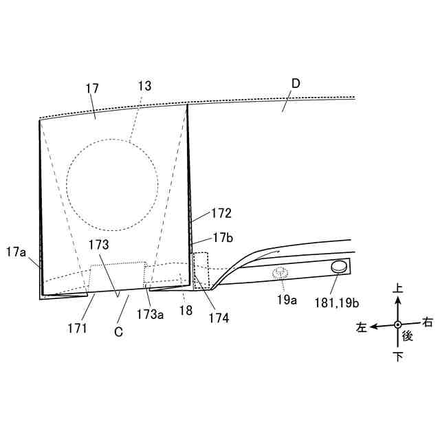
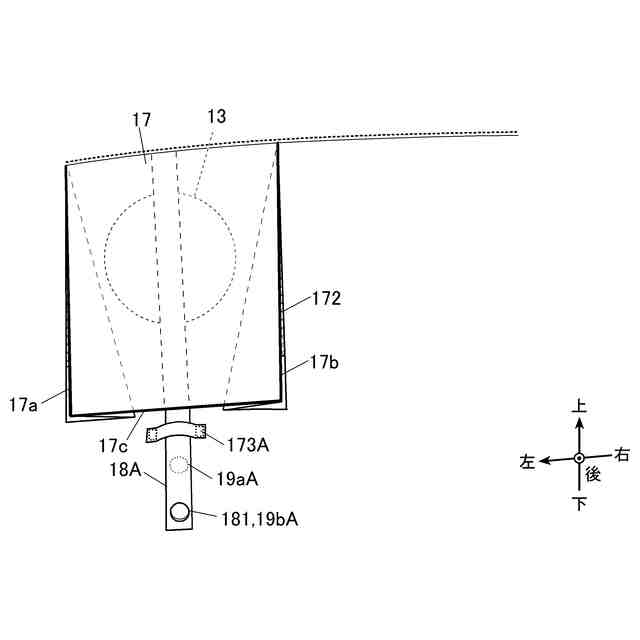
当該ウェア本体の外面側から前記取付孔を覆い、前記服地との間に前記取付孔へと通じる開口部が形成されたファンカバーと、
前記開口部の開口面積を調整する調整部材と、
を備え、
前記ファンカバーは、当該ウェア本体の厚み方向の寸法を調整可能な襠部を備え、
前記調整部材は、長手方向の一端が前記服地又は前記ファンカバーに固定されるとともに長手方向の他端が服地に着脱可能に固定され、前記調整部材の前記他端の固定位置により前記開口部の開口面積が調整されることを特徴とするファン付きウェアのウェア本体。
続きを表示(約 840 文字)
【請求項2】
前記調整部材は、帯状の部材であり、
前記ファンカバーの前記開口部の縁部に沿う位置、または前記開口部に対して略直行するように配置されていることを特徴とする請求項1に記載のファン付きウェアのウェア本体。
【請求項3】
前記ファンカバーは、前記開口部の縁部、または前記開口部に対して略直行する位置に、前記調整部材を保持する保持部材を備えることを特徴とする請求項2に記載のファン付きウェアのウェア本体。
【請求項4】
前記保持部材は、前記調整部材を貫通させる貫通孔を有し、
前記調整部材は、前記貫通孔に通されることを特徴とする請求項3に記載のファン付きウェアのウェア本体。
【請求項5】
前記服地に、前記調整部材の長手方向の他端に設けられた係止部が係止される被係止部を備え、
前記被係止部は、第1被係止部と、前記第1被係止部よりも前記ファンカバーからより遠い位置に設けられた第2被係止部とを備えることを特徴とする請求項2から4のいずれ一項に記載のファン付きウェアのウェア本体。
【請求項6】
前記ファンカバーは、シート状部材によって、前記取付孔の左右及び上方において前記服地に接続するようにして形成され、
前記取付孔の下方の前記服地と前記ファンカバーとの間に、前記開口部が形成されていることを特徴とする請求項1から5のいずれか一項に記載のファン付きウェアのウェア本体。
【請求項7】
前記襠部の少なくとも一部は、網状となっていることを特徴とする請求項1から6のいずれか一項に記載のファン付きウェアのウェア本体。
【請求項8】
請求項1から7のいずれか一項に記載のファン付きウェアのウェア本体と、
前記ウェア本体の内部に空気を導入するファンと、
前記ファンに電力を供給する電源と、
を備えることを特徴とするファン付きウェア。
発明の詳細な説明
【技術分野】
【0001】
本発明は、身体又は下着の表面に空気の流れを発生させることによって身体を冷却するファン付きウェア及びファン付きウェアのウェア本体に関する。
続きを表示(約 1,600 文字)
【背景技術】
【0002】
近年、身体又は下着の表面と略平行に大量の外気を流通させることにより身体から出た汗を蒸発させて、身体を冷却するファン付きウェアが実用化されている(例えば、特許文献1参照)。
【0003】
このようなファン付きウェアのウェア本体は、身体を冷却する必要のない場合においても、ファンを取り付けずに通常の上衣として使用できるようにすることで、通年に亘って使用可能であることが好ましい。しかし、ウェア本体は、ファンを取り付けるための取付孔を有することから、ファンを取り付けずに使用する場合、この取付孔が、外観上の障害となる。
【0004】
そこで、取付孔を覆うファンカバーを取り付けて、取付孔を目立たなくしたウェア本体が知られている(例えば、特許文献2参照)。
かかるファンカバーの下端には、空気を取り入れるための開口部が設けられ、ファン使用時には、開口部の面積確保のため、樹脂などで形成された補強部材が別途取り付けられる。このような構成によれば、ファンがウェアから外部に直接露出することがないため、雨天時において雨が直接ファンに当たることを防ぐことでき、アウトドア活動等にも好適に使用できる。
【先行技術文献】
【特許文献】
【0005】
特開2015-74852号
特開2020-147887号
【発明の概要】
【発明が解決しようとする課題】
【0006】
しかしながら、特許文献2の発明では、ファンを使用するかしないかにより補強部材を取り付けたり、取り外したりする必要があるため、煩雑であった。
【0007】
本発明の目的は、ファン使用時には雨除けの効果を得ることもでき、ファン不使用にファンを取り外した後のファン取付孔が目立たなく、ファン使用時と不使用時の切り換えが容易なファン付きウェア用のウェア本体及びファン付きウェアを提供することである。
【課題を解決するための手段】
【0008】
上記目的を達成するため、請求項1に記載の発明は、ファン付きウェアのウェア本体であって、
通気性のない又はファンによる空気の導入によって膨らませることができる程度の通気性を有する服地によって、少なくとも着用者の胴部を覆う形状に形成され、
前記ファンを取り付けるための取付孔と、
前記ファンによって導入された空気を排出する空気排出部と、
を備えたファン付きウェアのウェア本体であって、
当該ウェア本体の外面側から前記取付孔を覆い、前記服地との間に前記取付孔へと通じる開口部が形成されたファンカバーと、
前記開口部の開口面積を調整する調整部材と、
を備え、
前記ファンカバーは、当該本体の厚み方向の寸法を調整可能な襠部を備え、
前記調整部材は、長手方向の一端が前記服地又は前記ファンカバーに固定されるとともに長手方向の他端が服地に着脱可能に固定され、前記調整部材の前記他端の固定位置により前記開口部の開口面積が調整されることを特徴とする。
【0009】
請求項2に記載の発明は、請求項1に記載のファン付きウェアのウェア本体であって、
前記調整部材は、帯状の部材であり、
前記ファンカバーの前記開口部の縁部に沿う位置、または前記開口部に対して略直行するように配置されていることを特徴とする。
【0010】
請求項3に記載の発明は、請求項2に記載のファン付きウェアのウェア本体であって、
前記ファンカバーは、前記開口部の縁部、または前記開口部に対して略直行する位置に、前記調整部材を保持する保持部材を備えることを特徴とする。
(【0011】以降は省略されています)
この特許をJ-PlatPat(特許庁公式サイト)で参照する
関連特許
株式会社セフト研究所
衣服
5日前
株式会社セフト研究所
ファン付きウェアのウェア本体及びファン付きウェア
6日前
株式会社セフト研究所
ファン付きウェアのウェア本体及びファン付きウェア
22日前
個人
和服
5か月前
個人
衿芯
3か月前
個人
シャツ
1か月前
個人
ネクタイ
1か月前
個人
二部式袍
9か月前
個人
衣装
6か月前
個人
靴下
10か月前
個人
下着
4か月前
個人
マスク
1か月前
個人
多機能装身具
1か月前
個人
簡単帯
10か月前
個人
健康靴下
10か月前
個人
手首穴付き手袋
10か月前
個人
シャツ改造方法
6か月前
個人
作業補助ミトン
8か月前
東レ株式会社
防護服
15日前
個人
:マスクカバー
2か月前
個人
ショーツ
10か月前
個人
肩章付き衣服。
4か月前
東洋紡株式会社
マスク
21日前
個人
足首用サポーター
8か月前
株式会社聖
手足保護具
9か月前
個人
手袋
7か月前
個人
内フィルムマスク
23日前
個人
車椅子用グローブ
2か月前
株式会社聖
手足保護具
8日前
有限会社原電業
指手袋
10か月前
個人
ソフトキャミブラ
6か月前
個人
レインコート
5か月前
個人
被介護者用上衣
3か月前
興和株式会社
マスク
8か月前
株式会社マルイチ
二部式帯
15日前
グンゼ株式会社
衣服
5か月前
続きを見る
他の特許を見る