TOP
|
特許
|
意匠
|
商標
特許ウォッチ
Twitter
他の特許を見る
10個以上の画像は省略されています。
公開番号
2025158732
公報種別
公開特許公報(A)
公開日
2025-10-17
出願番号
2024061574
出願日
2024-04-05
発明の名称
シザーズギア、アクチュエータ及び反力付与装置
出願人
株式会社デンソー
代理人
弁理士法人服部国際特許事務所
主分類
F16H
55/18 20060101AFI20251009BHJP(機械要素または単位;機械または装置の効果的機能を生じ維持するための一般的手段)
要約
【課題】共通のギアを用いて付勢方向を反転させることができるシザーズギアを提供する。
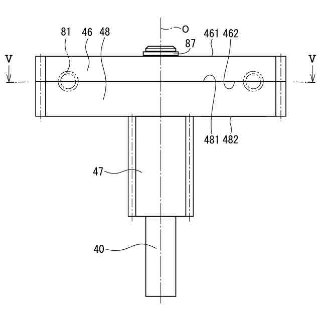
【解決手段】バックラッシを除去するシザーズギアにおいて、出力伝達ギア48は、相手ギアと噛み合い、軸を中心として回転可能である。付勢ギア46は、出力伝達ギア48と共に相手ギアと噛み合い、出力伝達ギア48に随伴して回転する。スプリング81(付勢部材)は、出力伝達ギア48と付勢ギア46との間に設けられ、出力伝達ギア48を付勢ギア46に対して一方向に相対回転させるように付勢する。出力伝達ギア48及び付勢ギア46は、それぞれスプリング81の荷重を受ける荷重受け部487、488、465、466を有する。出力伝達ギア48又は付勢ギア46の少なくとも一方は、出力伝達ギア48を付勢ギア46に対して第1方向、及び、第1方向とは反対の第2方向に相対回転させるように付勢するスプリング81の荷重を受ける複数の荷重受け部を有する。
【選択図】図5
特許請求の範囲
【請求項1】
相手ギアと噛み合い、軸を中心として回転可能な出力伝達ギア(48、38)と、
前記出力伝達ギアと共に前記相手ギアと噛み合い、前記出力伝達ギアに随伴して回転する付勢ギア(46、36)と、
前記出力伝達ギアと前記付勢ギアとの間に設けられ、前記出力伝達ギアを前記付勢ギアに対して一方向に相対回転させるように付勢する一つ以上の付勢部材(81-89)と、
を備え、前記出力伝達ギアのバックラッシを除去するシザーズギアであって、
前記出力伝達ギア及び前記付勢ギアは、それぞれ前記付勢部材の荷重を受ける荷重受け部(487、488、465、466、387、388、365、366)を有し、
前記出力伝達ギア又は前記付勢ギアの少なくとも一方は、
前記出力伝達ギアを前記付勢ギアに対して第1方向、及び、前記第1方向とは反対の第2方向に相対回転させるように付勢する前記付勢部材の荷重を受ける複数の前記荷重受け部を有するシザーズギア。
続きを表示(約 1,500 文字)
【請求項2】
前記出力伝達ギア又は前記付勢ギアの少なくとも一方に、前記付勢部材の組付け位置での前記付勢部材の有無を外部から視認可能な視認穴(464)が形成されている請求項1に記載のシザーズギア。
【請求項3】
前記出力伝達ギアの板厚は、前記付勢ギアの板厚に対して大きく設定されている請求項1に記載のシザーズギア。
【請求項4】
前記出力伝達ギア及び前記付勢ギアは、共通のシャフト(40、30)を中心として回転する請求項1に記載のシザーズギア。
【請求項5】
前記出力伝達ギア及び前記付勢ギアの各前記荷重受け部は、それぞれギアの回転中心を通る平面に沿って、前記付勢部材の荷重を受ける受け面(Sa1、Sa2、Sb1、Sb2)が形成されている請求項1に記載のシザーズギア。
【請求項6】
外力に対する反力を一方向に出力可能なアクチュエータであって、
ハウジング(11)と、
駆動力を出力する駆動ギア(22)を有する駆動源(20)と、
前記駆動源からの駆動力を減速する減速機(4)と、を備え、
前記減速機は、
前記ハウジングに支持された出力軸(30)を中心として回転可能な出力ギア(33、33R)、及び、前記駆動ギア及び前記出力ギアに噛み合い、前記ハウジングに支持された中間軸(40)を中心として回転可能である中間ギア(44)を有し、
前記出力ギア又は前記中間ギアの少なくとも一方は、請求項1~5のいずれか一項に記載のシザーズギアで構成されているアクチュエータ。
【請求項7】
アクセル装置(701、702)において運転者が踏込操作するペダル(72)に対し、運転者の踏込力に応じた反力を付与可能な反力付与装置であって、
請求項6に記載のアクチュエータ(10)と、
前記アクチュエータの前記出力軸と一体に回転し、前記ペダルの戻し方向に反力を付与する荷重伝達部材(60)と、
を備える反力付与装置。
【請求項8】
相手ギアと噛み合い、軸を中心として回転可能な出力伝達ギア(48)と、
前記出力伝達ギアと共に前記相手ギアと噛み合い、前記出力伝達ギアに随伴して回転する付勢ギア(46)と、
前記出力伝達ギア及び前記付勢ギアにおいて互いに対向する対向面(481、462)に凹設されたスプリング溝(483、463)の少なくとも一方に収容され、ギアの周方向に圧縮されて前記出力伝達ギアを前記付勢ギアに対して一方向に相対回転させるように付勢する一つ以上のコイル状のスプリング(81)と、
が組付けられ、前記出力伝達ギアのバックラッシを除去するシザーズギアであって、
前記スプリング溝のギア周方向の長さは前記スプリングの自由長より大きく、前記スプリング溝のギア径方向の幅は前記スプリングの外径より大きいシザーズギア。
【請求項9】
前記スプリング溝の深さは前記スプリングの外径より小さい請求項8に記載のシザーズギア。
【請求項10】
前記出力伝達ギア及び前記付勢ギアは、それぞれ前記スプリングの荷重を受ける荷重受け部(487、465)を有し、
前記出力伝達ギア又は前記付勢ギアの少なくとも一方は、前記荷重受け部を構成する壁が前記対向面から突出し、組付け時に他方のギアの前記スプリング溝に挿入される突起部(489、467)をなしている請求項8に記載のシザーズギア。
(【請求項11】以降は省略されています)
発明の詳細な説明
【技術分野】
【0001】
本発明は、シザーズギア、アクチュエータ及び反力付与装置に関する。
続きを表示(約 1,200 文字)
【背景技術】
【0002】
従来、一般にバックラッシを除去するギアとしてシザーズギアが知られている。
【0003】
例えば特許文献1に開示されたシザーズギアは、同軸上に配置された2枚のギアの間にバネが内蔵されている。
【0004】
また従来、運転者により踏込操作されるペダルを備えるアクセル装置のペダルに対し、運転者の踏込力に対する反力を付与可能な反力付与装置が知られている。例えば特許文献2の反力付与装置は、ペダルに対する反力を発生させるアクチュエータを備えている。
【先行技術文献】
【特許文献】
【0005】
実開昭55-158349号
欧州特許出願公開第2607139号明細書
【発明の概要】
【発明が解決しようとする課題】
【0006】
特許文献2のアクチュエータでは、トーションスプリングによって、減速機に接続されたレバーがアクセルペダルレバーに常時当接するよう付勢されている。そのため、アクセル操作時、内部のギアもペダル操作に合わせて駆動される。この構成では、駆動時にギアのバックラッシによる遊びにより、異音の発生や荷重伝達遅れが生じるおそれがある。
【0007】
特許文献1等に開示された一般のシザーズギアは、付勢される側の「被付勢ギア」を、付勢する側の「付勢ギア」の荷重受け面に当接させる構造である。特許文献2のアクチュエータに適用した場合、シザーズギアの付勢方向はアクチュエータの出力方向に対し一方向に決まる。アクチュエータの出力方向が逆の場合、シザーズギアの付勢方向を逆にする必要があるため、ギアの種類が増え、管理工数が増加する。
【0008】
特許文献1には、2枚のギアの合わせ部に設けられた空間にC字状のバネを設け、バネの両端が各ギアの小穴に係止される構造とすることにより、組付けが容易になると記載されている。一方、ギアの周方向にコイル状のスプリングが圧縮される構造のシザーズギアの組付けを容易とすることについて、特許文献1には何ら記載されていない。
【0009】
本発明の目的は、共通のギアを用いて付勢方向を反転させることができるシザーズギアを提供することにある。また本発明の目的は、そのシザーズギアが適用されるアクチュエータ、及び、そのアクチュエータを用いた反力付与装置を提供することにある。
【0010】
別発明の目的は、コイル状のスプリングがギアの周方向に圧縮される構造で、組付けが容易なシザーズギアを提供することにある。また別発明の目的は、そのシザーズギアが適用されるアクチュエータ、及び、そのアクチュエータを用いた反力付与装置を提供することにある。
【課題を解決するための手段】
(【0011】以降は省略されています)
この特許をJ-PlatPat(特許庁公式サイト)で参照する
関連特許
株式会社デンソーウェーブ
筐体
4日前
株式会社デンソー
回転機
4日前
株式会社デンソー
車載器
17日前
株式会社デンソー
電子装置
12日前
株式会社デンソーエレクトロニクス
発音装置
21日前
株式会社デンソー
反力装置
11日前
株式会社デンソー
ねじ部材
17日前
株式会社デンソー
電子装置
11日前
株式会社デンソー
電子装置
21日前
株式会社デンソー
ステータ
17日前
株式会社デンソー
検出装置
3日前
株式会社デンソー
ステータ
17日前
株式会社デンソー
農業用装置
13日前
株式会社デンソー
レーダ装置
10日前
株式会社デンソー
電流センサ
4日前
株式会社デンソー
レーダ装置
21日前
株式会社デンソーテン
インバータ
11日前
株式会社デンソー
半導体装置
17日前
株式会社デンソー
電子制御装置
21日前
株式会社デンソー
運航管理装置
10日前
株式会社デンソー
電力変換装置
13日前
株式会社デンソー
電気化学セル
21日前
株式会社デンソー
電圧検出回路
13日前
株式会社デンソー
車両制御装置
11日前
株式会社デンソー
運転支援装置
12日前
株式会社デンソー
車載システム
11日前
株式会社デンソー
ステータコア
24日前
株式会社デンソー
車載システム
11日前
株式会社デンソー
衝突予測装置
12日前
株式会社デンソー
電子制御装置
17日前
株式会社デンソーテン
車載映像装置
17日前
株式会社デンソー
衝突予測装置
12日前
株式会社デンソー
電力変換装置
17日前
株式会社デンソー
電波吸収装置
21日前
株式会社デンソー
電力変換装置
5日前
株式会社デンソーエアクール
換気空調装置
18日前
続きを見る
他の特許を見る