TOP
|
特許
|
意匠
|
商標
特許ウォッチ
Twitter
他の特許を見る
10個以上の画像は省略されています。
公開番号
2025148265
公報種別
公開特許公報(A)
公開日
2025-10-07
出願番号
2025033751
出願日
2025-03-04
発明の名称
光伝送システムおよび方法
出願人
日本電気株式会社
代理人
個人
,
個人
主分類
H04J
14/00 20060101AFI20250930BHJP(電気通信技術)
要約
【課題】光伝送システムが適切に機能しているかどうかを決定するための光伝送システム及び方法を提供する。
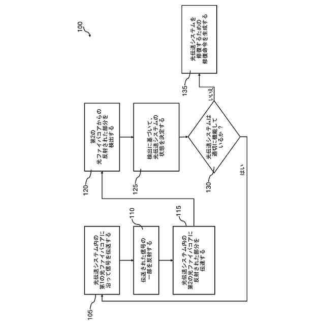
【解決手段】光伝送システムは、マルチコアファイバ(MCF)の第1の光ファイバコアに光信号を出力するように構成されたトランシーバと、第1の光ファイバコアに近接し、MCF内にあり、また第1の光ファイバコアか光信号の反射された部分のクロストークを受信するように構成された第2の光ファイバコアと、光信号の反射された部分のクロストークを受信し、光信号の反射された部分のクロストークに基づいて検出データを生成するように構成された検出器と、検出データに関する情報を受信し、検出データに基づいて、前記光伝送システムが適切に機能しているかどうかを決定するように構成されたコントローラとを備える。
【選択図】図1
特許請求の範囲
【請求項1】
光伝送システムであって、
第1の光ファイバコアに光信号を出力するように構成されたトランシーバと、
前記第1の光ファイバコアに接続されており、前記光信号の強度を高めるように構成されたリピータと、
前記第1の光ファイバコアに近接し、前記第1の光ファイバコアからクロストークを受信するように構成され、また、前記光信号の前記クロストークの一部を反射して前記トランシーバに戻すように構成された第2の光ファイバコアと、
前記光信号の前記クロストークの前記反射された部分を受信するように、また前記光信号の前記クロストークの前記反射された部分に基づいて検出データを受信するように構成された検出器と、
前記検出データに関する情報を受信するように、
前記検出データに基づいて、前記光伝送システムが適切に機能しているかどうかを決定するように、また
前記光伝送システムが適切に機能していないと決定したことに応答して、前記光伝送システムにおける障害の位置を決定するように
構成されたコントローラと
を備える、光伝送システム。
続きを表示(約 990 文字)
【請求項2】
前記第1の光ファイバコアおよび前記第2の光ファイバコアに接続されたリピータをさらに備え、前記リピータが前記光信号の強度を高めるように構成される、請求項1に記載の光伝送システム。
【請求項3】
前記リピータがマルチコアエルビウム添加ファイバ(EDF)である、請求項2に記載の光伝送システム。
【請求項4】
前記リピータがシングルコアエルビウム添加ファイバ(EDF)である、請求項2に記載の光伝送システム。
【請求項5】
前記第1の光ファイバコアまたは前記第2の光ファイバコアの少なくとも一方にグレーティングをさらに備える、請求項1または2に記載の光伝送システム。
【請求項6】
前記第1の光ファイバコアと前記リピータとの間にファンインファンアウト(FIFO)デバイスをさらに備える、請求項2から4のいずれか一項に記載の光伝送システム。
【請求項7】
前記第1の光ファイバコアと前記リピータとの間のインターフェースが、前記光信号の前記一部を反射するように構成される、請求項2から4のいずれか一項に記載の光伝送システム。
【請求項8】
前記第1の光ファイバコアと前記第2の光ファイバコアとは、マルチコアファイバ(MCF)内にある、請求項1に記載の光伝送システム。
【請求項9】
前記第1の光ファイバコアは、シングルコアファイバ(SCF)内にある請求項3に記載の光伝送システム。
【請求項10】
光伝送システムの性能を決定する方法であって、
第1の光ファイバコアに沿って光信号を伝送することと、
前記光信号の一部を反射することと、
前記光信号の前記反射された部分を第2の光ファイバコアに、前記第1の光ファイバコアと前記第2の光ファイバコアとの間のクロストークを介して送達することと、
前記光信号の前記反射された部分の前記クロストークを検出して、検出データを生成することと、
前記検出データに基づいて前記光伝送システムの前記性能を決定することと、
前記光伝送システムが適切に実行されていないという決定に応答して、前記光伝送システムにおける障害の位置を識別することと
を含む、方法。
発明の詳細な説明
【技術分野】
【0001】
光伝送システムは、長距離にわたってデータを伝送するために使用可能である。場合によっては、光伝送システムは、海底に沿って配置された光ファイバを介した大陸間データ伝送に使用される。場合によっては、光伝送システムの監視は、反射光のリピータ出力または光時間領域反射計(ODTR:optical time domain reflectometer)技術を使用して実行される。これらのシステムは、光ファイバに沿って伝送された光信号の一部を光信号のソースにおける検出器に戻すための回路を利用する。戻り光は、光伝送システムが適切に機能しているかどうかを決定するために分析される。
続きを表示(約 3,200 文字)
【背景技術】
【0002】
いくつかの光伝送システムは、光信号を搬送するためにシングルコアファイバ(SCF:single core fiber)を使用する。いくつかの光伝送システムは、光信号を搬送するためにマルチコアファイバ(MCF:multi core fiber)を使用する。場合によっては、光信号の一部を検出器に戻すための回路を実装するためにMCFを使用する光伝送システムでは、ファンインファンアウト(FIFO:fan-in-fan-out)構造が使用される。
【発明の概要】
【発明が解決しようとする課題】
【0003】
光伝送システムが適切に機能しているかどうかを決定する技術の改善が望まれている。
【課題を解決するための手段】
【0004】
本明細書の一態様は、光伝送システムであって、第1の光ファイバコアに光信号を出力するように構成されたトランシーバと、前記第1の光ファイバコアに接続されており、前記光信号の強度を高めるように構成されたリピータと、前記第1の光ファイバコアに近接し、前記第1の光ファイバコアからクロストークを受信するように構成され、また、前記光信号の前記クロストークの一部を反射して前記トランシーバに戻すように構成された第2の光ファイバコアと、前記光信号の前記クロストークの前記反射された部分を受信するように、また前記光信号の前記クロストークの前記反射された部分に基づいて検出データを受信するように構成された検出器と、前記検出データに関する情報を受信するように、前記検出データに基づいて、前記光伝送システムが適切に機能しているかどうかを決定するように、また前記光伝送システムが適切に機能していないと決定したことに応答して、前記光伝送システムにおける障害の位置を決定するように構成されたコントローラとを備える、光伝送システムである。
【0005】
本明細書の一態様は、光伝送システムであって、マルチコアファイバ(MCF)の第1の光ファイバコアに光信号を出力するように構成されたトランシーバであって、前記第1の光ファイバコアが、前記光信号の一部を反射して前記トランシーバに戻すように構成される、トランシーバと、前記第1の光ファイバコアに近接し、前記MCF内にあり、また前記第1の光ファイバコアから前記光信号の前記反射された部分のクロストークを受信するように構成された第2の光ファイバコアと、前記光信号の前記反射された部分の前記クロストークを受信するように、また、前記光信号の前記反射された部分の前記クロストークに基づいて検出データを生成するように構成された検出器と、前記検出データに関する情報を受信するように、前記検出データに基づいて、前記光伝送システムが適切に機能しているかどうかを決定するように、また前記光伝送システムが適切に機能していないと決定したことに応答して、前記光伝送システムにおける障害の位置を決定するように構成されたコントローラとを備える、光伝送システムである。
【0006】
本明細書の一態様は、光伝送システムの性能を決定する方法であって、第1の光ファイバコアに沿って光信号を伝送することと、前記光信号の一部を反射することと、前記光信号の前記反射された部分を第2の光ファイバコアに、前記第1の光ファイバコアと前記第2の光ファイバコアとの間のクロストークを介して送達することと、前記光信号の前記反射された部分の前記クロストークを検出して、検出データを生成することと、前記検出データに基づいて前記光伝送システムの前記性能を決定することと、前記光伝送システムが適切に実行されていないという決定に応答して、前記光伝送システムにおける障害の位置を識別することとを含む、方法である。
【図面の簡単な説明】
【0007】
本開示の態様は、添付の図面と併せて読むと、以下の詳細な説明から最もよく理解される。業界の標準的な慣行に従って、様々な特徴は縮尺通りに描かれていないことに留意されたい。実際、様々な特徴の寸法は、説明を明確にするために任意に増大または低減することができる。
いくつかの実施形態による、光伝送システムを使用する方法のフローチャートである。
いくつかの実施形態による、光伝送システムの概略図である。
いくつかの実施形態による、光伝送システムにおける検出器の出力のグラフである。
いくつかの実施形態による、光伝送システムの概略図である。
いくつかの実施形態による、光伝送システムにおける検出器の出力のグラフである。
いくつかの実施形態による、ファンインファンアウト(FIFO)デバイスの概略図である。
いくつかの実施形態による、光伝送システムの概略図である。
いくつかの実施形態による、光伝送システムにおける検出器の出力のグラフである。
いくつかの実施形態による、光伝送システムの概略図である。
いくつかの実施形態による、光伝送システムにおける検出器の出力のグラフである。
いくつかの実施形態による、光伝送システムで使用可能なコントローラのブロック図である。
【発明を実施するための形態】
【0008】
以下の開示は、提供される主題の異なる特徴を実装するための多くの異なる実施形態または例を提供する。本開示を簡略化するために、構成要素、値、動作、材料、配置などの具体例を後述する。もちろん、これらは単なる例であり、限定することを意図するものではない。他の構成要素、値、動作、材料、配置などが企図される。例えば、以下の説明における第2の特徴の上方または上への第1の特徴の形成は、第1の特徴および第2の特徴が直接接触して形成される実施形態を含んでもよく、また、第1の特徴および第2の特徴が直接接触し得ないように、第1の特徴と第2の特徴との間に追加の特徴が形成され得る実施形態も含んでもよい。さらに、本開示は、様々な例において参照番号および/または文字を繰り返してもよい。この繰り返しは、単純化および明確化のためのものであり、それ自体は、説明した様々な実施形態および/または構成の間の関係を規定するものではない。
【0009】
さらに、「真下(beneath)」、「下方(below)」、「下(lower)」、「上方(above)」、「上(upper)」などの空間的に相対的な用語は、本明細書では、図に示すように、1つの要素または特徴と別の要素または特徴との関係を説明するための説明を容易にするために使用され得る。空間的に相対的な用語は、図に示す向きに加えて、使用中または動作中のデバイスの異なる向きを包含することを意図している。装置は、他の方向に向けられてもよく(90度または他の向きに回転されてもよく)、本明細書で使用される空間的に相対的な記述子は、それに応じて同様に解釈されてもよい。
【0010】
光伝送システムは、アクセスが困難な場所で使用されることが多い。光伝送システムの構成要素の修復または交換を行うために、地下または海底に沿った場所、すなわち海底にある光伝送システムなどにアクセスすることは困難である。光伝送システムの部分にアクセスする能力が低減されているため、光伝送システム内の構成要素の数を最小限に抑えることは、運用コストを低減するのに役立つと同時に、光伝送システム内の障害が発生した構成要素の修復または交換の失敗に関連する信号劣化も低減する。さらに、光伝送システムの構成要素を最小限に抑えることは、光伝送システムの全体的な設置面積を低減し、初期設置コストを低減するのに役立つ。
(【0011】以降は省略されています)
この特許をJ-PlatPat(特許庁公式サイト)で参照する
関連特許
日本電気株式会社
受信器および通信装置
1日前
日本電気株式会社
道路監視装置、道路監視方法、及びプログラム
1日前
日本電気株式会社
端末装置、無線通信システム、及び無線通信方法
1日前
日本電気株式会社
学習装置、制御装置、学習方法およびプログラム
1日前
日本電気株式会社
運転支援装置、運転支援方法、及び運転支援プログラム
1日前
日本電気株式会社
情報処理装置、情報処理方法、及び情報処理プログラム
1日前
日本電気株式会社
認知機能推定装置、認知機能推定方法、及び、プログラム
1日前
日本電気株式会社
環境調査マッチング装置、環境調査マッチング方法及びプログラム
1日前
日本電気株式会社
情報処理装置、情報処理方法、プログラム、および駐車支援システム
1日前
日本電気株式会社
運転モード切替装置、運転モード切替方法、及び運転モード切替プログラム
1日前
日本電気株式会社
処理装置、処理方法及びプログラム
2日前
個人
店内配信予約システム
2か月前
サクサ株式会社
中継装置
1日前
WHISMR合同会社
収音装置
28日前
サクサ株式会社
中継装置
3か月前
アイホン株式会社
電気機器
22日前
キヤノン株式会社
電子機器
2か月前
キヤノン株式会社
撮像装置
1か月前
株式会社リコー
画像形成装置
1か月前
株式会社リコー
画像形成装置
2か月前
キヤノン電子株式会社
画像読取装置
29日前
キヤノン電子株式会社
モバイル装置
3か月前
個人
ワイヤレスイヤホン対応耳掛け
20日前
日本精機株式会社
画像投映システム
3か月前
株式会社リコー
画像形成装置
1か月前
株式会社ニコン
撮像装置
2か月前
ブラザー工業株式会社
読取装置
1か月前
キヤノン株式会社
撮像システム
22日前
パテントフレア株式会社
超高速電波通信
1か月前
株式会社松平商会
携帯機器カバー
1か月前
株式会社JVCケンウッド
通信システム
6日前
有限会社フィデリックス
マイクロフォン
6日前
沖電気工業株式会社
画像形成装置
10日前
パテントフレア株式会社
水中電波通信法
2か月前
沖電気工業株式会社
画像形成装置
2日前
株式会社小糸製作所
画像照射装置
1か月前
続きを見る
他の特許を見る