TOP
|
特許
|
意匠
|
商標
特許ウォッチ
Twitter
他の特許を見る
10個以上の画像は省略されています。
公開番号
2025148739
公報種別
公開特許公報(A)
公開日
2025-10-08
出願番号
2024049013
出願日
2024-03-26
発明の名称
受信器および通信装置
出願人
日本電気株式会社
代理人
個人
,
個人
主分類
H04B
10/112 20130101AFI20251001BHJP(電気通信技術)
要約
【課題】空間光信号の到来方向に合わせて受光器の位置を正確に調整できる受信器を提供する。
【解決手段】ボールレンズと、ボールレンズの下部を取り囲むように配置された円環軌道と、円環軌道に対して垂直な方向に移動可能に設置された受光器を有し、円環軌道の外周に沿って移動可能に配置された少なくとも一つの可動受光器と、を備える。受光器は、ボールレンズに受光部を向けて配置された通信用受光素子と、ボールレンズに受光部を向けて、通信用受光素子を中心として環状に配置された複数の方向検知用受光素子と、通信用受光素子および複数の方向検知用受光素子と、ボールレンズとの間に配置され、通信対象である空間光信号の波長帯の光を通過させる波長フィルタと、複数の方向検知用受光素子の各々に対応付けて配置され、ボールレンズによって集光された光信号を方向検知用受光素子に導光する光導波路と、を有する受信器とする。
【選択図】 図1
特許請求の範囲
【請求項1】
ボールレンズと、
前記ボールレンズの下部を取り囲むように配置された円環軌道と、
前記円環軌道に対して垂直な方向に移動可能に設置された受光器を有し、前記円環軌道の外周に沿って移動可能に配置された少なくとも一つの可動受光器と、を備え、
前記受光器は、
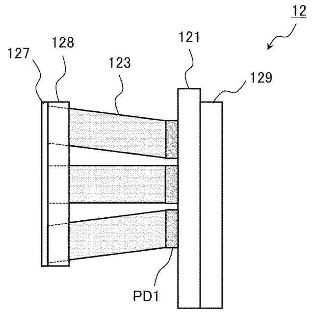
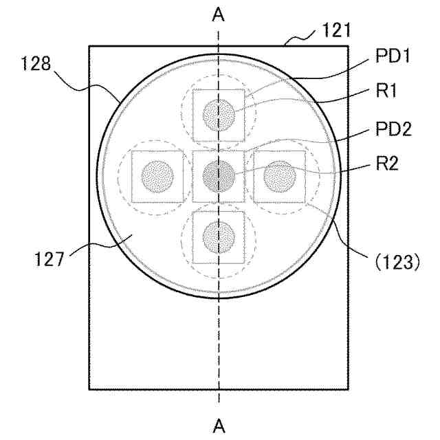
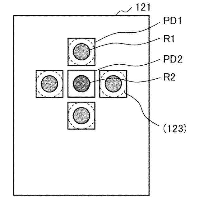
前記ボールレンズに受光部を向けて配置された通信用受光素子と、
前記ボールレンズに受光部を向けて、前記通信用受光素子を中心として環状に配置された複数の方向検知用受光素子と、
前記通信用受光素子および複数の前記方向検知用受光素子と、前記ボールレンズとの間に配置され、通信対象である空間光信号の波長帯の光を通過させる波長フィルタと、
複数の前記方向検知用受光素子の各々に対応付けて配置され、前記ボールレンズによって集光された光信号を前記方向検知用受光素子に導光する光導波路と、を有する受信器。
続きを表示(約 1,700 文字)
【請求項2】
前記光導波路は、
通信対象である空間光信号の波長帯の光を伝送可能な光ファイバによって構成され、
前記光導波路の入射端は、
前記波長フィルタに接続され、
前記光導波路の出射端は、
複数の前記方向検知用受光素子の受光部に接続される請求項1に記載の受信器。
【請求項3】
前記可動受光器は、
前記円環軌道の外周に沿って移動可能に設置された移動支持台と、
前記ボールレンズの中心点を中心とする円の円周に沿って円弧状に湾曲し、前記移動支持台の上部に立設され、前記ボールレンズの中心点を中心とする円の円周に沿って前記受光器を移動可能に支持する湾曲支柱と、を有する請求項2に記載の受信器。
【請求項4】
前記通信用受光素子および複数の前記方向検知用受光素子は、前記ボールレンズの集光領域に配置された同一の基板の同一面上に配置される請求項3に記載の受信器。
【請求項5】
前記通信用受光素子は、
前記ボールレンズの集光領域に配置された基板に配置され、
複数の前記方向検知用受光素子は、
前記ボールレンズの集光領域から離れた位置に配置された基板に配置され、
前記光導波路は、
複数の前記方向検知用受光素子が配置された基板まで延伸される請求項3に記載の受信器。
【請求項6】
前記可動受光器は、
前記ボールレンズの集光領域に配置され、前記ボールレンズによって集光された光信号を導光する通信用導光器と、
前記通信用受光素子の受光部と前記通信用導光器とを接続し、前記通信用導光器によって導光された光信号を前記通信用受光素子に導光する通信用光導波路と、を有し、
前記通信用受光素子および複数の前記方向検知用受光素子は、
前記ボールレンズの集光領域から離れた位置に配置され、
前記光導波路および前記通信用光導波路は、
前記通信用受光素子および複数の前記方向検知用受光素子が配置された基板まで延伸される請求項3に記載の受信器。
【請求項7】
前記移動支持台は、
前記円環軌道の外周に沿った水平面において、前記ボールレンズの中心点を中心とする円の円周に沿って前記受光器を移動させる水平移動機構と、
前記水平面に対して垂直な垂直面において、前記ボールレンズの中心点を中心とする円の円周に沿って前記受光器を移動させる垂直移動機構と、を有する請求項6に記載の受信器。
【請求項8】
前記受光器が有する前記通信用受光素子および複数の前記方向検知用受光素子によって受光された光信号に由来する電気信号を取得する通信制御器を備え、
前記通信制御器は、
複数の前記方向検知用受光素子によって受光された光信号に由来する電気信号に応じて空間光信号の到来方向を検知し、
検知された空間光信号の到来方向に関する情報を出力し、
前記通信用受光素子が受光した光信号に由来する電気信号をデコードし、
デコードされた情報を出力する請求項2に記載の受信器。
【請求項9】
前記受光器が有する前記通信用受光素子および複数の前記方向検知用受光素子によって受光された光信号に由来する電気信号を取得する通信制御器を備え、
前記通信制御器は、
複数の前記方向検知用受光素子によって受光された光信号に由来する電気信号に応じて空間光信号の到来方向を検知し、
検知された空間光信号の到来方向に前記受光器の受光面が向くように、前記移動支持台が有する前記水平移動機構および前記垂直移動機構を移動させ、
前記通信用受光素子が受光した光信号に由来する電気信号をデコードし、
デコードされた情報を出力する請求項7に記載の受信器。
【請求項10】
請求項1乃至7のいずれか一項に記載の受信器と、
空間光信号を送信する送信器と、
前記受信器によって検知された光信号に応じて前記送信器を制御する通信制御器と、を備える通信装置。
発明の詳細な説明
【技術分野】
【0001】
本開示は、受信器および通信装置に関する。
続きを表示(約 3,000 文字)
【背景技術】
【0002】
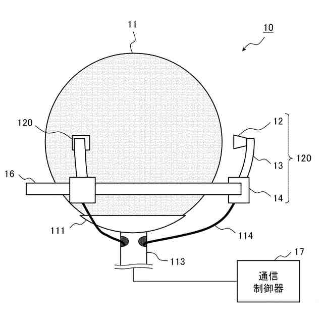
空間を伝播する信号光(空間光信号)を用いた空間光通信においては、通信対象から送信された空間光信号の到来方向を正確に把握できないと、安定した通信を行うことができない。そのため、空間光信号の到来方向に合わせて、空間光信号を受光する受光器の位置を正確に調整することが求められる。空間光信号の到来方向に合わせて受光器の位置を正確に調整できれば、任意の通信対象との間で空間光信号を用いた空間光通信を確立しやすくなる。
【0003】
特許文献1には、離れた地点間で対向設置されて光ビームにより通信を行う光空間通信装置について開示されている。特許文献1の装置は、相手側装置からの光ビームを受信するための受信光学系を持つ。受信光学系は、光学的手段、一つ以上の光検出器、および光ファイバ束を有する。光学的手段は、相手側装置から送られてくる光ビームを光ファイバ束の端面上に集光する。光ファイバ束は、集光した光ビームを光検出器に送るための構成である。
【先行技術文献】
【特許文献】
【0004】
特開2004-096155号公報
【発明の概要】
【発明が解決しようとする課題】
【0005】
特許文献1の手法によれば、光ファイバを介して集光された光信号の信号強度に応じて、光ビームの到来方向を解析できる。しかし、特許文献1の手法では、空間光信号の到来方向に合わせて受光器の位置を正確に調整することまではできなかった。
【0006】
本開示の目的は、空間光信号の到来方向に合わせて受光器の位置を正確に調整できる受信器および通信装置を提供することにある。
【課題を解決するための手段】
【0007】
本開示の一態様の受信器は、ボールレンズと、ボールレンズの下部を取り囲むように配置された円環軌道と、円環軌道に対して垂直な方向に移動可能に設置された受光器を有し、円環軌道の外周に沿って移動可能に配置された少なくとも一つの可動受光器と、を備える。受光器は、ボールレンズに受光部を向けて配置された通信用受光素子と、ボールレンズに受光部を向けて、通信用受光素子を中心として環状に配置され複数の方向検知用受光素子と、通信用受光素子および複数の方向検知用受光素子と、ボールレンズとの間に配置され、通信対象である空間光信号の波長帯の光を通過させる波長フィルタと、複数の方向検知用受光素子に対応付けて配置され、ボールレンズによって集光された光信号を方向検知用受光素子に導光する光導波路と、を有する。
【発明の効果】
【0008】
本開示によれば、空間光信号の到来方向に合わせて受光器の位置を正確に調整できる受信器および通信装置を提供することが可能になる。
【図面の簡単な説明】
【0009】
本開示における受信器の構成の一例を示す概念図である。
本開示における受信器の構成の一例を示す概念図である。
本開示における受光器の構成の一例を示す概念図である。
本開示における受光器の構成の一例を示す概念図である。
本開示における受光器の構成の一例を示す概念図である。
本開示における受光器の構成の一例を示す概念図である。
本開示における方向検知用受光素子の構成例を示す概念図である。
本開示における湾曲支柱によって支持された受光器の垂直面における移動例について説明するための概念図である。
本開示における湾曲支柱によって支持された受光器の垂直面における移動例について説明するための概念図である。
本開示における検出回路の構成の一例を示すブロック図である。
本開示における検出回路の構成の一例を示すブロック図である。
本開示における検出回路の構成の一例を示すブロック図である。
本開示における通信制御器の構成の一例を示すブロック図である。
本開示における方向検知部による空間光信号の到来方向の検知について説明するための概念図である。
本開示における受信器による空間光信号の受光範囲を示す検知情報の表示例を示す概念図である。
本開示における受信器による空間光信号の受光範囲を示す検知情報の表示例を示す概念図である。
本開示における受信器の構成の一例を示す概念図である。
本開示における受光器の構成の一例を示す概念図である。
本開示における受光器の構成の一例を示す概念図である。
本開示における受光器の構成の一例を示す概念図である。
本開示における受光器の構成の一例を示す概念図である。
本開示の変形例における受光器が有する通信用導光器の構成の一例を示す概念図である。
本開示の変形例における受光器が有する通信用導光器の構成の一例を示す概念図である。
本開示の変形例における受光器が有する通信用導光器に含まれる光導波路の構成の一例を示す概念図である。
本開示の変形例における受光器が有する通信用導光器に含まれる光導波路の構成の一例を示す概念図である。
本開示の変形例における受光器が有する通信用導光器の構成の一例を示す概念図である。
本開示の変形例における受光器が有する通信用導光器に含まれるグレーティング素子の構成の一例を示す概念図である。
本開示における受信器の構成の一例を示す概念図である。
本開示における受信器の構成の一例を示す概念図である。
本開示に係る移動支持台に含まれる水平移動機構の構成の一例を示す概念図である。
本開示に係る移動支持台に含まれる垂直移動機構の構成の一例を示す概念図である。
本開示における通信制御器の構成の一例を示すブロック図である。
本開示における通信装置の構成の一例を示すブロック図である。
本開示における送信器の構成の一例を示す概念図である。
本開示における通信制御器の構成の一例を示すブロック図である。
本開示の通信装置の適用について説明するための概念図である。
本開示における受信器の構成の一例を示す概念図である。
本開示における受信器の構成の一例を示す概念図である。
本開示における受信器の構成の一例を示す概念図である。
本開示における制御や処理を実行するハードウェアの構成の一例を示すブロック図である。
【発明を実施するための形態】
【0010】
以下に、本開示を実施するための形態について図面を用いて説明する。本開示において、各実施形態の説明において使用される図面は、1以上の実施形態に関連付けられる。また、各図面に含まれる要素は、1以上の実施形態に当てはまりうる。以下に述べる実施形態には、本開示を実施するために技術的に好ましい限定がされているが、開示の範囲を以下に限定するものではない。以下の実施形態の説明に用いる全図においては、特に理由がない限り、同様箇所には同一符号を付す。以下の実施形態において、同様の構成・動作に関しては繰り返しの説明を省略する場合がある。
(【0011】以降は省略されています)
この特許をJ-PlatPat(特許庁公式サイト)で参照する
関連特許
個人
店内配信予約システム
2か月前
サクサ株式会社
中継装置
3か月前
サクサ株式会社
中継装置
2日前
サクサ株式会社
中継装置
1日前
WHISMR合同会社
収音装置
29日前
キヤノン株式会社
電子機器
2か月前
アイホン株式会社
電気機器
23日前
キヤノン株式会社
撮像装置
1か月前
キヤノン電子株式会社
モバイル装置
3か月前
サクサ株式会社
無線通信装置
1日前
個人
ワイヤレスイヤホン対応耳掛け
21日前
株式会社リコー
画像形成装置
1か月前
株式会社リコー
画像形成装置
1か月前
キヤノン電子株式会社
画像読取装置
1か月前
株式会社リコー
画像形成装置
2か月前
日本精機株式会社
画像投映システム
3か月前
サクサ株式会社
無線通信装置
1日前
キヤノン株式会社
撮像システム
23日前
ブラザー工業株式会社
読取装置
1か月前
株式会社ニコン
撮像装置
2か月前
DXO株式会社
情報処理システム
2か月前
株式会社JVCケンウッド
通信システム
7日前
パテントフレア株式会社
超高速電波通信
1か月前
有限会社フィデリックス
マイクロフォン
7日前
沖電気工業株式会社
画像形成装置
11日前
キヤノン電子株式会社
シート材搬送装置
1か月前
株式会社松平商会
携帯機器カバー
1か月前
大日本印刷株式会社
写真撮影装置
22日前
国立大学法人電気通信大学
小型光学装置
1か月前
沖電気工業株式会社
画像形成装置
3日前
株式会社小糸製作所
画像照射装置
1か月前
パテントフレア株式会社
水中電波通信法
2か月前
日本無線株式会社
無線通信システム
1か月前
テックス通信株式会社
電話システム
3か月前
個人
回動アームを構築する関節モジュール
3日前
株式会社JVCケンウッド
スピーカ
1か月前
続きを見る
他の特許を見る