TOP
|
特許
|
意匠
|
商標
特許ウォッチ
Twitter
他の特許を見る
10個以上の画像は省略されています。
公開番号
2025158920
公報種別
公開特許公報(A)
公開日
2025-10-17
出願番号
2025027633,2024559027
出願日
2025-02-25,2024-04-05
発明の名称
ダクトユニットおよび置換空調システム
出願人
住友電設株式会社
代理人
個人
,
個人
,
個人
,
個人
主分類
F24F
13/02 20060101AFI20251009BHJP(加熱;レンジ;換気)
要約
【課題】人が居るエリアを効率的に冷却できる置換空調システムおよびダクトユニットを提供する。
【解決手段】ダクトユニットは、室内空気を吸入可能な吸入口と、吸入口から吸入した空気を熱交換により冷却可能な熱交換器と、熱交換された空気を室内に供給可能な供給口と、を含む空気調和機に取り付け可能である。ダクトユニットは、還気ダクト部と、給気ダクト部と、を備える。還気ダクト部は、吸入口と接続可能な還気出口と、還気出口から離れて位置する還気入口と、還気出口および還気入口をつなぐ還気本体部と、を含む。給気ダクト部は、供給口と接続可能な給気入口と、給気入口から離れて位置する給気出口と、給気入口および給気出口をつなぐ給気本体部と、を含む。還気出口が吸入口に接続され、給気入口が供給口に接続されるようにダクトユニットが空気調和機に取り付けられた状態において、給気出口は、還気入口に対して下側に位置する。
【選択図】図1A
特許請求の範囲
【請求項1】
室内の空気を吸入可能な吸入口と、前記吸入口から吸入した前記空気を熱交換により冷却可能な熱交換器と、前記熱交換器により熱交換された前記空気を前記室内に供給可能な供給口と、を含む空気調和機に取り付け可能なダクトユニットであって、
前記吸入口と接続可能な還気出口と、前記還気出口から離れて位置する還気入口と、前記還気出口および前記還気入口をつなぐ還気本体部と、を含む還気ダクト部と、
前記供給口と接続可能な給気入口と、前記給気入口から離れて位置する給気出口と、前記給気入口および前記給気出口をつなぐ給気本体部と、を含む給気ダクト部と、を備え、
前記還気出口が前記吸入口に接続され、前記給気入口が前記供給口に接続されるように前記ダクトユニットが前記空気調和機に取り付けられた状態において、前記給気出口は、前記還気入口に対して下側に位置する、ダクトユニット。
続きを表示(約 1,100 文字)
【請求項2】
前記ダクトユニットが前記空気調和機に取り付けられた状態において、前記給気入口は、前記還気出口に対して上側に位置する、請求項1に記載のダクトユニット。
【請求項3】
前記ダクトユニットが前記空気調和機に取り付けられた状態において、前記給気入口は、前記空気調和機の上面と向かい合う、請求項1または請求項2に記載のダクトユニット。
【請求項4】
前記ダクトユニットが前記空気調和機に取り付けられた状態において、前記給気入口は、前記空気調和機の上面よりも上側に位置する、請求項1から請求項3のいずれか一項に記載のダクトユニット。
【請求項5】
前記ダクトユニットが前記空気調和機に取り付けられた状態において、前記給気本体部は、
高さ方向に延びる縦管と、
前記縦管の下端に接続され、前記給気出口に近いほうの端部である第1端部に位置する給気2次チャンバと、を含み、
前記高さ方向に直交する方向における前記給気2次チャンバの内部空間の断面積は、前記高さ方向に直交する方向における前記縦管の内部空間の断面積より大きく、
前記給気2次チャンバに、前記給気出口が形成されている、請求項1から請求項4のいずれか一項に記載のダクトユニット。
【請求項6】
前記ダクトユニットが前記空気調和機に取り付けられた状態において、前記給気2次チャンバは、
前記給気出口を含む領域である前部と、
前記給気出口からの空気の吹き出し方向に沿う方向である奥行方向において、前記前部の前記給気出口とは反対側に接続される後部と、を含み、
前記縦管の下端は、前記後部に接続される、請求項5に記載のダクトユニット。
【請求項7】
前記給気2次チャンバは、複数の貫通孔が形成された板状の部材を含み、
前記給気出口は、前記複数の貫通孔である、請求項6に記載のダクトユニット。
【請求項8】
前記ダクトユニットが前記空気調和機に取り付けられた状態において、前記前部は、前記給気出口が形成される面である前面を含み、
前記前面は、複数の貫通孔が形成された板状の部材から構成される、請求項6または請求項7に記載のダクトユニット。
【請求項9】
前記給気2次チャンバは、直方体形状を有する、請求項5から請求項8のいずれか一項に記載のダクトユニット。
【請求項10】
前記縦管は、前記高さ方向に垂直な断面積が下方に向かうにしたがって大きくなる内部空間を有し、
前記縦管の下端が、前記後部に接続される、請求項5から請求項9のいずれか一項に記載のダクトユニット。
(【請求項11】以降は省略されています)
発明の詳細な説明
【技術分野】
【0001】
本開示は、ダクトユニットおよび置換空調システムに関する。
続きを表示(約 1,900 文字)
【背景技術】
【0002】
吸入口と、熱交換器と、供給口と、を含む空気調和機が知られている(たとえば、国際公開2017/090104号(特許文献1)参照)。特許文献1に記載の空気調和機では、吸入口は、室内の空気を吸入する。熱交換器は、吸入口から吸入した空気を熱交換により冷却する。供給口は、熱交換器により熱交換された空気を室内に供給する。特許文献1に記載の空気調和機では、供給口は、吸入口に対して上側に位置する。
【先行技術文献】
【特許文献】
【0003】
国際公開2017/090104号
【発明の概要】
【0004】
本開示のダクトユニットは、室内の空気を吸入可能な吸入口と、吸入口から吸入した空気を熱交換により冷却可能な熱交換器と、熱交換器により熱交換された空気を室内に供給可能な供給口と、を含む空気調和機に取り付け可能である。ダクトユニットは、還気ダクト部と、給気ダクト部と、を備える。還気ダクト部は、吸入口と接続可能な還気出口と、還気出口から離れて位置する還気入口と、還気出口および還気入口をつなぐ還気本体部と、を含む。給気ダクト部は、供給口と接続可能な給気入口と、給気入口から離れて位置する給気出口と、給気入口および給気出口をつなぐ給気本体部と、を含む。還気出口が吸入口に接続され、給気入口が供給口に接続されるようにダクトユニットが空気調和機に取り付けられた状態において、給気出口は、還気入口に対して下側に位置する。
【0005】
本開示の置換空調システムは、空気調和機と、空気調和機に取り付けられた上記したダクトユニットと、を備える。空気調和機は、室内の空気を吸入可能な吸入口と、吸入口から吸入した空気を熱交換により冷却可能な熱交換器と、熱交換器により熱交換された空気を室内に供給可能な供給口と、を含む。ダクトユニットでは、還気出口が吸入口に接続され、給気入口が供給口に接続される。
【図面の簡単な説明】
【0006】
図1Aは、本開示の置換空調システムの斜視図である。
図1Bは、図1Aに示す置換空調システムにおける空気調和機の斜視図である。
図1Cは、図1Aに示す置換空調システムにおける支持部および還気ダクト部の斜視図である。
図1Dは、図1Aに示す置換空調システムにおける支持部および給気ダクト部の斜視図である。
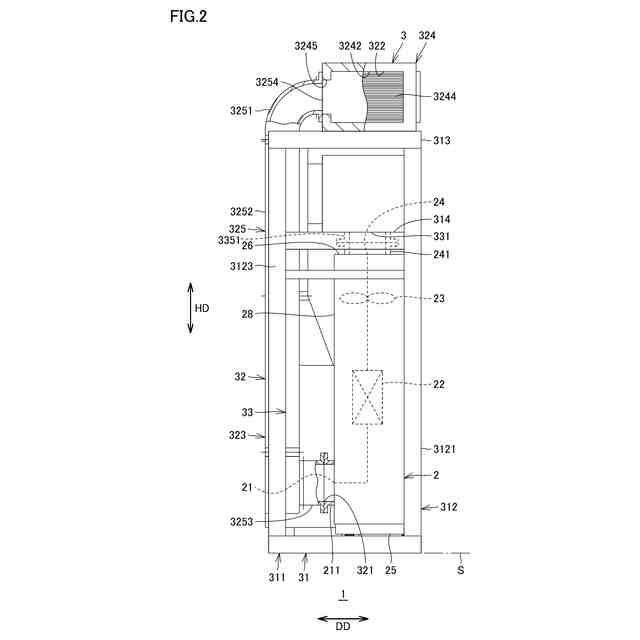
図2は、図1Aに示す置換空調システムの左側面図である。
図3は、図1Aに示す置換空調システムの正面図である。
図4は、図1Aに示す置換空調システムの右側面図である。
図5は、置換空調システムにおける被覆部および給気ダクト部の一部の断面図である。
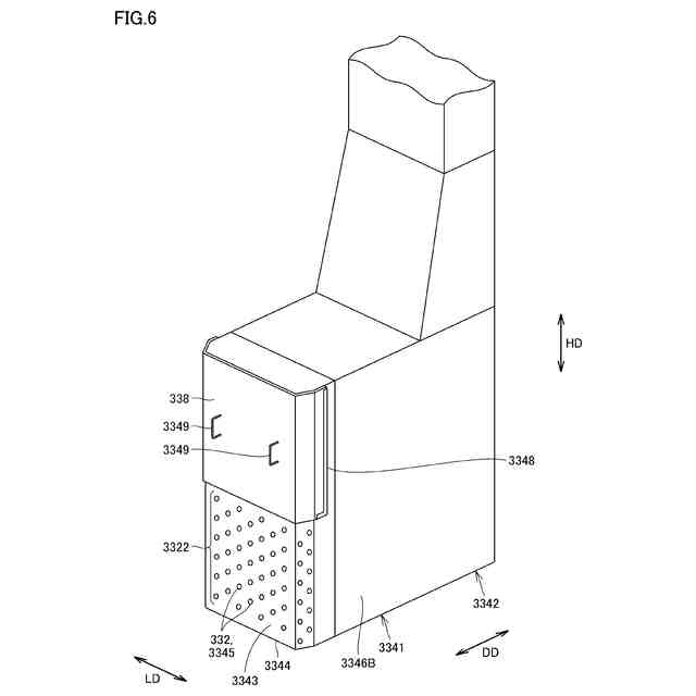
図6は、カバーが取り付けられた給気2次チャンバの斜視図である。
図7は、カバーが取り外された給気2次チャンバの斜視図である。
図8は、変形例の置換空調システムの正面図である。
図9は、給気2次チャンバおよび第1位置に位置するカバーの正面図である。
図10は、給気2次チャンバおよび第2位置に位置するカバーの正面図である。
【発明を実施するための形態】
【0007】
[本開示が解決しようとする課題]
空調の用途によって、ダクトユニットを空気調和機に取り付けて、空気調和機とダクトユニットとを備える空調システムが必要となる。ダクトユニットは、還気ダクト部と、給気ダクト部と、を備える。還気ダクト部の出口は、吸入口に接続される。給気ダクト部の入口は、供給口に接続される。空調システムが空気調和機と同じ機能を奏するために、給気ダクト部の出口は、還気ダクト部の入口に対して上側に位置する。
【0008】
上記した空調システムが天井の高い室内に設置される場合、上部空間も冷却される。上部空間は、人が居るエリアよりも上方の空間である。しかしながら、上部空間は人が居ないため冷却する必要がない。そのため、空調システムが上部空間を冷却する場合、空調システムは無駄なエネルギーを消費する。空調システムが上部空間を冷却すると、エネルギーの効率が悪い。
【0009】
人が居るエリアを効率的に冷却できる置換空調システムおよびそれに備えられるダクトユニットを提供することが、本開示の目的の1つである。
【0010】
[本開示の効果]
本開示のダクトユニットおよび置換空調システムによれば、人が居るエリアを効率的に冷却できる。
(【0011】以降は省略されています)
この特許をJ-PlatPat(特許庁公式サイト)で参照する
関連特許
住友電設株式会社
抜油システムおよび抜油方法
4か月前
住友電設株式会社
鉄塔作業監視システムおよび鉄塔作業監視方法
1か月前
住友電設株式会社
ダクトユニットおよび置換空調システム
20日前
株式会社トヨトミ
五徳
13日前
株式会社コロナ
空調装置
1か月前
株式会社コロナ
空調装置
13日前
株式会社コロナ
空調装置
13日前
株式会社コロナ
空調装置
1か月前
株式会社コロナ
空調装置
2か月前
個人
油ハネ防止カーテン
2日前
株式会社コロナ
加湿装置
1か月前
株式会社コロナ
給湯装置
3か月前
株式会社コロナ
空調装置
28日前
個人
住宅換気空調システム
2か月前
株式会社コロナ
空気調和機
3か月前
株式会社コロナ
風呂給湯機
1か月前
個人
太陽光パネル傾斜装置
23日前
株式会社コロナ
空気調和機
2か月前
株式会社コロナ
暖房システム
1か月前
株式会社パロマ
給湯器
3か月前
株式会社コロナ
直圧式給湯機
4か月前
個人
シンプルクーラー
21日前
ホーコス株式会社
排気フード
3か月前
株式会社コロナ
直圧式給湯機
2か月前
株式会社コロナ
貯湯式給湯機
1か月前
株式会社コロナ
温水暖房装置
13日前
株式会社コロナ
貯湯式給湯機
1か月前
三菱電機株式会社
換気扇
22日前
三菱電機株式会社
換気扇
22日前
ホーコス株式会社
換気扇取付枠
1か月前
株式会社コロナ
輻射式冷房装置
2か月前
三菱電機株式会社
換気扇
22日前
株式会社パロマ
給湯暖房機
3か月前
株式会社パロマ
給湯暖房機
3か月前
株式会社パロマ
給湯暖房機
3か月前
株式会社ノーリツ
温水装置
20日前
続きを見る
他の特許を見る