TOP
|
特許
|
意匠
|
商標
特許ウォッチ
Twitter
他の特許を見る
10個以上の画像は省略されています。
公開番号
2025145137
公報種別
公開特許公報(A)
公開日
2025-10-03
出願番号
2024045164
出願日
2024-03-21
発明の名称
鉄塔作業監視システムおよび鉄塔作業監視方法
出願人
住友電設株式会社
代理人
弁理士法人深見特許事務所
主分類
G08B
21/02 20060101AFI20250926BHJP(信号)
要約
【課題】精度の高い作業者の監視が可能な鉄塔作業監視システムを提供する。
【解決手段】電流が流れている活線と電流が流れていない電線とが施設された鉄塔において電流が流れていない電線に対して作業する作業者が活線に接近しているか否かを監視する鉄塔作業監視システムであって、鉄塔を撮像して撮像画像を得る撮像部と、撮像部で撮像された撮像画像内において危険範囲を設定する設定部と、撮像画像内において作業者が存在する場合、作業者を認識する認識部と、危険範囲に作業者が侵入したか否かを検知する検知部と、検知部の検知結果に基づいて警告情報を出力する警告部とを備える。
【選択図】図2
特許請求の範囲
【請求項1】
電流が流れている活線と電流が流れていない電線とが施設された鉄塔において前記電流が流れていない電線に対して作業する作業者が前記活線に接近しているか否かを監視する鉄塔作業監視システムであって、
前記鉄塔を撮像して撮像画像を得る撮像部と、
前記撮像部で撮像された前記撮像画像内において危険範囲を設定する設定部と、
前記撮像画像内において前記作業者が存在する場合、前記作業者を認識する認識部と、
前記危険範囲に前記作業者が侵入したか否かを検知する検知部と、
前記検知部の検知結果に基づいて警告情報を出力する警告部とを備える、鉄塔作業監視システム。
続きを表示(約 1,000 文字)
【請求項2】
前記撮像画像を表示する表示部をさらに備える、請求項1に記載の鉄塔作業監視システム。
【請求項3】
前記表示部は、前記撮像画像内における前記設定部により設定された前記危険範囲を表示する、請求項2に記載の鉄塔作業監視システム。
【請求項4】
前記表示部は、前記認識部が前記作業者を認識した場合に、前記作業者を認識したことを示す作業者認識表示を表示する、請求項2に記載の鉄塔作業監視システム。
【請求項5】
前記認識部は、前記撮像画像内において前記作業者が存在する場合、前記作業者の位置を認識し、
前記表示部は、前記認識部が前記作業者を認識した場合に、前記作業者認識表示として前記作業者の位置に従って前記作業者を囲む作業者枠を表示する、請求項4に記載の鉄塔作業監視システム。
【請求項6】
前記認識部は、前記撮像画像内において前記作業者が位置する範囲を認識し、
前記表示部は、前記認識部が前記作業者を認識した場合に、前記作業者認識表示として前記作業者の位置する範囲に従って前記作業者が存在する範囲に応じて変化する作業者枠を表示する、請求項5に記載の鉄塔作業監視システム。
【請求項7】
前記表示部は、第1の色に従う前記危険範囲を表示し、
前記警告部は、前記検知部の検知結果に基づいて前記警告情報として前記危険範囲を前記第1の色とは異なる第2の色に変化させる、請求項3に記載の鉄塔作業監視システム。
【請求項8】
前記警告部は、
前記検知部の検知結果として前記危険範囲に前記作業者が侵入していない場合には第1の表示を前記表示部に表示し、
前記検知部の検知結果として前記危険範囲に前記作業者が侵入した場合には第1の表示とは異なる第2の表示を前記表示部に表示する、請求項2に記載の鉄塔作業監視システム。
【請求項9】
前記撮像部は、前記鉄塔の腕金の高さ位置よりも低い位置に設置され、
前記撮像部は、水平方向よりも上方に位置する前記腕金を撮像するように設置される、請求項1に記載の鉄塔作業監視システム。
【請求項10】
前記撮像部は、前記撮像画像内に太陽が含まれない位置に設置される、請求項1に記載の鉄塔作業監視システム。
(【請求項11】以降は省略されています)
発明の詳細な説明
【技術分野】
【0001】
本開示は、鉄塔で作業を行う作業者を監視する鉄塔作業監視システムおよび鉄塔作業監視方法に関する。
続きを表示(約 1,700 文字)
【背景技術】
【0002】
送電線鉄塔の送電線には高電圧が印加されており、その線路は多回線、かつ大型化されている。送電線鉄塔の作業者は、例えば百数十メートルもの高い鉄塔に塔上して架線作業(補修作業)を行う。したがって、作業者に対する事故を未然に防ぐ種々の方式が提案されている。例えば、特許文献1には、充電部に対して作業者の接近を感知する感知器を作動させて警報器により危険を作業者に知らせる方式が提案されている。
【先行技術文献】
【特許文献】
【0003】
特開平5-344635号公報
【発明の概要】
【発明が解決しようとする課題】
【0004】
この点で、作業者がより安全に鉄塔で作業するためには精度の高い作業者の監視が必要である。
【0005】
本開示は、上記の課題を解決するためのものであって、精度の高い作業者の監視が可能な鉄塔作業監視システムおよび鉄塔作業監視方法を提供することを目的とする。
【課題を解決するための手段】
【0006】
本開示は、電流が流れている活線と電流が流れていない電線とが施設された鉄塔において電流が流れていない電線に対して作業する作業者が活線に接近しているか否かを監視する鉄塔作業監視システムであって、鉄塔を撮像して撮像画像を得る撮像部と、撮像部で撮像された撮像画像内において危険範囲を設定する設定部と、撮像画像内において作業者が存在する場合、作業者を認識する認識部と、危険範囲に作業者が侵入したか否かを検知する検知部と、検知部の検知結果に基づいて警告情報を出力する警告部とを備える。
【発明の効果】
【0007】
本開示によれば、鉄塔作業監視システムおよび鉄塔作業監視方法は、精度の高い作業者の監視が可能である。
【図面の簡単な説明】
【0008】
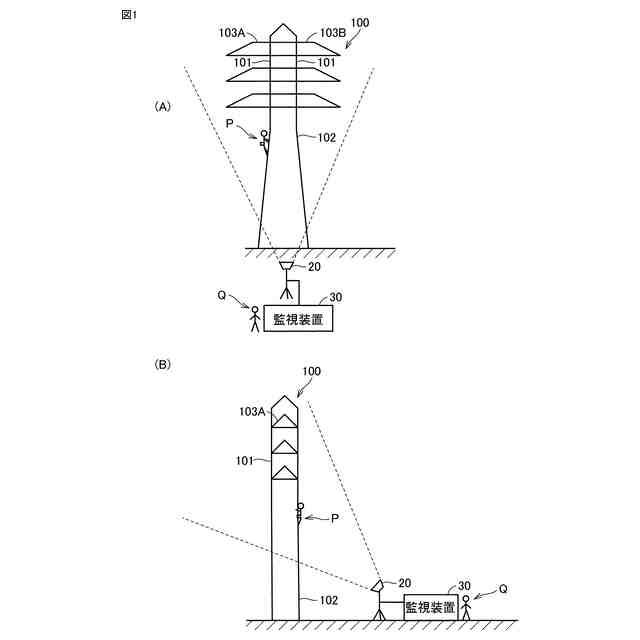
図1は、実施形態1に従う鉄塔作業監視システム1の全体構成について説明する図である。
図2は、実施形態1に従う監視装置30と、監視装置30と接続された各種の外部装置について説明する図である。
図3は、実施形態1に従うディスプレイ24の監視画面402の一例について説明する図である。
図4は、実施形態1に従うディスプレイ24の別の監視画面404の一例について説明する図である。
図5は、実施形態1に従うディスプレイ24の別の監視画面406の一例について説明する図である。
図6は、実施形態1に従うディスプレイ24の別の監視画面408の一例について説明する図である。
図7は、実施形態1に従う実施形態1に従う監視装置30の監視処理フローについて説明する図である。
図8は、実施形態2に従う監視装置30#と、監視装置30#と接続された各種の外部装置について説明する図である。
図9は、実施形態2に従うディスプレイ24の監視画面410の一例について説明する図である。
図10は、実施形態3に従う設定部10の危険範囲の設定について説明する図である。
【発明を実施するための形態】
【0009】
[本開示の実施形態の説明]
最初に本開示の実施態様を列記して説明する。
【0010】
(1)本開示の電流が流れている活線と電流が流れていない電線とが施設された鉄塔において前記電流が流れていない電線に対して作業する作業者が前記活線に接近しているか否かを監視する鉄塔作業監視システムであって、
前記鉄塔を撮像して撮像画像を得る撮像部と、
前記撮像部で撮像された前記撮像画像内において危険範囲を設定する設定部と、
前記撮像画像内において前記作業者が存在する場合、前記作業者を認識する認識部と、
前記危険範囲に前記作業者が侵入したか否かを検知する検知部と、
前記検知部の検知結果に基づいて警告情報を出力する警告部とを備える。本開示によれば、精度の高い作業者の監視が可能である。
(【0011】以降は省略されています)
この特許をJ-PlatPat(特許庁公式サイト)で参照する
関連特許
住友電設株式会社
抜油システムおよび抜油方法
4か月前
住友電設株式会社
鉄塔作業監視システムおよび鉄塔作業監視方法
28日前
住友電設株式会社
ダクトユニットおよび置換空調システム
14日前
日本精機株式会社
警報システム
2か月前
個人
自動電動車椅子
1か月前
株式会社SUBARU
車両
22日前
スズキ株式会社
運転支援装置
1か月前
エムケー精工株式会社
車両誘導装置
2か月前
株式会社国際電気
防災システム
2か月前
ニッタン株式会社
検知器
1か月前
ニッタン株式会社
検知器
1か月前
ニッタン株式会社
検知器
1か月前
個人
磁気路上での車両の路線離脱防御
1か月前
ニッタン株式会社
検知器
29日前
トヨタ自動車株式会社
サーバ
4日前
トヨタ自動車株式会社
サーバ
1か月前
日本信号株式会社
異常走行検出装置
1か月前
株式会社小糸製作所
移動体検出装置
1か月前
大阪瓦斯株式会社
音声出力システム
28日前
ダイハツ工業株式会社
移動支援装置
14日前
株式会社SUBARU
運転支援装置
1か月前
日本精機株式会社
報知装置及び報知システム
1か月前
株式会社CCT
通信装置及び表示方法
29日前
株式会社デンソー
運航管理装置
21日前
株式会社小糸製作所
車両検出システム
1か月前
三菱自動車工業株式会社
制御システム
28日前
株式会社SUBARU
事故情報収集装置
22日前
能美防災株式会社
火災感知器
1か月前
株式会社 ミックウェア
車内環境制御システム
17日前
ヨシモトポール株式会社
接近報知システム
1か月前
本田技研工業株式会社
物体検出装置
2か月前
ホーチキ株式会社
火災検出システム
24日前
能美防災株式会社
非常伝達装置
1か月前
株式会社SUBARU
車室内異常検知装置
22日前
株式会社豊田中央研究所
注意喚起装置
1か月前
株式会社関電工
車両運行通知システム
17日前
続きを見る
他の特許を見る