TOP
|
特許
|
意匠
|
商標
特許ウォッチ
Twitter
他の特許を見る
10個以上の画像は省略されています。
公開番号
2025159185
公報種別
公開特許公報(A)
公開日
2025-10-17
出願番号
2025136925,2024098057
出願日
2025-08-20,2021-03-11
発明の名称
電界効果トランジスタ
出願人
株式会社デンソー
代理人
弁理士法人 快友国際特許事務所
主分類
H10D
30/66 20250101AFI20251009BHJP()
要約
【課題】 複数のp型ディープ層を有する電界効果トランジスタにおいて、低いオン抵抗を実現する。
【解決手段】 電界効果トランジスタ(10)であって、複数のp型ディープ層(36)と、複数のn型ディープ層(37)を有する。前記各p型ディープ層が、前記ボディ層から下側に突出しており、上側から前記半導体基板を見たときに前記トレンチに対して交差する第1方向に沿って伸びており、上側から前記半導体基板を見たときに前記第1方向に対して直交する第2方向に間隔部を開けて配置されている。前記各n型ディープ層が、対応する前記間隔部内に配置されている。ドリフト層が、前記各n型ディープ層よりも低いn型不純物濃度を有する。前記半導体基板の前記厚み方向における前記n型ディープ層の寸法が、前記第2方向における前記n型ディープ層の寸法よりも大きい。
【選択図】図1
特許請求の範囲
【請求項1】
電界効果トランジスタ(10)であって、
上面にトレンチ(14)が設けられた半導体基板(12)と、
前記トレンチの内面を覆うゲート絶縁膜(16)と、
前記トレンチ内に配置されており、前記ゲート絶縁膜によって前記半導体基板から絶縁されているゲート電極(18)、
を有し、
前記半導体基板が、
前記トレンチの側面で前記ゲート絶縁膜に接するn型のソース層(30)と、
前記ソース層の下側に位置する前記トレンチの前記側面で前記ゲート絶縁膜に接するp型のボディ層(34)と、
複数のp型ディープ層(36)と、
複数のn型ディープ層(37)と、
ドリフト層(38)、
を有し、
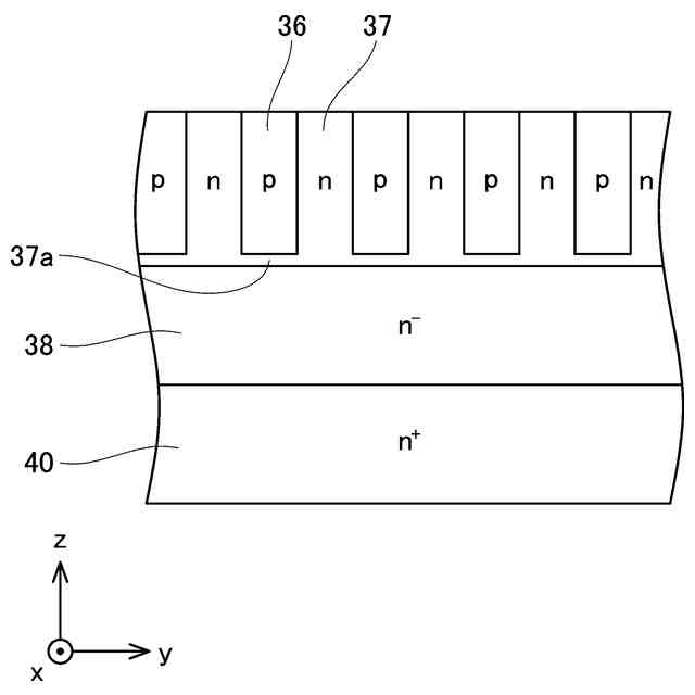
前記各p型ディープ層が、前記ボディ層から下側に突出しており、前記ボディ層から前記トレンチの底面よりも下側まで伸びており、上側から前記半導体基板を見たときに前記トレンチに対して交差する第1方向に沿って伸びており、上側から前記半導体基板を見たときに前記第1方向に対して直交する第2方向に間隔部を開けて配置されており、前記ボディ層の下側に位置する前記トレンチの前記側面及び前記トレンチの前記底面で前記ゲート絶縁膜に接しており、
前記各n型ディープ層が、対応する前記間隔部内に配置されており、前記ボディ層の下側に位置する前記トレンチの前記側面で前記ゲート絶縁膜に接しており、
前記ドリフト層が、前記各n型ディープ層よりも低いn型不純物濃度を有するn型であり、前記複数のn型ディープ層の下面に接しており、
前記各p型ディープ層が、前記第2方向における寸法よりも前記半導体基板の厚み方向における寸法が大きい形状を有しており、
前記各n型ディープ層が、前記第2方向における寸法よりも前記半導体基板の前記厚み方向における寸法が大きい形状を有している、
電界効果トランジスタ。
続きを表示(約 370 文字)
【請求項2】
前記複数のn型ディープ層が、前記ボディ層の前記下面から前記複数のp型ディープ層の前記下面の深さまで伸びている、請求項1に記載の電界効果トランジスタ。
【請求項3】
前記複数のn型ディープ層が、前記ボディ層の前記下面から前記複数のp型ディープ層の前記下面よりも下側まで伸びている、請求項2に記載の電界効果トランジスタ。
【請求項4】
前記複数のn型ディープ層が、前記複数のp型ディープ層の前記下面の下側の領域を介して互いに繋がっている、請求項3に記載の電界効果トランジスタ。
【請求項5】
前記半導体基板の前記厚み方向における前記n型ディープ層の寸法が、前記半導体基板の厚み方向における前記p型ディープ層の寸法の1.07倍以下である、請求項3または4に記載の電界効果トランジスタ。
発明の詳細な説明
【技術分野】
【0001】
本明細書に開示の技術は、電界効果トランジスタに関する。
続きを表示(約 3,600 文字)
【0002】
特許文献1には、トレンチゲート型の電界効果トランジスタが開示されている。この電界効果トランジスタは、ボディ層から下側に突出する複数のp型ディープ層を有している。各p型ディープ層は、上側から半導体基板を見たときにトレンチに対して交差するように伸びている。複数のp型ディープ層は、その幅方向に間隔部を開けて配置されている。各p型ディープ層は、ボディ層からトレンチの底面よりも下側まで伸びている。特許文献1に開示の電界効果トランジスタの一例では、各p型ディープ層は、ボディ層の下側に位置するトレンチの側面及びトレンチの底面でゲート絶縁膜に接している。また、電界効果トランジスタは、ボディ層及び各p型ディープ層に接するn型のドリフト層を有している。この電界効果トランジスタがオフすると、ボディ層からドリフト層内に空乏層が広がる。ドリフト層内に広がる空乏層によって、ソース-ドレイン間の電圧が保持される。また、この電界効果トランジスタがオフすると、各ディープp層からもドリフト層内に空乏層が広がる。各ディープp層がトレンチの底面でゲート絶縁膜に接しているので、各ディープp層から広がる空乏層によってトレンチの底面の周辺のドリフト層が空乏化される。このように、各ディープp層からトレンチの底面の周辺に広がる空乏層によって、トレンチの底面の周辺のゲート絶縁膜及びドリフト層で電界集中が生じることが抑制される。したがって、この電界効果トランジスタは、高い耐圧を有する。
【先行技術文献】
【特許文献】
【0003】
特開2009-194065号公報
【発明の概要】
【発明が解決しようとする課題】
【0004】
特許文献1の電界効果トランジスタがオンすると、ボディ層にチャネルが形成される。すると、ソース層から、チャネルへ電子が流れる。ボディ層の下側に複数のp型ディープ層が存在するので、チャネルを通過した電子は、p型ディープ層の間の間隔部内に配置されているドリフト層に流入する。間隔部を通過した電子は、間隔部の下側のドリフト層へ流れる。このように、電子が、ソース層から、チャネルと間隔部内のドリフト層を介して間隔部の下側のドリフト層へ流れる。間隔部内のドリフト層は、p型ディープ層によって挟まれている。電界効果トランジスタのオン状態において、各p型ディープ層から間隔部内のドリフト層へ空乏層が広がっている。このように広がる空乏層によって、間隔部内のドリフト層内の電子が流れる経路が狭められる。その結果、間隔部の抵抗が高くなる。このため、特許文献1の電界効果トランジスタは、オン抵抗が高い。本明細書では、複数のp型ディープ層を有する電界効果トランジスタにおいて、低いオン抵抗を実現する技術を提案する。
【課題を解決するための手段】
【0005】
本明細書が開示する電界効果トランジスタは上面にトレンチが設けられた半導体基板と、前記トレンチの内面を覆うゲート絶縁膜と、前記トレンチ内に配置されており、前記ゲート絶縁膜によって前記半導体基板から絶縁されているゲート電極、を有する。前記半導体基板が、前記トレンチの側面で前記ゲート絶縁膜に接するn型のソース層と、前記ソース層の下側に位置する前記トレンチの前記側面で前記ゲート絶縁膜に接するp型のボディ層と、複数のp型ディープ層と、複数のn型ディープ層と、ドリフト層(38)を有する。前記各p型ディープ層が、前記ボディ層から下側に突出しており、前記ボディ層から前記トレンチの底面よりも下側まで伸びており、上側から前記半導体基板を見たときに前記トレンチに対して交差する第1方向に沿って伸びており、上側から前記半導体基板を見たときに前記第1方向に対して直交する第2方向に間隔部を開けて配置されており、前記ボディ層の下側に位置する前記トレンチの前記側面及び前記トレンチの前記底面で前記ゲート絶縁膜に接している。前記各n型ディープ層が、対応する前記間隔部内に配置されており、前記ボディ層の下側に位置する前記トレンチの前記側面で前記ゲート絶縁膜に接している。前記ドリフト層が、前記各n型ディープ層よりも低いn型不純物濃度を有するn型であり、前記複数のn型ディープ層の下面に接している。前記各p型ディープ層が、前記第2方向における寸法よりも前記半導体基板の厚み方向における寸法が大きい形状を有している。前記各n型ディープ層が、前記第2方向における寸法よりも前記半導体基板の前記厚み方向における寸法が大きい形状を有している。
【0006】
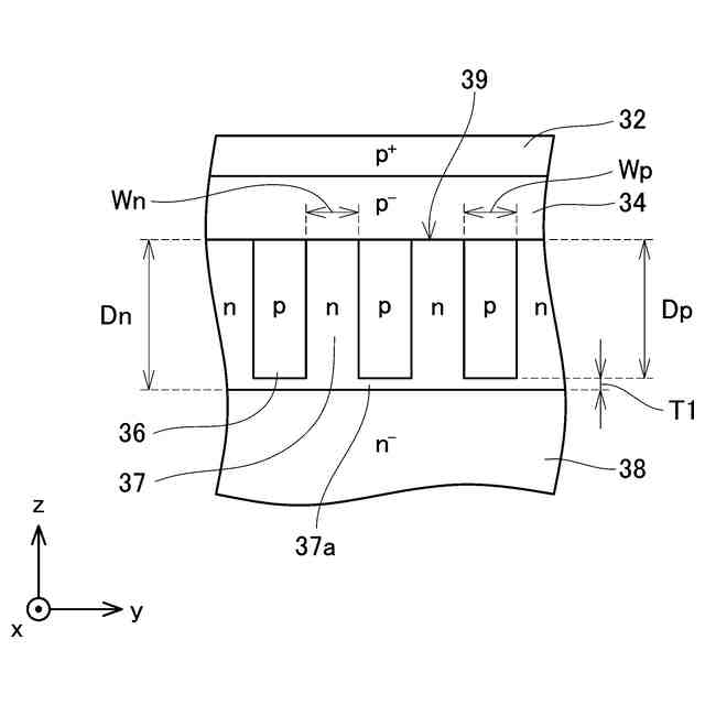
なお、p型ディープ層の「前記第2方向における寸法」は、p型ディープ層の第2方向における両側面の間の距離を意味する。また、p型ディープ層の「前記半導体基板の厚み方向における寸法」は、ボディ層の下面(すなわち、p型ディープ層の上面)からp型ディープ層の下面までの半導体基板の厚み方向における距離を意味する。また、n型ディープ層の「前記第2方向における寸法」は、n型ディープ層の第2方向における両側面の間の距離を意味する。また、n型ディープ層の「前記半導体基板の厚み方向における寸法」は、ボディ層の下面(すなわち、n型ディープ層の上面)からn型ディープ層の下面までの半導体基板の厚み方向における距離を意味する。
【0007】
この電界効果トランジスタは、複数のp型ディープ層を有しているので、電界効果トランジスタがオフするときにトレンチの底面の周辺の電界集中を抑制できる。したがって、この電界効果トランジスタは、高い耐圧を有する。また、この電界効果トランジスタでは、複数のp型ディープ層の間の間隔部に、ドリフト層よりもn型不純物濃度が高いn型ディープ層が設けられている。また、半導体基板の厚み方向におけるn型ディープ層の寸法が、第2方向におけるn型ディープ層の寸法よりも大きい。すなわち、n型ディープ層は、縦方向(すなわち、半導体基板の厚み方向)に長い形状を有している。したがって、間隔部のうちの広い範囲がn型ディープ層によって構成されている。この電界効果トランジスタがオンすると、ソース層からチャネルとn型ディープ層を介してドリフト層へ電子が流れる。n型ディープ層が間隔部内に配置されているので、n型ディープ層にはその両側のp型ディープ層から空乏層が広がっている。しかしながら、n型ディープ層のn型不純物濃度が高いので、p型ディープ層からn型ディープ層に広がる空乏層の幅は狭い。したがって、n型ディープ層内に電子の流通経路が広く確保される。このため、間隔部の抵抗を従来よりも低くすることができる。したがって、この電界効果トランジスタの構成によれば、低いオン抵抗を実現することができる。
【図面の簡単な説明】
【0008】
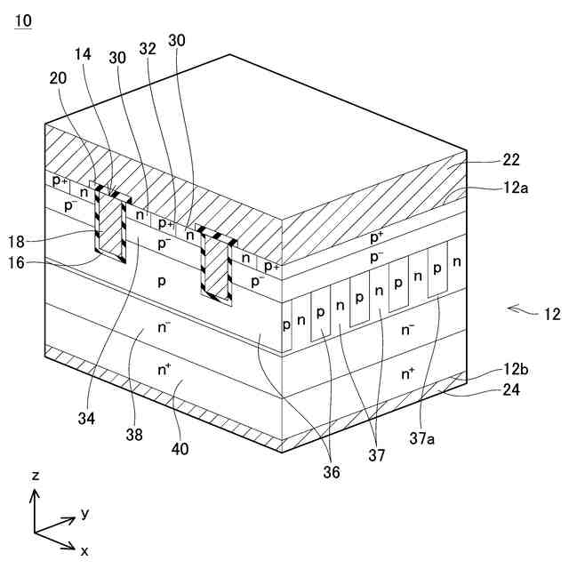
MOSFET10の断面斜視図。(p型ディープ層36を含まないxz断面を示す図)。
ソース電極22と層間絶縁膜20を省略したMOSFET10の断面斜視図。
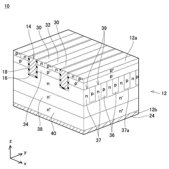
半導体基板12を上から見たときのトレンチ14とp型ディープ層36の配置を示す平面図。
p型ディープ層36とn型ディープ層37の拡大断面図。
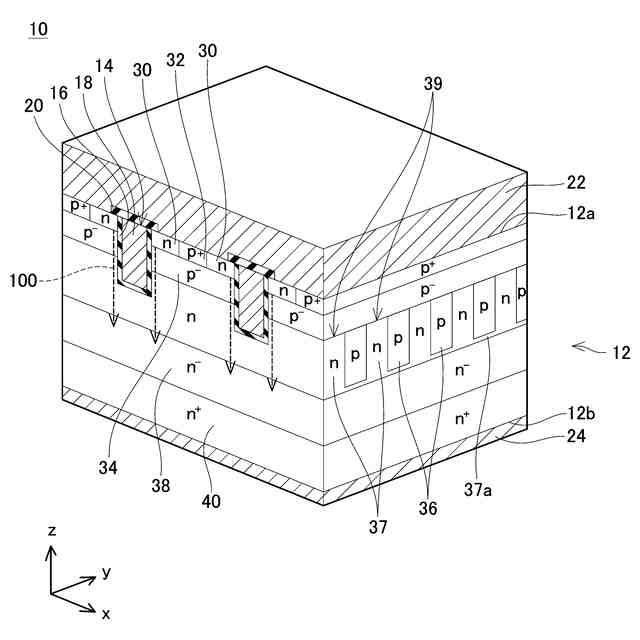
MOSFET10の断面斜視図(p型ディープ層36を含むxz断面を示す図)。
MOSFET10の製造方法の説明図。
MOSFET10の製造方法の説明図。
MOSFET10の製造方法の説明図。
MOSFET10がオンしているときのn型ディープ層37内の空乏層の分布を示す図。
規格値Dn/DpとMOSFET10の特性の関係を示すグラフ。
第1変形例のMOSFETのp型ディープ層36とn型ディープ層37の拡大断面図。
第2変形例のMOSFETのp型ディープ層36とn型ディープ層37の拡大断面図。
第3変形例のMOSFETのp型ディープ層36とn型ディープ層37の拡大断面図。
【発明を実施するための形態】
【0009】
本明細書が開示する一例の電界効果トランジスタでは、前記複数のn型ディープ層が、前記ボディ層の前記下面から前記複数のp型ディープ層の前記下面の深さまで伸びていてもよい。この場合、前記複数のn型ディープ層が、前記ボディ層の前記下面から前記複数のp型ディープ層の前記下面よりも下側まで伸びていてもよい。
【0010】
これらの構成によれば、間隔部の全体をn型不純物濃度が高いn型ディープ層で構成することができる。したがって、電界効果トランジスタのオン抵抗をより低減することができる。
(【0011】以降は省略されています)
この特許をJ-PlatPat(特許庁公式サイト)で参照する
関連特許
株式会社デンソーウェーブ
筐体
4日前
株式会社デンソー
接合体
1か月前
株式会社デンソー
車載器
17日前
株式会社デンソー
回転機
4日前
株式会社デンソー
ねじ部材
17日前
株式会社デンソー
電子装置
11日前
株式会社デンソー
電子装置
12日前
株式会社デンソー
反力装置
11日前
株式会社デンソー
ステータ
17日前
株式会社デンソー
ステータ
17日前
株式会社デンソー
検出装置
3日前
株式会社デンソーエレクトロニクス
発音装置
21日前
株式会社デンソー
電子装置
21日前
株式会社デンソーテン
インバータ
11日前
株式会社デンソー
半導体装置
17日前
株式会社デンソー
電流センサ
4日前
株式会社デンソー
レーダ装置
10日前
株式会社デンソー
農業用装置
13日前
株式会社デンソー
レーダ装置
21日前
株式会社デンソー
電子制御装置
17日前
株式会社デンソー
車載システム
11日前
株式会社デンソー
車載システム
11日前
株式会社デンソー
制御システム
24日前
株式会社デンソーエアクール
換気空調装置
18日前
株式会社デンソー
ステータコア
24日前
株式会社デンソー
衝突予測装置
12日前
株式会社デンソー
電気化学セル
21日前
株式会社デンソー
衝突予測装置
12日前
株式会社デンソーテン
車載映像装置
17日前
株式会社デンソー
電力変換装置
13日前
株式会社デンソー
電波吸収装置
21日前
株式会社デンソー
電圧検出回路
13日前
株式会社デンソー
電力変換装置
17日前
株式会社デンソー
通信システム
21日前
株式会社デンソー
電子制御装置
21日前
株式会社デンソー
車両制御装置
11日前
続きを見る
他の特許を見る