TOP
|
特許
|
意匠
|
商標
特許ウォッチ
Twitter
他の特許を見る
10個以上の画像は省略されています。
公開番号
2025159637
公報種別
公開特許公報(A)
公開日
2025-10-21
出願番号
2024062362
出願日
2024-04-08
発明の名称
既設橋脚におけるアンカーボルトの施工方法およびブラケットの取付構造
出願人
大成建設株式会社
代理人
弁理士法人磯野国際特許商標事務所
主分類
E01D
22/00 20060101AFI20251014BHJP(道路,鉄道または橋りょうの建設)
要約
【課題】既設橋脚の重量増加を抑えつつ、既設橋脚に固定したアンカーボルトの引き抜き耐力を十分に確保できるアンカーボルトの施工方法を提供する。
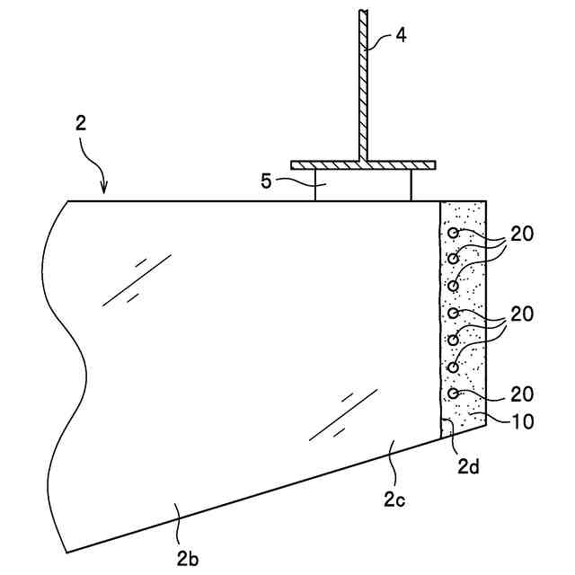
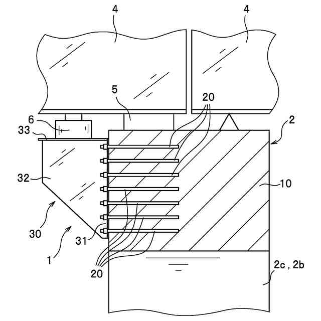
【解決手段】コンクリート造の既設橋脚2におけるアンカーボルト20の施工方法であって、既設橋脚2の側端部2cの一部を除去する工程と、既設橋脚2の側端部2cに形成された切削仕上げ面2dに、繊維補強コンクリートを打設して打替部10を形成する工程と、打替部10にアンカーボルト20を固定する工程と、を備えている。
【選択図】図4
特許請求の範囲
【請求項1】
コンクリート造の既設橋脚におけるアンカーボルトの施工方法であって、
前記既設橋脚の側端部の一部を除去するコンクリート除去工程と、
前記コンクリート除去工程において前記既設橋脚の側端部に形成された切削仕上げ面に、繊維補強コンクリートを打設して打替部を形成する繊維補強コンクリート打設工程と、
前記打替部にアンカーボルトを固定するアンカーボルト固定工程と、を備えていることを特徴とする既設橋脚におけるアンカーボルトの施工方法。
続きを表示(約 740 文字)
【請求項2】
コンクリート造の既設橋脚におけるアンカーボルトの施工方法であって、
前記既設橋脚の側端部の一部を除去するコンクリート除去工程と、
前記コンクリート除去工程において前記既設橋脚の側端部に形成された切削仕上げ面の側方に、アンカーボルトを配置するアンカーボルト配置工程と、
前記切削仕上げ面に繊維補強コンクリートを打設して打替部を形成し、前記打替部に前記アンカーボルトを固定する繊維補強コンクリート打設工程と、を備えていることを特徴とする既設橋脚におけるアンカーボルトの施工方法。
【請求項3】
前記繊維補強コンクリート打設工程では、
前記既設橋脚の側端部の一部を除去する前の前記既設橋脚の側端部の範囲内で、前記切削仕上げ面に前記繊維補強コンクリートを打設して前記打替部を形成することを特徴とする請求項1または請求項2に記載の既設橋脚におけるアンカーボルトの施工方法。
【請求項4】
前記既設橋脚は、鉄筋コンクリート造であり、
前記コンクリート除去工程では、
前記既設橋脚の側端部のコンクリートを除去して鉄筋を露出させることを特徴とする請求項1または請求項2に記載の既設橋脚におけるアンカーボルトの施工方法。
【請求項5】
コンクリート造の既設橋脚におけるブラケットの取付構造であって、
前記既設橋脚の側端部のコンクリートの一部を、繊維補強コンクリートに打ち替えて形成した打替部と、
前記打替部に固定されたアンカーボルトと、
前記アンカーボルトに取り付けられたブラケットと、を備えていることを特徴とする既設橋脚におけるブラケットの取付構造。
発明の詳細な説明
【技術分野】
【0001】
本発明は、既設橋脚におけるアンカーボルトの施工方法およびブラケットの取付構造に関する。
続きを表示(約 1,700 文字)
【背景技術】
【0002】
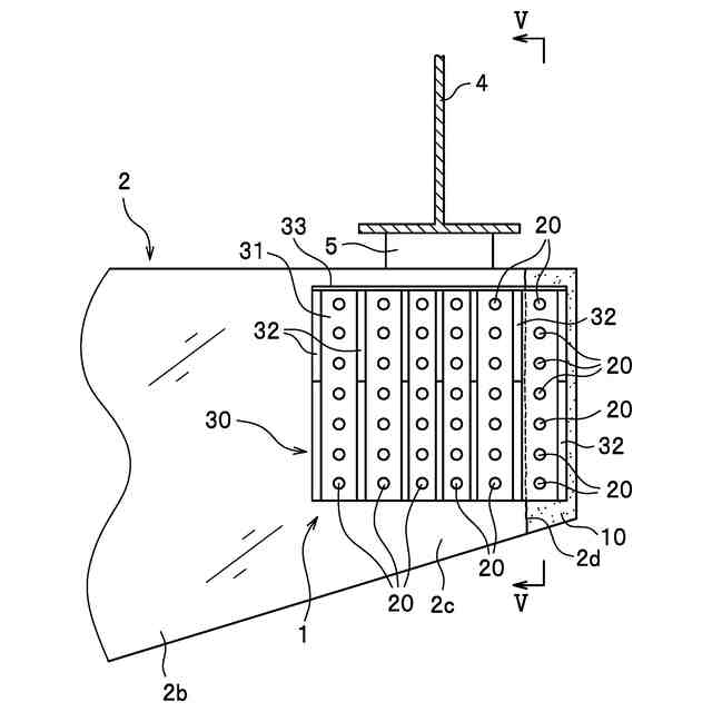
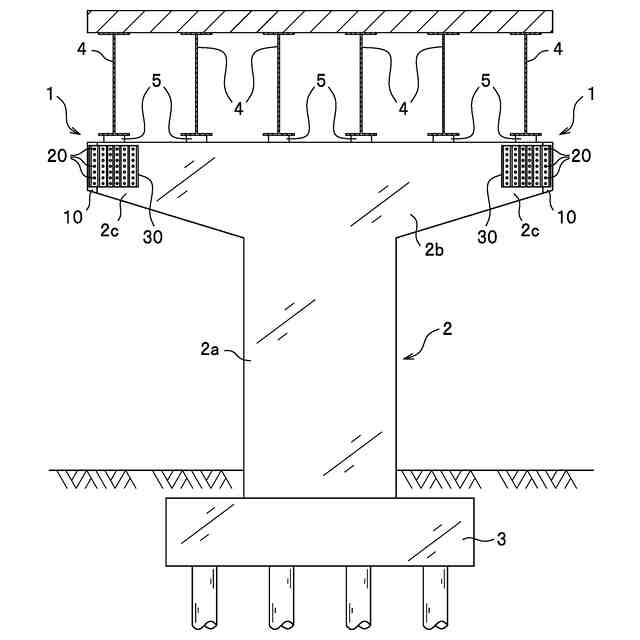
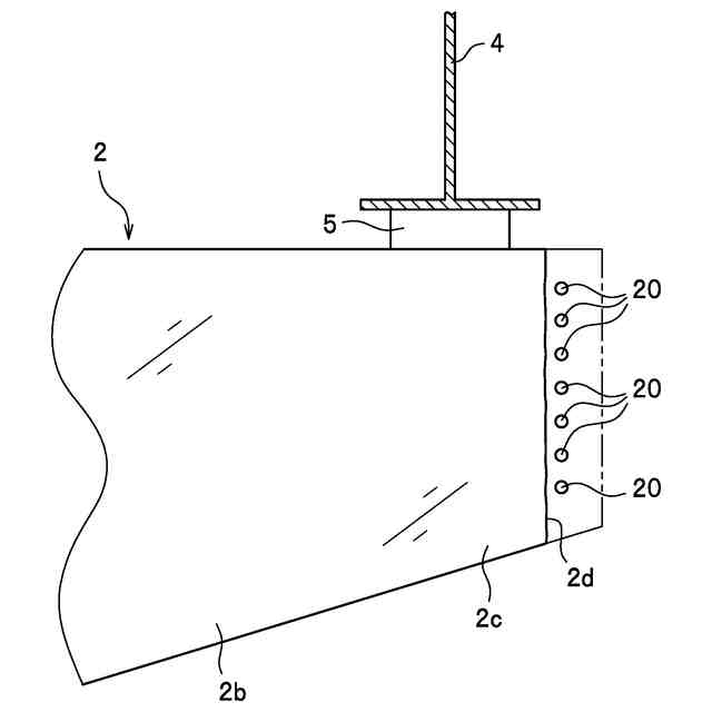
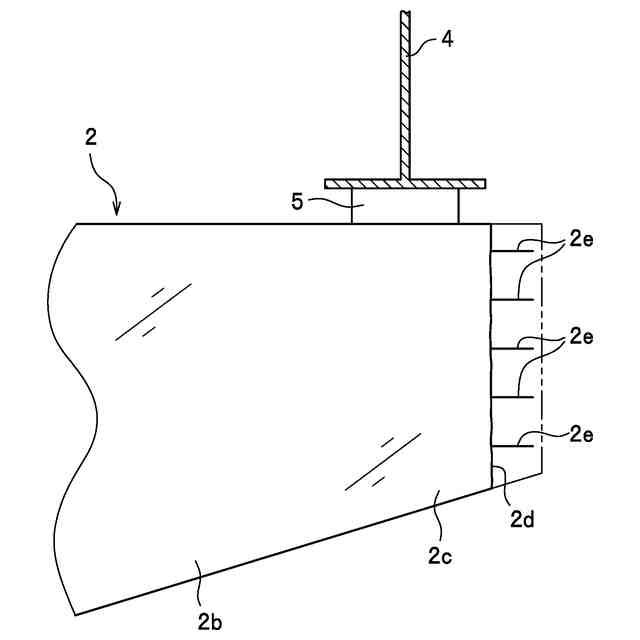
既設橋梁の耐震補強において、橋脚と橋桁との間の支承を交換する際には、橋脚の上部の側端部に複数のアンカーボルトを固定し、各アンカーボルトにブラケットを取り付けることで、橋脚の上部の外面にブラケットを設置している。そして、ブラケットの上面にジャッキを設置し、そのジャッキによって橋桁を支持しながら支承を交換している(例えば、特許文献1参照)。また、支承を交換した後に、ブラケットの上面に水平力分担構造体を設置すれば、橋梁の耐震性能を高めることができる。
【先行技術文献】
【特許文献】
【0003】
特開2002-212916号公報
【発明の概要】
【発明が解決しようとする課題】
【0004】
橋脚の側端面からアンカーボルトまでの距離が小さい場合には、アンカーボルトの引き抜き耐力を十分に確保できない場合がある。この場合には、橋脚の側端面にコンクリートを増設して、橋脚の橋幅方向の断面を大きくすることで、アンカーボルトの引き抜き耐力を確保している。この構成では、橋脚の重量が増加するため、橋脚の基部の補強が必要になる場合がある。
【0005】
本発明は、前記した問題を解決し、既設橋脚の重量増加を抑えつつ、既設橋脚に固定したアンカーボルトの引き抜き耐力を十分に確保できるアンカーボルトの施工方法およびブラケットの取付構造を提供することを課題とする。
【課題を解決するための手段】
【0006】
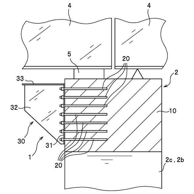
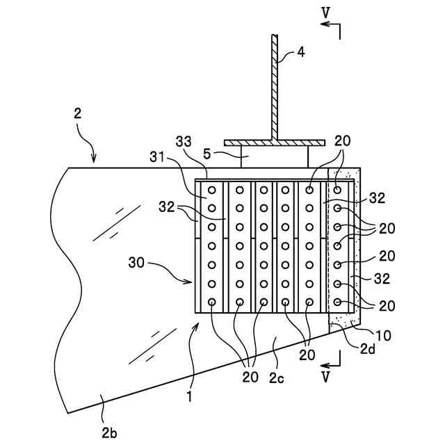
前記課題を解決するため、第一の発明は、コンクリート造の既設橋脚におけるアンカーボルトの施工方法であって、前記既設橋脚の側端部の一部を除去するコンクリート除去工程と、前記コンクリート除去工程において前記既設橋脚の側端部に形成された切削仕上げ面に、繊維補強コンクリートを打設して打替部を形成する繊維補強コンクリート打設工程と、前記打替部にアンカーボルトを固定するアンカーボルト固定工程と、を備えている。
【0007】
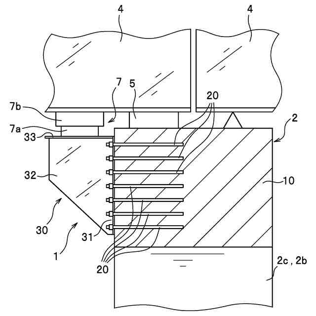
前記課題を解決するため、第二の発明は、コンクリート造の既設橋脚におけるアンカーボルトの施工方法であって、前記既設橋脚の側端部の一部を除去するコンクリート除去工程と、前記コンクリート除去工程において前記既設橋脚の側端部に形成された切削仕上げ面の側方に、アンカーボルトを配置するアンカーボルト配置工程と、前記切削仕上げ面に繊維補強コンクリートを打設して打替部を形成し、前記打替部に前記アンカーボルトを固定する繊維補強コンクリート打設工程と、を備えている。
【0008】
本発明の繊維補強コンクリートに練り込まれる繊維の種類は限定されるものではない。例えば、金属繊維(鋼繊維など)、合成繊維(炭素繊維、PVA(polyvinyl alcohol)繊維、アラミド繊維など)、無機繊維(シリカ繊維、バサルト繊維など)をコンクリートに練り込むことができる。
【0009】
本発明では、既設橋脚の側端部の一部を繊維補強コンクリートに打ち替えて、その打替部にアンカーボルトを固定している。アンカーボルトの引き抜き耐力はコンクリートの圧縮強度に相関しているため、圧縮強度と引張特性の大きい繊維補強コンクリートにアンカーボルトを固定することで、アンカーボルトの引き抜き耐力を十分に確保できる。
本発明では、既設橋脚の側端部の一部を除去した後に、その側端部の切削仕上げ面に繊維補強コンクリートを打設するため、既設橋脚の側端部の一部を除去せずに、コンクリートを増設した場合に比べて、既設橋脚の重量増加を抑えることができる。
【0010】
前記したアンカーボルトの施工方法における前記繊維補強コンクリート打設工程では、前記既設橋脚の側端部の一部を除去する前の前記既設橋脚の側端部の範囲内で、前記切削仕上げ面に前記繊維補強コンクリートを打設して前記打替部を形成することが好ましい。
この構成では、打替部の大きさを抑えて、既設橋脚の重量増加を抑えるとともに、既設橋脚が建築限界を超えるのを防ぐことができる。
(【0011】以降は省略されています)
この特許をJ-PlatPat(特許庁公式サイト)で参照する
関連特許
大成建設株式会社
推定方法
1日前
大成建設株式会社
木質複合構造
1か月前
大成建設株式会社
ペレット製造装置
22日前
大成建設株式会社
摩擦制振ダンパー
29日前
大成建設株式会社
既存建物の解体方法
21日前
大成建設株式会社
杭の施工方法および杭
25日前
大成建設株式会社
木材性状推定システム
16日前
大成建設株式会社
床版接合部の設計方法
25日前
大成建設株式会社
浚渫用施設および浚渫方法
1か月前
大成建設株式会社
木材縦弾性係数推定システム
16日前
大成建設株式会社
足場装置および足場構築方法
2日前
大成建設株式会社
土壌改良剤、及び土壌改良方法
10日前
大成建設株式会社
免震基礎構造およびその構築方法
14日前
大成建設株式会社
地下水排水構造と地下水排水方法
21日前
大成建設株式会社
到達立坑における掘進機の回収方法
25日前
大成建設株式会社
単杭の極限先端支持力度の評価方法
7日前
大成建設株式会社
異種コンクリートの切替り特定方法
21日前
大成建設株式会社
凍結地盤の掘削土の排土装置と排土方法
21日前
大成建設株式会社
内空変位計測システム及び内空変位計測方法
今日
大成建設株式会社
既設トンネルの坑口補強構造と坑口補強方法
21日前
大成建設株式会社
吊荷向き制御システムおよびブレード設置方法
1か月前
大成建設株式会社
消音設計支援システム、防振設計支援システム
今日
大成建設株式会社
既設トンネルと分岐トンネルの接合構造と接合方法
21日前
大成建設株式会社
上面増厚床版の非破壊評価方法及び非破壊評価システム
22日前
大成建設株式会社
上下の既設トンネルを繋ぐ接合トンネルとその施工方法
21日前
大成建設株式会社
鋼管により形成される立坑の坑口補強構造と坑口補強方法
25日前
大成建設株式会社
作業環境監視システム及び作業環境監視システムの監視方法
22日前
大成建設株式会社
インバート変位計測システムおよびインバート変位計測方法
1日前
大成建設株式会社
遊離脂肪酸の分離方法および遊離脂肪酸生産微生物の培養方法
23日前
大成建設株式会社
積層体部材、構造体、積層体部材を用いて構造体を構築する方法
今日
大成建設株式会社
半潜水浮体式基礎
21日前
大成建設株式会社
接触回避システム
1か月前
大成建設株式会社
塔体の建て起こし装置
24日前
アキレス株式会社
養生シート製品、養生区画、及び養生区画の構築方法
7日前
大成建設株式会社
既設橋脚におけるアンカーボルトの施工方法およびブラケットの取付構造
3日前
大成建設株式会社
分岐トンネル施工用の発進設備と、分岐トンネル施工用の掘進機の発進方法
25日前
続きを見る
他の特許を見る