TOP
|
特許
|
意匠
|
商標
特許ウォッチ
Twitter
他の特許を見る
公開番号
2025160686
公報種別
公開特許公報(A)
公開日
2025-10-23
出願番号
2024063396
出願日
2024-04-10
発明の名称
選別供給システム
出願人
株式会社ナベル
代理人
個人
,
個人
,
個人
,
個人
,
個人
,
個人
主分類
A01K
43/04 20060101AFI20251016BHJP(農業;林業;畜産;狩猟;捕獲;漁業)
要約
【課題】選別装置に間違った卵が搬送されてしまうことを防止する。
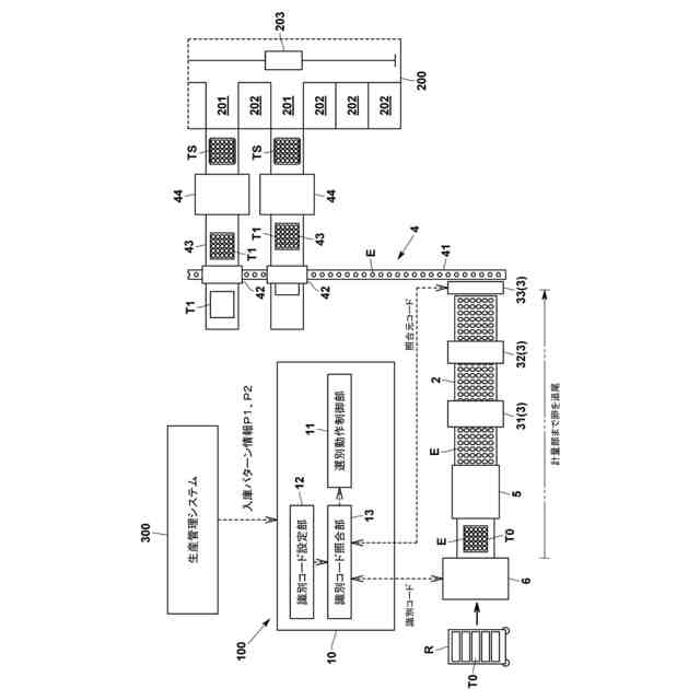
【解決手段】選別装置4に卵Eを搬送する卵搬送部2と、卵搬送部2の途中又は終端部に設けられ、卵Eの処理を行う卵処理部3と、卵搬送部2に供給される卵Eの識別コードを設定する識別コード設定部12と、卵搬送部2により搬送される卵Eを卵処理部3まで追尾して、卵処理部3において、追尾した卵Eの識別コードと所定の照合元識別コードとを照合する識別コード照合部13とを備える。
【選択図】図1
特許請求の範囲
【請求項1】
卵を選別して供給する選別供給システムであって、
選別装置に卵を搬送する卵搬送部と、
前記卵搬送部の途中又は終端部に設けられ、前記卵の処理を行う卵処理部と、
前記卵搬送部に供給される前記卵の識別コードを設定する識別コード設定部と、
前記卵搬送部により搬送される前記卵を前記卵処理部まで追尾して、前記卵処理部において、前記追尾した卵の前記識別コードと所定の照合元識別コードとを照合する識別コード照合部とを備える、選別供給システム。
続きを表示(約 410 文字)
【請求項2】
自動倉庫に前記卵を選別して供給するものであり、
前記識別コード設定部は、前記自動倉庫への前記卵の入庫パターン情報に対して前記卵搬送部に供給される前記卵の識別コードを紐付けて設定するものであり、
前記識別コード照合部は、前記追尾した卵の前記識別コードと、前記照合元識別コードである前記入庫パターン情報に紐付けられた前記識別コードとを照合する、請求項1に記載の選別供給システム。
【請求項3】
前記卵処理部は、前記卵搬送部の終端部に設けられ、前記卵の計量を行う計量部である、請求項1又は2に記載の選別供給システム。
【請求項4】
前記識別コード照合部によって、前記追尾した卵の前記識別コードと前記照合元識別コードとが不一致と判断された場合に、選別供給システムによる選別動作を停止する選別動作制御部をさらに備える、請求項1又は2に記載の選別供給システム。
発明の詳細な説明
【技術分野】
【0001】
本発明は、卵を選別して供給する選別供給システムに関するものである。
続きを表示(約 1,100 文字)
【背景技術】
【0002】
選別供給システムは、GPセンター等に設置されており、複数の養鶏場から搬入された原卵をサイズ別に選別して卵パック等の卵容器に収容したり、自動倉庫に入庫するためのトレイに収容したりするものである。
【0003】
この選別供給システムは、特許文献1に示すように、原卵を搬送装置に移し換える原卵供給部と、搬送装置により搬送された原卵を計量する計量部と、計量部の計量結果に基づいて原卵を選別する分配部(選別装置)とを備えている。また、搬送装置には、計量部よりも上流側に原卵の異常(ヒビ、汚れ、血などの混入)を検査する検査部が設けられている。
【0004】
そして、従来の選別供給システムでは、原卵の種類によって、パック卵の生産パターン情報や自動倉庫の入庫パターン情報等が設定される。
【0005】
しかしながら、従来の選別供給システムでは、搬送装置によって搬送される原卵が生産パターン情報や入庫パターン情報等に合致したものかを確認していない。
【0006】
そのため、生産パターン情報や入庫パターン情報等の設定ミス、又は、搬送装置に供給した原卵の間違いが発生した場合に、生産パターン情報とは異なるパック卵が生産されたり、入庫パターン情報とは異なる卵が入庫されたりしてしまう。
【先行技術文献】
【特許文献】
【0007】
特開2020-140543号公報
【発明の概要】
【発明が解決しようとする課題】
【0008】
そこで、本発明は、上記問題点を解決すべくなされたものであり、選別装置に間違った卵が搬送されてしまうことを防止することを課題とするものである。
【課題を解決するための手段】
【0009】
すなわち、本発明に係る選別供給システムは、卵を選別して供給する選別供給システムであって、選別装置に卵を搬送する卵搬送部と、前記卵搬送部の途中又は終端部に設けられ、前記卵の処理を行う卵処理部と、前記卵搬送部に供給される前記卵の識別コードを設定する識別コード設定部と、前記卵搬送部により搬送される前記卵を前記卵処理部まで追尾して、前記卵処理部において、前記追尾した卵の前記識別コードと所定の照合元識別コードとを照合する識別コード照合部とを備えることを特徴とする。
【0010】
この選別供給システムであれば、卵処理部において、追尾した卵の識別コードと照合元識別コードとを照合することにより、卵処理部において卵の間違いを見つけることができる。その結果、選別装置に間違った卵が搬送されてしまうことを防止できる。
(【0011】以降は省略されています)
この特許をJ-PlatPat(特許庁公式サイト)で参照する
関連特許
株式会社ナベル
供給システム
1日前
株式会社ナベル
選別供給システム
1日前
株式会社ナベル
鉄道模型用車輌接続具
8日前
個人
草刈り鋏
7日前
個人
蠅捕獲器
3日前
個人
虫捕り器
25日前
個人
刈込鋏保持具
21日前
個人
後付巻降ろし器
25日前
個人
草刈機用回転刃
3日前
個人
種子の製造方法
今日
個人
飼育容器
1か月前
株式会社丹勝
緑化工法
22日前
個人
イカ釣り用ヤエン
25日前
個人
昆虫捕集器
今日
株式会社シマノ
釣竿
25日前
井関農機株式会社
作業車両
25日前
井関農機株式会社
作業車両
25日前
井関農機株式会社
作業車両
15日前
井関農機株式会社
作業車両
23日前
井関農機株式会社
作業車両
15日前
個人
四足動物用装着具
8日前
個人
水耕栽培システム
1か月前
大栄工業株式会社
捕獲器
15日前
井関農機株式会社
作業車両
8日前
井関農機株式会社
作業車両
3日前
株式会社オーツボ
海苔箱船
7日前
井関農機株式会社
作業車両
21日前
個人
伸縮する草刈り機の可動装置。
25日前
松山株式会社
農作業機
1か月前
松山株式会社
農作業機
21日前
トヨタ自動車株式会社
育苗装置
22日前
個人
飼育水槽用の浄化装置
29日前
みのる産業株式会社
茎葉処理装置
9日前
スガノ農機株式会社
圃場作業装置
22日前
グローブライド株式会社
釣竿
15日前
株式会社スズテック
播種装置
7日前
続きを見る
他の特許を見る