TOP
|
特許
|
意匠
|
商標
特許ウォッチ
Twitter
他の特許を見る
公開番号
2025160702
公報種別
公開特許公報(A)
公開日
2025-10-23
出願番号
2024063427
出願日
2024-04-10
発明の名称
ルアー
出願人
株式会社シマノ
代理人
個人
,
個人
,
個人
,
個人
主分類
A01K
85/00 20060101AFI20251016BHJP(農業;林業;畜産;狩猟;捕獲;漁業)
要約
【課題】フッキング率の低下を抑制できる。
【解決手段】ボディ本体10の表面に形成された凹部13に設けられる保持スリット15と、凹部13に一部が挿入され、保持スリット15によって回転位置が固定状態で保持される胴部フックアイ40と、凹部13に設けられ、胴部フックアイ40の凹部13からの抜け出しを規制する規制リング44と、を備える。胴部フックアイ40は、保持スリット15による保持が解除されたときに規制リング44で抜け出しが規制された状態で、凹部13において回転自在に設けられ、胴部フックアイ40を保持スリット15側に付勢する磁石16を有する構成のルアーを提供する。
【選択図】図2
特許請求の範囲
【請求項1】
ボディの表面に形成された凹部に設けられる保持部と、
前記凹部に一部が挿入され、前記保持部によって回転位置が固定状態で保持されるフックアイと、
前記凹部に設けられ、前記フックアイの前記凹部からの抜け出しを規制する規制部と、を備え、
前記フックアイは、前記保持部による保持が解除されたときに前記規制部で抜け出しが規制された状態で、前記凹部において回転自在に設けられ、
前記フックアイを保持部側に付勢する付勢部材を有する、ルアー。
続きを表示(約 260 文字)
【請求項2】
前記保持部は、前記凹部の底部に設けられる、請求項1に記載のルアー。
【請求項3】
前記フックアイは磁性体であり、
前記付勢部材は、前記フックアイを吸着する磁石である、請求項1又は2に記載のルアー。
【請求項4】
前記付勢部材は、前記フックアイを弾性により付勢する弾性部材である、請求項1又は2に記載のルアー。
【請求項5】
前記規制部は、前記フックアイに設けられ、前記凹部の内側から前記凹部の開口に係止する係止部である、請求項1又は2に記載のルアー。
発明の詳細な説明
【技術分野】
【0001】
本発明は、ルアーに関する。
続きを表示(約 1,600 文字)
【背景技術】
【0002】
従来、魚釣り用のルアーでは、フッキングした後にローリングを繰り返す魚(トラウト等)の場合において、通常の管付きフックを用いると、ルアーに対するフックの回転可動域が足りず、ハリ外れに繋がりやすい。そこで、ボディ側のフックアイにスイベルを採用し、回転可動域を増やすルアーが知られている。
また、魚釣り用のルアーとして、フックそのものを固定する構成ものも知られている(例えば、特許文献1参照)。
【先行技術文献】
【特許文献】
【0003】
特許第4083069号公報
【発明の概要】
【発明が解決しようとする課題】
【0004】
しかしながら、従来のフックアイにスイベルを使用するルアーでは、シングルフック採用時にフックポイントが定められず、フッキング率が低下するおそれがある。
また、上述した特許文献1に記載のルアーでは、遊動に比べて魚の吸い込みに対してフックが追従しづらく、フッキング率が低下することから、その点で改善の余地があった。
【0005】
本発明は、このような事情に考慮してなされたもので、その目的は、フッキング率の低下を抑制できるルアーを提供することである。
【課題を解決するための手段】
【0006】
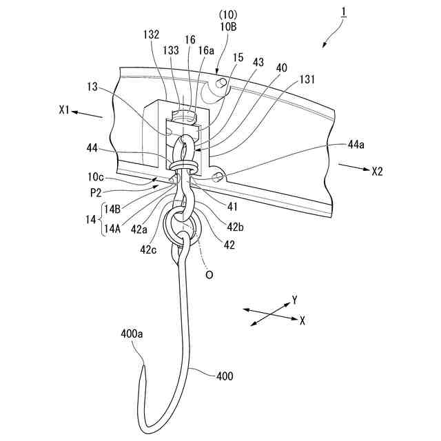
(1)本発明に係るルアーの態様1は、ボディの表面に形成された凹部に設けられる保持部と、凹部に一部が挿入され、保持部によって回転位置が固定状態で保持されるフックアイと、凹部に設けられ、フックアイの凹部からの抜け出しを規制する規制部と、を備え、フックアイは、保持部による保持が解除されたときに規制部で抜け出しが規制された状態で、凹部において回転自在に設けられ、フックアイを保持部側に付勢する付勢部材を有することを特徴としている。
【0007】
本発明に係るルアーの態様1によれば、凹部に一部が挿入されたフックアイが付勢部材によって保持部側に付勢され、フックアイが凹部に設けられる保持部によって回転位置を固定した状態で保持される。これにより、フックアイを所定の回転位置で保持することができる。すなわち、魚がかかるまでは、フックアイに支持される釣り針(フック)を意図した向きにして取り付けることができる。このとき、フックアイ自体が付勢部材によって保持部側に付勢された状態で保持部に保持されただけであるので、魚がかかったときには、フックアイが付勢部材の付勢に抗して保持部の保持状態が解除されて回転可能となる。これにより、フックアイの回転可動域がスイベルアイと同等になり、釣り針が外れるリスクを低減でき、フッキング率の低下を抑制できる。また、魚がかかったときには、フックアイが規制部によって凹部からの抜け出しが規制される。そして、フックアイを所定の回転位置に戻すだけでフックアイは付勢部材に付勢されて保持部に保持される。
【0008】
(2)本発明の態様2は、態様1のルアーにおいて、保持部は、凹部の底部に設けられることが好ましい。
【0009】
この場合には、凹部の底部に設けられる保持部がフックアイの回転中心線上に位置するので、凹部に挿入したフックアイを回転させやすく、凹部内でフックアイの回転位置を変えて容易に保持部に保持させることができる。また、魚がかかったときに、凹部の底部から離反する方向にフックアイが引っ張られることから、保持部で保持されているフックアイの保持状態をスムーズに解除することができる。
【0010】
(3)本発明の態様3は、態様1又は態様2のルアーにおいて、フックアイは磁性体であり、付勢部材は、フックアイを吸着する磁石であることが好ましい。
(【0011】以降は省略されています)
この特許をJ-PlatPat(特許庁公式サイト)で参照する
関連特許
株式会社シマノ
ルアー
今日
株式会社シマノ
ルアー
1日前
株式会社シマノ
フィッシングシューズ
14日前
株式会社シマノ
スプール及びスピニングリール
14日前
株式会社シマノ
人力駆動車用の検出装置、および、人力駆動車用のドライブユニット
15日前
株式会社シマノ
車両用の電力供給システム、車両用の給電装置、中間装置、および、車両用の給電アセンブリ
14日前
株式会社シマノ
人力駆動車用の制御装置、人力駆動車用の制御システム、および、人力駆動車用の頭部保護装置
9日前
株式会社シマノ
人力駆動車用の制御装置、人力駆動車用のコンポーネント、および、電動コンポーネント用の制御装置
21日前
個人
蠅捕獲器
3日前
個人
草刈り鋏
7日前
個人
刈込鋏保持具
21日前
個人
草刈機用回転刃
3日前
個人
種子の製造方法
今日
個人
イカ釣り用ヤエン
25日前
個人
昆虫捕集器
今日
株式会社丹勝
緑化工法
22日前
井関農機株式会社
作業車両
15日前
井関農機株式会社
作業車両
15日前
井関農機株式会社
作業車両
23日前
個人
四足動物用装着具
8日前
大栄工業株式会社
捕獲器
15日前
井関農機株式会社
作業車両
3日前
株式会社オーツボ
海苔箱船
7日前
井関農機株式会社
作業車両
8日前
井関農機株式会社
作業車両
21日前
松山株式会社
農作業機
21日前
トヨタ自動車株式会社
育苗装置
22日前
みのる産業株式会社
茎葉処理装置
9日前
スガノ農機株式会社
圃場作業装置
22日前
株式会社スズテック
播種装置
7日前
井関農機株式会社
コンバイン
22日前
グローブライド株式会社
釣竿
15日前
株式会社小川農具製作所
穴明け装置
16日前
グローブライド株式会社
釣竿
16日前
株式会社デンソー
農業用装置
17日前
アイミット株式会社
爪とぎ器具
今日
続きを見る
他の特許を見る