TOP
|
特許
|
意匠
|
商標
特許ウォッチ
Twitter
他の特許を見る
10個以上の画像は省略されています。
公開番号
2025160888
公報種別
公開特許公報(A)
公開日
2025-10-23
出願番号
2025055745
出願日
2025-03-28
発明の名称
コレット収納装置
出願人
泰芳機械股分有限公司
代理人
AIPPAY弁理士法人
主分類
B25H
3/00 20060101AFI20251016BHJP(手工具;可搬型動力工具;手工具用の柄;作業場設備;マニプレータ)
要約
【課題】取り出したコレットがツールの寸法に正確であるかを知るために、各前記コレットを1つずつ使用するツールと組み合わせる必要がなくなり、正確な収納、柔軟な配置及び実用性の向上が可能なコレット収納装置を提供する。
【解決手段】
コレット収納装置は、本体と少なくとも2つの外嵌部材を含み、前記本体は、載置面を有し、前記少なくとも2つの外嵌部材は、前記本体の載置面上に間隔をあけて設置され、前記載置面から延伸し、各前記外嵌部材は、コレットのツールクランプ穴を外嵌させることに使用され、前記少なくとも2つの外嵌部材は、異なる内径を有するツールクランプ穴を外嵌させるための異なる外径を有する。各コレットが同じ外観寸法を有すること又は長時間使用後に各コレットの外面の寸法記号が長期間の使用後に損傷して不明瞭になるために各コレットの寸法を正確に知ることができない状況を効果的に回避することができる。
【選択図】図1
特許請求の範囲
【請求項1】
載置面を有する本体と、
少なくとも2つの外嵌部材と、
を含み、
前記少なくとも2つの外嵌部材は、前記本体の載置面上に間隔をあけて設置され、前記載置面から延伸し、各前記外嵌部材は、コレットのツールクランプ穴を外嵌させることに使用され、且つ前記少なくとも2つの外嵌部材は、異なる内径を有するツールクランプ穴を外嵌させるための異なる外径を有する、コレット収納装置。
続きを表示(約 1,200 文字)
【請求項2】
前記本体は、前記載置面の各前記外嵌部材に対応する位置に、各前記外嵌部材に対応する寸法記号が設けられている請求項1に記載のコレット収納装置。
【請求項3】
前記本体には、前記外嵌部材と同数の結合溝が設けられ、各前記結合溝は、前記載置面から下方に凹んで形成され、且つ各前記外嵌部材の一端には、うち1つの前記結合溝と結合するベースが設けられ、各前記外嵌部材を本体に取り外し可能に設置させる請求項1又は2に記載のコレット収納装置。
【請求項4】
前記本体は、前記載置面とは異なる面に前記結合溝と同数の貫通溝が設けられ、各前記貫通溝の一端は、うち1つの結合溝の底面を貫通し、各前記貫通溝を対応する結合溝と連通させ、各前記外嵌部材のベースは、底部に係止孔が設けられ、前記係止孔は、対応する結合溝を貫通して前記貫通溝と相対し、
各前記外嵌部材は、前記係止孔と結合する係止部材が設けられる請求項3に記載のコレット収納装置。
【請求項5】
前記本体には、前記外嵌部材と同数の組立ユニットが設けられ、前記組立ユニットは、互いに結合又は分離して前記本体を形成することができ、各前記組立ユニットには、少なくとも1つの突き合わせ接合部が設けられ、各前記突き合わせ接合部は、前記組立ユニットの側面に設けられ、隣接する2つの組立ユニットを少なくとも2つの前記突き合わせ接合部を介して互いに結合させることができ、且つ各前記外嵌部材は、各前記組立ユニットにそれぞれ設置される請求項1に記載のコレット収納装置。
【請求項6】
前記本体は、各前記組立ユニットに前記外嵌部材に対応する寸法シンボルが設けられる請求項5に記載のコレット収納装置。
【請求項7】
各前記組立ユニットは、箱体であり、前記箱体内には、開口を有し且つコレットを収納させるための収納溝が設けられており、各前記外嵌部材は、前記収納溝内に設けられ且つ前記収納溝の開口から延伸する請求項5又は6に記載のコレット収納装置。
【請求項8】
前記本体は、各前記組立ユニットにカバーが設けられ、前記カバーは、前記組立ユニットと取り外し可能に結合され、前記組立ユニットと対応するカバーとの間にコレットを被覆させる請求項7に記載のコレット収納装置。
【請求項9】
各前記組立ユニットは、前記収納溝の開口の周囲にリングが突設され、前記カバーは、前記リングと結合して前記組立ユニットを覆うことができる請求項8に記載のコレット収納装置。
【請求項10】
各前記カバーは、外面に少なくとも1つの把持部が設けられ、ユーザに前記少なくとも1つの把持部に当接した後、前記カバーを対応する組立ユニットと分離させ、前記組立ユニット内に位置するコレットを取り出して使用させることができる請求項8に記載のコレット収納装置。
(【請求項11】以降は省略されています)
発明の詳細な説明
【技術分野】
【0001】
本発明は、コレット収納装置、特に、正確な収納、柔軟な配置及び実用性の向上が可能なコレット収納装置に関する。
続きを表示(約 3,200 文字)
【背景技術】
【0002】
図14及び図15に示すように、従来のコレット収納装置50は、主にコレット40を収納する機能を提供することに用いられ、従来のコレット収納装置50は、収納ボックス51と保護カバー52が設けられる。収納ボックス51には、市松模様に配列された複数の収納溝511が設けられる。複数の収納溝511は、コレット40を配置するために使用され、同じ寸法を有し、同じ外観の寸法を有するコレット40を収納する。各コレット40には、外面に対応する寸法記号(工具の寸法に対応)が記されている。保護カバー52は、収納ボックス51に被せることができ、収納ボックス51内のコレット40に灰塵又は不純物が堆積することを防ぐ。
【0003】
従来のコレット収納装置50は、コレット40を収納する効果を提供することができるが、各コレット40の長時間の使用後、外面の寸法記号は摩耗して明瞭に表示できなくなる。また、各前記収納溝511には同じ寸法がある。そのため、使用者は、各前記収納溝511に配置された同じ外観の寸法を有するコレット40の寸法記号を知ることができず、取り出したコレット40がツールの寸法に対応するかどうかを知るために、各コレット40を1つずつ使用するツールと組み合わせることしかできず、相対的に使用上の不便を増加させ且つ時間を消費する。さらに、従来のコレット収納装置50の収納ボックス51は一定の体積と形状を有し、そのため、一定数のコレット40しか収納できず、ユーザの要求に応じて調整することができない。例えば、従来のコレット収納装置50をより小さい空間に配置する場合、固定形態の収納ボックス51では上記必要を満たすことができない。さらに、前記収納溝511の数よりも多くのコレット40を保管する必要がある場合、従来のコレット収納装置50ではユーザの要求を満たすことができず、別の従来のコレット収納装置50を別途購入して使用することしかできず、従来のコレット収納装置50の実用性が相対的に制限される。まとめると、従来のコレット収納装置50には改善が必要な点がある。
【発明の概要】
【発明が解決しようとする課題】
【0004】
従来のコレット収納装置の使用時の問題と欠点を解決するために、本発明は、ユーザに異なる記号寸法のコレットを正確に収納させることができ、ユーザにツールに対応するコレットを正確に取り出して使用させることができ、ユーザの要求に応じてコレット収納装置の体積と形状を調整することができるコレット収納装置を提供する。これによって、正確な収納、柔軟な配置及び実用性の向上が可能なコレット収納装置を提供する。
【課題を解決するための手段】
【0005】
上記の目的に基づいて、本発明が提供するコレット収納装置は、載置面を有する本体と、少なくとも2つの外嵌部材と、を含み、前記少なくとも2つの外嵌部材は、前記本体の載置面上に間隔をあけて設置され、前記載置面から延伸し、各前記外嵌部材は、コレットのツールクランプ穴を外嵌させることに使用され、且つ前記少なくとも2つの外嵌部材は、異なる内径を有するツールクランプ穴を外嵌させるための異なる外径を有する。
【発明の効果】
【0006】
上記技術的特徴により、本発明のコレット収納装置は、前記本体上に少なくとも2つの外嵌部材を設置すること、及び各前記外嵌部材が異なる外径を有することにより、ユーザに各コレットを対応する外嵌部材に外嵌することによって異なるツールクランプ穴の寸法のコレットを前記本体の対応する位置に正確に収納させ、ユーザにコレットを取り出す際に前記本体の寸法記号を通じて寸法に対応するコレットを素早く見つけることができ、各コレットが同じ外観寸法を有すること又は長時間使用後に各コレットの外面の寸法記号が長期間の使用後に損傷して不明瞭になるために各コレットの寸法を正確に知ることができない状況を効果的に回避することができる。取り出したコレットがツールの寸法に対応するかどうかを知るために、各前記コレットを1つずつ使用するツールと組み合わせる必要がなくなり、使用が比較的便利で時間を節約することができる。さらに、本発明のコレット収納装置は、各組立ユニットに少なくとも1つの突き合わせ接合部を設置することにより、ユーザに必要に応じて複数の組立ユニットを組み立てることで、異なる空間(小さな空間や狭い空間など)又はコレットの数量要件で前記本体の体積と形状を柔軟に調整させることができ、長尺ストリップ状、L字型、十字型又は市松模様の配置などの多様な構造形態を形成させ、正確な収納、柔軟な配置及び実用性の向上が可能なコレット収納装置を提供する。
【図面の簡単な説明】
【0007】
本発明のコレット収納装置の第1好適実施形態の斜視外観図である。
本発明のコレット収納装置の第1好適実施形態の斜視分解図である。
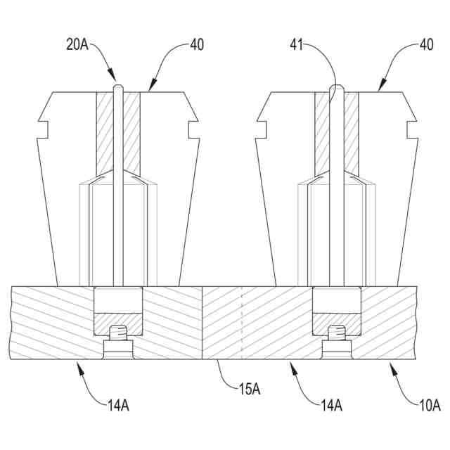
本発明のコレット収納装置の第1好適実施形態の部分断面側面図である。
本発明のコレット収納装置の第2好適実施形態の斜視外観図である。
本発明のコレット収納装置の第2好適実施形態の部分断面側面図である。
本発明のコレット収納装置の第3好適実施形態の斜視外観図である。
本発明のコレット収納装置の第3好適実施形態の斜視分解図である。
本発明のコレット収納装置の第3好適実施形態の部分断面側面図である。
本発明のコレット収納装置の第3好適実施形態の別の斜視分解図である。
本発明のコレット収納装置の第3好適実施形態の突き合わせ接合部の係合説明図である。
本発明のコレット収納装置の第3好適実施形態の突き合わせ接合部の別の係合説明図である。
本発明のコレット収納装置の第3好適実施形態の操作説明図である。
本発明のコレット収納装置の第4好適実施形態の分解上面図である。
本発明のコレット収納装置の第4好適実施形態の組み立て後の上面図である。
従来のコレット収納装置の斜視外観図である。
従来のコレット収納装置の外観上面図である。
【発明を実施するための形態】
【0008】
本発明の技術的特徴と実用効果を詳細に理解し、明細書の内容に従ってそれらを実現可能にするために、更に図示する好適実施形態によって詳細に説明する。
【0009】
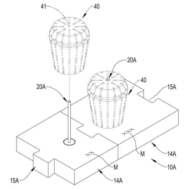
本発明は、コレット収納装置であり、第1好適実施形態は、図1~図3に示すとおりであり、前記コレット収納装置は、本体10及び少なくとも2つの外嵌部材20を含む。
【0010】
前記本体10は、載置面11を有し、前記載置面11は、前記本体10の上面に設けられ、コレット40を配置することに使用される。本発明の第1好適実施形態では、前記本体10は、板体である。前記少なくとも2つの外嵌部材20は、前記本体10の載置面11上に間隔をあけて設置され、前記載置面11から延伸し、各前記外嵌部材20は、コレット40のツールクランプ穴41を外嵌させることに使用され、且つ前記少なくとも2つの外嵌部材20は、異なる外径を有し、異なる内径のツールクランプ穴41を有するコレット40を外嵌させる。さらに、前記本体10は、前記載置面11における各前記外嵌部材20に対応する位置に各前記外嵌部材20に対応する寸法記号Mが設置され、ユーザに外径寸法の異なる各前記外嵌部材20を介してツールクランプ穴41の寸法に対応するコレット40を収納させることができ、また、載置面11に標記された寸法記号Mを介して確認させ、コレット40を正確に収納させることができる。
(【0011】以降は省略されています)
この特許をJ-PlatPat(特許庁公式サイト)で参照する
関連特許
泰芳機械股分有限公司
コレット収納装置
8日前
個人
フラワーホッチキス。
17日前
川崎重工業株式会社
ロボット
1か月前
株式会社不二越
ロボット
29日前
株式会社三協システム
移載装置
1か月前
株式会社竹中工務店
補助セット
29日前
川崎重工業株式会社
ハンド
21日前
株式会社マキタ
ハンマドリル
4日前
株式会社マキタ
ハンマドリル
4日前
SMC株式会社
着脱装置
1か月前
工機ホールディングス株式会社
作業機
21日前
株式会社不二越
移動ロボットシステム
1か月前
トヨタ自動車株式会社
ロボット
24日前
株式会社不二越
エッジ仕上げ装置
1か月前
川崎重工業株式会社
塗装システム
21日前
株式会社不二越
ロボットシステム
1か月前
本田技研工業株式会社
装置
1か月前
株式会社安川電機
ロボット
1日前
株式会社不二越
垂直多関節ロボット
1か月前
トヨタ自動車株式会社
軌道生成装置
24日前
アネックスツール株式会社
ドライバービット
28日前
シンフォニアテクノロジー株式会社
搬送装置
1か月前
工機ホールディングス株式会社
作業機
21日前
ライオン株式会社
移載システム
1か月前
大和ハウス工業株式会社
ねじ回転工具
1か月前
トヨタ自動車株式会社
ロボットハンド
1日前
ワールド技研株式会社
ロボットセル装置
29日前
株式会社マキタ
現場用作業機
10日前
川崎重工業株式会社
ワーク搬送ロボット
21日前
株式会社マキタ
回転打撃工具
24日前
株式会社不二越
ロボットに用いる伝送路
14日前
倉敷紡績株式会社
ハンドおよびコネクタ接続方法
1か月前
NTN株式会社
ハンド
1か月前
トヨタ自動車株式会社
ロボットの制御装置
28日前
山九株式会社
レンチ保持治具
24日前
セイコーエプソン株式会社
ロボット
28日前
続きを見る
他の特許を見る