TOP
|
特許
|
意匠
|
商標
特許ウォッチ
Twitter
他の特許を見る
10個以上の画像は省略されています。
公開番号
2025161872
公報種別
公開特許公報(A)
公開日
2025-10-24
出願番号
2025135170
出願日
2025-08-14
発明の名称
端末、基地局及び通信方法
出願人
株式会社NTTドコモ
代理人
弁理士法人ITOH
主分類
H04W
28/16 20090101AFI20251017BHJP(電気通信技術)
要約
【課題】無線通信システムにおいて、QoSフロー単位によるビットレート制御を行うこと。
【解決手段】端末は、無線ベアラとQoSフロー識別子の組み合わせにより指定されるQoSフローのリストを含む設定情報を含むRRC(Radio Resource Control)メッセージを基地局から受信し、前記リスト内のQoSフローに対するビットレートのインデックスを含むか否かを示すビットと、該ビットに対応するインデックスとを含む、上りリンクのレートを制御する制御情報を含むMAC(Medium Access Control) CE(Control Element)メッセージを前記基地局から受信する受信部と、前記設定情報と前記制御情報に基づいて、QoSフロー単位で上りリンクのビットレートを制御する制御部と、を備える。
【選択図】図7
特許請求の範囲
【請求項1】
無線ベアラとQoSフロー識別子の組み合わせにより指定されるQoSフローのリストを含む設定情報を含むRRC(Radio Resource Control)メッセージを基地局から受信し、
前記リスト内のQoSフローに対するビットレートのインデックスを含むか否かを示すビットと、該ビットに対応するインデックスとを含む、上りリンクのレートを制御する制御情報を含むMAC(Medium Access Control) CE(Control Element)メッセージを前記基地局から受信する受信部と、
前記設定情報と前記制御情報に基づいて、QoSフロー単位で上りリンクのビットレートを制御する制御部と、
を備える端末。
続きを表示(約 1,000 文字)
【請求項2】
前記リスト内のQoSフローに対する、自装置が送信する又は送信可能であるビットレートのインデックスを含むか否かを示すビットと、該ビットに対応するインデックスとを含む、上りリンクのレートを制御する制御情報を含むMAC CEメッセージを前記基地局に送信する送信部を更に備える、
請求項1に記載の端末。
【請求項3】
前記制御部は、規格で定義されたテーブルを使用して、前記インデックスに対応する前記ビットレートを取得する、
請求項1に記載の端末。
【請求項4】
前記制御部は、MAC CEの識別子ごとに設定されたテーブルを使用して、前記インデックスに対応する前記ビットレートを取得する、
請求項1に記載の端末。
【請求項5】
無線ベアラとQoSフロー識別子の組み合わせにより指定されるQoSフローのリストを含む設定情報を含むRRC(Radio Resource Control)メッセージを端末に送信する送信部と、
前記リスト内のQoSフローに対するビットレートの少なくとも一つを設定し、設定した前記ビットレートのインデックスを含むか否かを示すビットと、該ビットに対応するインデックスとを含む、上りリンクのレートを制御する制御情報を含むMAC(Medium Access Control) CE(Control Element)メッセージを生成する制御部と、
を備え、
前記送信部は、生成した前記MAC CEメッセージを前記端末に送信する、
基地局。
【請求項6】
無線ベアラとQoSフロー識別子の組み合わせにより指定されるQoSフローのリストを含む設定情報を含むRRC(Radio Resource Control)メッセージを基地局から受信するステップと、
前記リスト内のQoSフローに対するビットレートのインデックスを含むか否かを示すビットと、該ビットに対応するインデックスとを含む、上りリンクのレートを制御する制御情報を含むMAC(Medium Access Control) CE(Control Element)メッセージを前記基地局から受信するステップと、
前記設定情報と前記制御情報に基づいて、QoSフロー単位で上りリンクのビットレートを制御するステップと、
を端末が実行する通信方法。
発明の詳細な説明
【技術分野】
【0001】
本発明は、通信システムにおける端末、基地局及び通信方法に関する。
続きを表示(約 1,900 文字)
【背景技術】
【0002】
3GPP(登録商標)規格に基づく無線通信システムであるNR(New Radio)(「5G」ともいう)及びNRの後継のシステム(例えば「6G」)においては、要求条件として、大容量のシステム、高速なデータ伝送速度、低遅延、多数の端末の同時接続、低コスト、省電力等を満たす技術が検討されている。
【0003】
NRでは、LTE(Long Term Evolution)のネットワークアーキテクチャにおけるコアネットワークであるEPC(Evolved Packet Core)に対応する5GC(5G Core Network)及びLTEのネットワークアーキテクチャにおけるRAN(Radio Access Network)であるE-UTRAN(Evolved Universal Terrestrial Radio Access Network)に対応するNG-RAN(Next Generation - Radio Access Network)を含むネットワークアーキテクチャが検討されている(例えば非特許文献1)。
が重要である。
【0004】
また、3GPP Rel-19では、遅延に敏感である拡張現実(eXtended Reality(XR))に対する通信において、ネットワークの輻輳を解消するための手段に関して議論されている。ここで、上りリンク(Uplink(UL))のレート制御に対して、ネットワークの輻輳時にULのデータ速度を制限するためのMAC(Medium Access Control) CE(Control Element)として(MAC CEについては非特許文献2を参照可能)、UL Rate Control MAC CEを導入することが合意されている。
【先行技術文献】
【非特許文献】
【0005】
3GPP TS 38.300 V18.6.0(2025-06)
3GPP TS 38.321 V18.6.0(2025-06)
3GPP TS 38.331 V18.6.0(2025-06)
3GPP TSG-RAN WG2 R2-2503558
【発明の概要】
【発明が解決しようとする課題】
【0006】
3GPPでは、上りリンク通信におけるビットレート制御の手段として、UL Rate Control MAC CEによるデータ速度制限をQoS(Quality of Service)フロー単位で行うことが合意されたが、制限対象のQoSフローを指定する方法に関しては、現在議論中であり、規定されていない。
【0007】
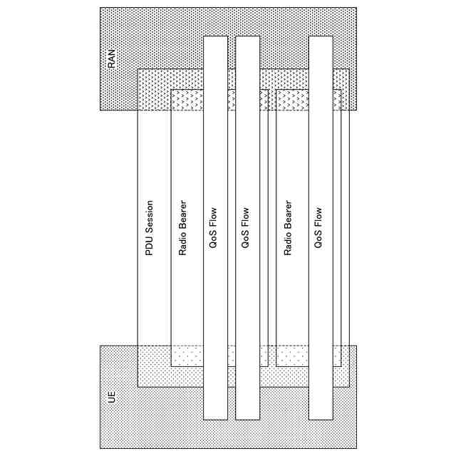
1つのPDU(Protocol Data Unit)セッションの中には、複数のDRB(Data Radio Bearer、データ無線ベアラ)が存在し、1つのDRBの中にQFI(QoS Flow ID)が一意に設定される。ここで、PDUセッションID(8 bit)とQFI(6 bit)を指定することによって、QoSフローを一意に指定することが可能であるが、DRB ID(5 bit)とQFI(6 bit)を用いることで、より少ないビット数でQoSフローを一意に指定することが可能である。
【0008】
本発明は上記の点に鑑みてなされたものであり、無線通信システムにおいて、QoSフロー単位によるビットレート制御を行うことを目的とする。
【課題を解決するための手段】
【0009】
開示の技術によれば、無線ベアラとQoSフロー識別子の組み合わせにより指定されるQoSフローのリストを含む設定情報を含むRRC(Radio Resource Control)メッセージを基地局から受信し、前記リスト内のQoSフローに対するビットレートのインデックスを含むか否かを示すビットと、該ビットに対応するインデックスとを含む、上りリンクのレートを制御する制御情報を含むMAC(Medium Access Control) CE(Control Element)メッセージを前記基地局から受信する受信部と、前記設定情報と前記制御情報に基づいて、QoSフロー単位で上りリンクのビットレートを制御する制御部と、を備える端末が提供される。
【発明の効果】
【0010】
開示の技術によれば、無線通信システムにおいて、QoSフロー単位によるビットレート制御を行うことができる。
【図面の簡単な説明】
(【0011】以降は省略されています)
この特許をJ-PlatPat(特許庁公式サイト)で参照する
関連特許
個人
イヤーマフ
5日前
個人
監視カメラシステム
14日前
キーコム株式会社
光伝送線路
15日前
サクサ株式会社
中継装置
20日前
個人
スキャン式車載用撮像装置
14日前
サクサ株式会社
中継装置
21日前
アイホン株式会社
電気機器
1か月前
個人
映像表示装置、及びARグラス
今日
サクサ株式会社
無線通信装置
20日前
個人
ワイヤレスイヤホン対応耳掛け
1か月前
キヤノン電子株式会社
画像読取装置
13日前
株式会社リコー
画像形成装置
7日前
サクサ株式会社
無線通信装置
20日前
サクサ株式会社
無線システム
19日前
キヤノン株式会社
撮像システム
1か月前
日本電気株式会社
海底分岐装置
15日前
個人
発信機及び発信方法
19日前
キヤノン電子株式会社
画像処理システム
13日前
株式会社NTTドコモ
端末
15日前
株式会社NTTドコモ
端末
15日前
大日本印刷株式会社
写真撮影装置
1か月前
株式会社JVCケンウッド
通信システム
26日前
沖電気工業株式会社
画像形成装置
1か月前
沖電気工業株式会社
画像形成装置
22日前
株式会社NTTドコモ
端末
14日前
株式会社NTTドコモ
端末
14日前
有限会社フィデリックス
マイクロフォン
26日前
株式会社NTTドコモ
端末
14日前
シャープ株式会社
端末装置
12日前
技術開発合同会社
電子拡大鏡
今日
日本無線株式会社
無線通信システム
1か月前
個人
回動アームを構築する関節モジュール
22日前
ダイハツ工業株式会社
人流取得装置
20日前
日本放送協会
広視野角撮像装置
1か月前
洋也株式会社
電子機器
22日前
日本放送協会
広視野角撮像装置
1か月前
続きを見る
他の特許を見る