TOP
|
特許
|
意匠
|
商標
特許ウォッチ
Twitter
他の特許を見る
公開番号
2025147710
公報種別
公開特許公報(A)
公開日
2025-10-07
出願番号
2024048095
出願日
2024-03-25
発明の名称
電子機器
出願人
洋也株式会社
代理人
協明国際弁理士法人
主分類
H04R
1/00 20060101AFI20250930BHJP(電気通信技術)
要約
【課題】防水性及び音声認識機能を備えた電子機器を提供する。
【解決手段】音声認識機能付きの電子機器1であって、基板2に実装された電子部品20を囲むようにハウジング3の裏面30aに形成された区画壁32と、前記区画壁内に設けられ前記ハウジングの集音孔33からの水の浸入を防ぐ通音性を有したシート材5とを有し、前記電子部品と前記集音孔との間に集音空間6を備えていることを特徴とする。前記区画壁と前記基板との間には、弾性材製のスペーサ部材4が隙間なく配されていてもよい。
【選択図】図1
特許請求の範囲
【請求項1】
音声認識機能付きの電子機器であって、
基板に実装された音声を認識する電子部品を囲むようにハウジングの裏面に形成された区画壁と、前記区画壁内に設けられ前記ハウジングの集音孔からの水の浸入を防ぐ通音性を有したシート材とを有し、
前記電子部品と前記集音孔との間に集音空間を備えたことを特徴とする電子機器。
続きを表示(約 81 文字)
【請求項2】
請求項1において、
前記区画壁と前記基板との間には、弾性材製のスペーサ部材が隙間なく配されていることを特徴とする電子機器。
発明の詳細な説明
【技術分野】
【0001】
本発明は、防水性及び音声認識機能を備えた電子機器に関する。
続きを表示(約 1,700 文字)
【背景技術】
【0002】
スマートフォンやタブレット端末などの携帯端末に限らず、テレビ用やエアコン用のリモコン、照明機器等のあらゆる電子機器において、音声を認識するマイク機能を備えたものが登場し、手動で操作せずとも、音声認識で操作可能としたものが種々知られている。また上述のような電子機器は、本来、水などの液体がかかると故障の原因になるが、多少水等で濡れても故障しないような防水性を備えたものや浴室内での使用を想定したものもある。
【0003】
例えば、下記特許文献1には、浴室で使用されることを想定したマイク機能付きのリモコンが開示されている。ここに記載されているリモコンは、マイクとマイク孔との間に形成された空間に水分導入部が設けられているので、マイク孔にマイク孔を塞ぐ水膜ができても、水分導入部によって水膜が破られ、その水分はカバー部材の内側に導入させることができるとされている。また、下記特許文献2には、不織布やメッシュ層で形成されたフィルム状の多孔性部材に、高分子物質で形成される放射溶液を電気放射し、複数の微繊維糸条が交差積層された防水層を形成する防水通音シートが開示されている。
【先行技術文献】
【特許文献】
【0004】
特開2013-138288号公報
特許第6073925号公報
【発明の概要】
【発明が解決しようとする課題】
【0005】
近年は、電子機器を水没させてしまった場合等、いわゆる生活防水と言われる領域を超えたより高い防水性が、音声認識機能付きの電子機器に求められている。そこで、電子機器内への水の浸入を防ぐため、ハウジングの構造やシール部材を介在させて防水性を高めたり、電気回路や素子、基板等の電子部品を封止したものがみられる。しかし、音声認識操作が可能な電子機器の場合、マイク素子を電子部品と同様に封止したり、単にシール部材でシールしてしまうと、集音性が低下することが問題となる。
【0006】
本発明は、上記実情に鑑みてなされたものであり、防水性及び音声認識機能を備えた電子機器を提供することを目的としている。
【課題を解決するための手段】
【0007】
上記目的を達成するために、本発明に係る電子機器は、基板に実装された音声を認識する電子部品を囲むようにハウジングの裏面に形成された区画壁と、前記区画壁内に設けられ前記ハウジングの集音孔からの水の浸入を防ぐ通音性を有したシート材とを有し、前記電子部品と前記集音孔との間に集音空間を備えていることを特徴とする。
【0008】
上記構成において、前記区画壁と前記基板との間には、弾性材製のスペーサ部材が隙間なく配されているものとしてもよい。
【発明の効果】
【0009】
本発明に係る電子機器は、上述のような構成としたことで、防水性と音声認識機能の集音性の両立を図ることができる。
【図面の簡単な説明】
【0010】
(a)は本発明の一実施形態に係る電子機器としてリモコンに適用した例を模式的に示す概略斜視図、(b)は同リモコンのカバー体の裏面側を模式的に示す概略斜視図である。
同リモコンを模式的に示す概略分解斜視図である。
(a)は同リモコンのマイ素子の設置位置を説明するための模式的概略平面図であり、(b)は同リモコンのマイク素子周辺の構造を説明するための模式的概略縦断面図である。
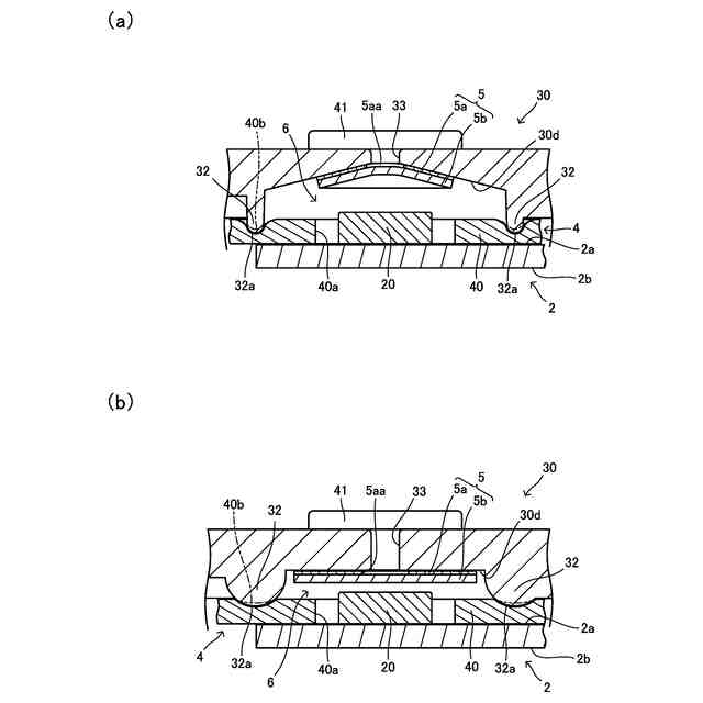
(a)及び(b)は同リモコンのマイク素子周辺の構造の変形例を説明するための模式的概略縦断面図であり、それぞれの一部を拡大して示している。
同リモコンのマイク素子周辺の構造の変形例を説明するための模式的概略縦断面図である。
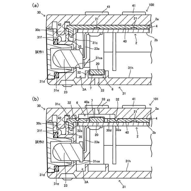
(a)及び(b)はマイク素子周辺の構造の試作例を説明するための模式的概略縦断面図である。
【発明を実施するための形態】
(【0011】以降は省略されています)
この特許をJ-PlatPat(特許庁公式サイト)で参照する
関連特許
洋也株式会社
電子機器
2日前
個人
店内配信予約システム
2か月前
WHISMR合同会社
収音装置
28日前
サクサ株式会社
中継装置
3か月前
サクサ株式会社
中継装置
1日前
サクサ株式会社
中継装置
今日
キヤノン株式会社
撮像装置
3か月前
キヤノン株式会社
電子機器
2か月前
アイホン株式会社
電気機器
22日前
キヤノン株式会社
撮像装置
1か月前
キヤノン電子株式会社
モバイル装置
3か月前
株式会社リコー
画像形成装置
2か月前
株式会社リコー
画像形成装置
1か月前
ヤマハ株式会社
信号処理装置
3か月前
株式会社リコー
画像形成装置
1か月前
サクサ株式会社
無線通信装置
今日
日本精機株式会社
画像投映システム
3か月前
サクサ株式会社
無線通信装置
今日
キヤノン電子株式会社
画像読取装置
29日前
個人
ワイヤレスイヤホン対応耳掛け
20日前
ブラザー工業株式会社
読取装置
1か月前
キヤノン株式会社
撮像システム
22日前
株式会社ニコン
撮像装置
2か月前
DXO株式会社
情報処理システム
2か月前
株式会社小糸製作所
画像照射装置
1か月前
国立大学法人電気通信大学
小型光学装置
1か月前
株式会社松平商会
携帯機器カバー
1か月前
有限会社フィデリックス
マイクロフォン
6日前
大日本印刷株式会社
写真撮影装置
21日前
沖電気工業株式会社
画像形成装置
10日前
パテントフレア株式会社
超高速電波通信
1か月前
キヤノン電子株式会社
シート材搬送装置
1か月前
パテントフレア株式会社
水中電波通信法
2か月前
株式会社JVCケンウッド
通信システム
6日前
沖電気工業株式会社
画像形成装置
2日前
株式会社オーディオテクニカ
受光器
3か月前
続きを見る
他の特許を見る