TOP
|
特許
|
意匠
|
商標
特許ウォッチ
Twitter
他の特許を見る
公開番号
2025140072
公報種別
公開特許公報(A)
公開日
2025-09-29
出願番号
2024039239
出願日
2024-03-13
発明の名称
広視野角撮像装置
出願人
日本放送協会
代理人
個人
,
個人
主分類
H04N
23/698 20230101AFI20250919BHJP(電気通信技術)
要約
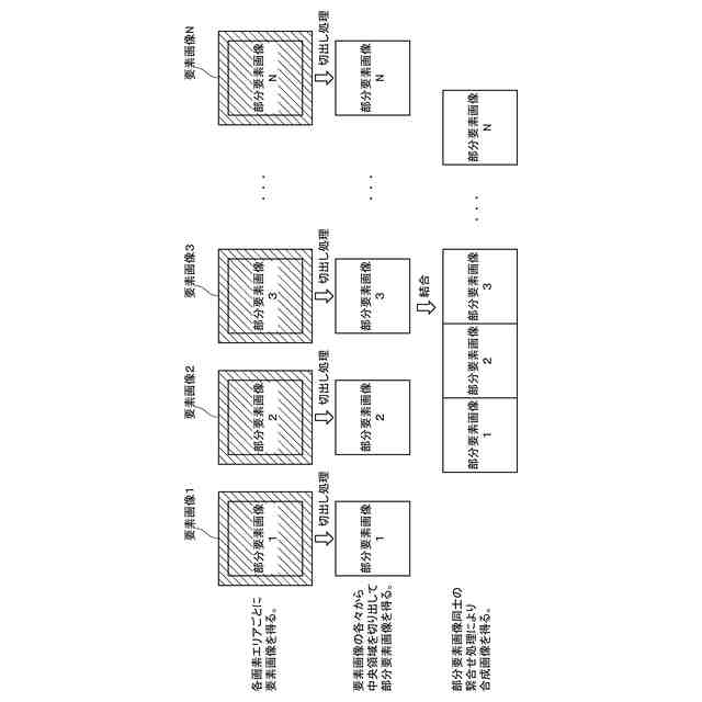
【課題】広視野な画像でありながら、レンズの像面湾曲に伴う画像歪みが低減され、合成した際の繋ぎ目が目立たない画像の取得を可能とし得る広視野角撮像装置を提供する。
【解決手段】半円筒面形状とされた撮像デバイス2と、この撮像デバイス2の外周部分に配された複数の要素レンズ4を備えるとともに、これら複数の要素レンズ4毎に撮像デバイス2上に結像されて得られた要素画像(9)の各々から、この要素画像(9)の中央領域を含む一部領域を切り出して部分要素画像を得、得られた複数の部分要素画像を繋ぎ合せる部分要素画像繋合せ部6を備えている。
【選択図】図1
特許請求の範囲
【請求項1】
断面が、円形状、または円形状の一部とされた撮像デバイスと、この撮像デバイスの外周面に沿って配された複数の要素レンズと、該要素レンズ毎に該撮像デバイス上に結像されて得られた要素画像の各々から、該要素画像の中央領域を含む一部領域を切り出して部分要素画像を得、得られた複数の該部分要素画像を繋ぎ合せる部分要素画像繋合せ部とを備え、
前記要素レンズの各々に対応する前記要素画像が得られる前記撮像デバイス上の領域を画素エリアとした場合に、該画素エリアを、前記要素レンズにより発生した像面湾曲を低減し得るような凹部を有する形状としたことを特徴とする広視野角撮像装置。
続きを表示(約 540 文字)
【請求項2】
前記撮像デバイスの形状が、円筒形状または部分円筒形状とされていることを特徴とする請求項1に記載の広視野角撮像装置。
【請求項3】
前記撮像デバイスは、前記要素レンズの各々に対応する前記画素エリアが連続体とされていることを特徴とする請求項1に記載の広視野角撮像装置。
【請求項4】
前記複数の要素レンズが、対応する前記画素エリアの中心軸と一致する中心軸を有する、全体として円柱形状または円柱台形状に形成されていることを特徴とする請求項1に記載の広視野角撮像装置。
【請求項5】
前記全体として円柱形状または円柱台形状に形成された要素レンズと、この要素レンズに対応する前記画素エリアの前記凹部が同軸上に形成されていることを特徴とする請求項4に記載の広視野角撮像装置。
【請求項6】
隣接する前記要素レンズ同士の間には、クロストーク防止用の隔壁が設けられていることを特徴とする請求項1に記載の広視野角撮像装置。
【請求項7】
前記撮像デバイスは、断面が、円形状、または円形状の一部とされた台座の外周面に着設されていることを特徴とする請求項1~6のうちいずれかに記載の広視野角撮像装置。
発明の詳細な説明
【技術分野】
【0001】
本発明は、パノラマ画像に代表される広い視野(画角)の映像を取得する装置であり、詳しくは、湾曲させた撮像デバイスの外周に複数のレンズを配置した広視野角撮像装置に関するものである。
続きを表示(約 2,100 文字)
【背景技術】
【0002】
近年、魚眼レンズ等の広角レンズを用いて撮影した映像を上回る広視野角をもつ映像を取得することが要望され、これに応じて4Kや8K等に代表される従来の平面、高精細の映像を上回る高い没入感が得られる視聴を実現するための技術の開発が進んでいる。上記のようにして取得された広視野角映像は、湾曲形状を有する広視野角ディスプレイでの表示や、ヘッドマウントディスプレイでの視聴等による没入型コンテンツとして活用されることが想定される。
【0003】
このような広視野角映像を取得する技術としては、従来、例えば、超広角(魚眼)レンズを取り付けた、1台または複数のカメラを用いたものが知られている(下記特許文献1を参照)。
また、自動車の安全運転に寄与するドライブレコーダー用のカメラ装置では、前面用と後面用の2台のカメラ、さらには、死角補償用の2台のカメラを用いて得られた各画像を、別の広角レンズにより取得した情報に基づいて繋ぎ合わせることで広視野撮影を実現しているものが知られている(下記特許文献2を参照)。
さらに、TOMBOと称される重複像眼方式のカメラでは、複数のレンズ群(レンズアレイ)を用いた撮影手法が提案されている(下記特許文献3を参照)。
【先行技術文献】
【特許文献】
【0004】
特開2006-315380号公報
特開2011-250193号公報
特開2001-61109号公報
【発明の概要】
【発明が解決しようとする課題】
【0005】
しかしながら、上記特許文献1に記載された技術においては、超広角(魚眼)レンズの特性上、特に画像周辺部における、湾曲状の画像歪(像面湾曲)の発生が避けられない。
また、上記特許文献2に記載された技術では、特許文献1に記載された技術と同様に、レンズに起因する像面湾曲の発生が避けられない。さらに、複数台のカメラ映像を1枚の画像として合成処理する(画像同士を繋ぎ合せる処理を行う)場合には、画像のつなぎ目が目立ってしまい、必ずしも満足した画像が得られない。
【0006】
さらに、特許文献3に記載された技術では、平面形状の撮像素子を複数の撮像領域に分割して、各々の画像を結合させる方式を採用しているが、撮像素子自体が平面形状をなしており、個々の画像の撮影方向の角度差(視差)は極めて小さいため、広視野撮影を実現することが困難であり、上記特許文献2に記載された技術と同様の理由で、画像の繋ぎ目が目立ってしまう、という課題が発生している。
【0007】
本発明は、上記問題を解決するためになされたものであり、広視野な画像でありながら、レンズ周辺部の像面湾曲に伴う画像歪みが低減され、合成した際の繋ぎ目が目立たない画像の取得を可能とし得る広視野角撮像装置を提供することを目的とするものである。
【課題を解決するための手段】
【0008】
本発明の広視野角撮像装置は、
断面が、円形状、または円形状の一部とされた撮像デバイスと、この撮像デバイスの外周面に沿って配された複数の要素レンズと、該要素レンズ毎に該撮像デバイス上に結像されて得られた要素画像の各々から、該要素画像の中央領域を含む一部領域を切り出して部分要素画像を得、得られた複数の該部分要素画像を繋ぎ合せる部分要素画像繋合せ部とを備え、
前記要素レンズの各々に対応する前記要素画像が得られる前記撮像デバイス上の領域を画素エリアとした場合に、該画素エリアを、前記要素レンズにより発生した像面湾曲を低減し得るような凹部を有する形状としたことを特徴とするものである。
【0009】
また、前記撮像デバイスの形状が、円筒形状または部分円筒形状とされていることが望ましい。ここで、上記「部分円筒形状」とは、横断面において、中心角θが、0<θ<360°の範囲とされたものを称する。
また、前記撮像デバイスは、前記要素レンズの各々に対応する前記画素エリアが連続体とされていることが望ましい。
また、前記複数の要素レンズが、対応する前記画素エリアの中心軸と一致する中心軸を有する、全体として円柱形状または円柱台形状に形成されていることが望ましい。
【0010】
また、前記全体として円柱形状または円柱台形状に形成された要素レンズと、この要素レンズに対応する前記画素エリアの前記凹部が同軸上に形成されていることが望ましい。
また、隣接する前記要素レンズ同士の間には、クロストーク防止用の隔壁が設けられていることが望ましい。
さらに、前記撮像デバイスは、断面が、円形状、または円形状の一部とされた台座の外周面に着設されていることが望ましい。
なお、上記「要素レンズ」には、単レンズのみならず複数枚のレンズを組み合わせたレンズ系も含まれるものとする。
【発明の効果】
(【0011】以降は省略されています)
この特許をJ-PlatPat(特許庁公式サイト)で参照する
関連特許
日本放送協会
収音装置
1か月前
日本放送協会
配線構造
4か月前
日本放送協会
撮像装置
8か月前
日本放送協会
撮像装置
1か月前
日本放送協会
アンテナ装置
1か月前
日本放送協会
基板固定装置
29日前
日本放送協会
無線通信装置
6か月前
日本放送協会
マイクロホン
6か月前
日本放送協会
光学計測装置
7か月前
日本放送協会
磁性細線メモリ
5か月前
日本放送協会
光分布生成装置
1か月前
日本放送協会
磁性細線デバイス
8か月前
日本放送協会
映像伝送システム
5か月前
日本放送協会
広視野角撮像装置
11日前
日本放送協会
広視野角撮像装置
11日前
日本放送協会
無線伝送システム
8か月前
日本放送協会
レンズアダプター
11か月前
日本放送協会
3次元映像表示装置
5か月前
日本放送協会
良撮影位置推定装置
3か月前
日本放送協会
角度選択フィルター
3か月前
日本放送協会
データ管理システム
8か月前
日本放送協会
3次元映像表示装置
1か月前
日本放送協会
送信装置及び受信装置
11か月前
日本放送協会
送信装置及び受信装置
8か月前
日本放送協会
衛星放送受信システム
10か月前
日本放送協会
受信装置及び送出装置
10か月前
日本放送協会
送信装置及び受信装置
7か月前
日本放送協会
送信装置及び受信装置
7か月前
日本放送協会
送信装置及び受信装置
10か月前
日本放送協会
送信装置及び受信装置
29日前
日本放送協会
受信装置及びプログラム
2か月前
日本放送協会
端末装置及びプログラム
9か月前
日本放送協会
受信装置及びプログラム
10か月前
日本放送協会
磁壁移動型空間光変調器
10か月前
日本放送協会
受信装置及びプログラム
1か月前
日本放送協会
縮小装置及びプログラム
2か月前
続きを見る
他の特許を見る