TOP
|
特許
|
意匠
|
商標
特許ウォッチ
Twitter
他の特許を見る
公開番号
2025163307
公報種別
公開特許公報(A)
公開日
2025-10-28
出願番号
2025138715,2024033244
出願日
2025-08-22,2019-10-04
発明の名称
撮像装置
出願人
株式会社ニコン
代理人
個人
,
個人
,
個人
主分類
G03B
35/10 20210101AFI20251021BHJP(写真;映画;光波以外の波を使用する類似技術;電子写真;ホログラフイ)
要約
【課題】撮影範囲の重複量を変更可能な撮像装置を得る。
【解決手段】撮像装置は、接続部により接続され、互いの撮影範囲の重複範囲が変更される2つの撮像部と、前記互いの撮影範囲が第1の範囲で重複する第1の状態から前記互いの撮影範囲が第3の範囲で重複する第3の状態へ前記2つの撮像部の前記互いの撮影範囲の重複範囲が変更される途中の、前記互いの撮影範囲が第2の範囲で重複する第2の状態で、前記2つの撮像部に撮像を許可する制御部と、を備える。
【選択図】図4
特許請求の範囲
【請求項1】
接続部により接続され、互いの撮影範囲の重複範囲が変更される2つの撮像部と、
前記互いの撮影範囲が第1の範囲で重複する第1の状態から前記互いの撮影範囲が第3の範囲で重複する第3の状態へ前記2つの撮像部の前記互いの撮影範囲の重複範囲が変更される途中の、前記互いの撮影範囲が第2の範囲で重複する第2の状態で、前記2つの撮像部に撮像を許可する制御部と、
を備える撮像装置。
発明の詳細な説明
【技術分野】
【0001】
本発明は、撮像装置に関する。
続きを表示(約 2,000 文字)
【背景技術】
【0002】
右目用および左目用の視差画像をそれぞれ取得する複眼カメラが知られている(特許文献1参照)。複眼カメラの撮影部の撮影範囲の重複量は決まっていた。
【先行技術文献】
【特許文献】
【0003】
特開2009-188931号公報
【発明の概要】
【0004】
本発明の一態様による撮像装置は、接続部により接続され、互いの撮影範囲の重複範囲が変更される2つの撮像部と、前記互いの撮影範囲が第1の範囲で重複する第1の状態から前記互いの撮影範囲が第3の範囲で重複する第3の状態へ前記2つの撮像部の前記互いの撮影範囲の重複範囲が変更される途中の、前記互いの撮影範囲が第2の範囲で重複する第2の状態で、前記2つの撮像部に撮像を許可する制御部と、を備える。
【図面の簡単な説明】
【0005】
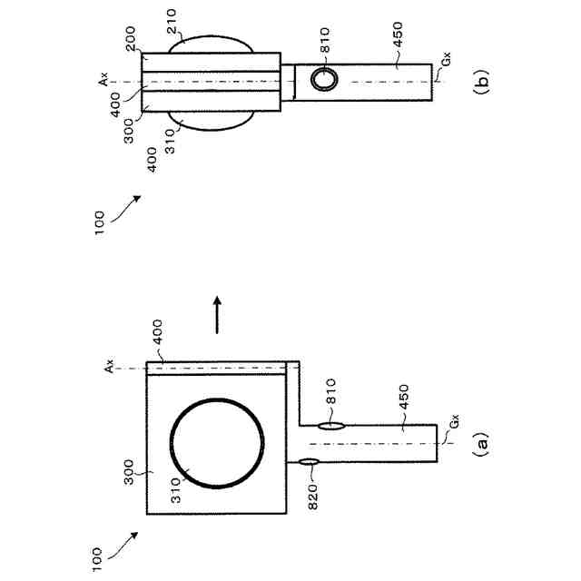
図1(a)は本実施の形態による撮像装置を正面から見た模式図、図1(b)は同撮像装置を側面から見た模式図である。
図2(a)から図2(c)は、図1の2つの撮像部を上から見た模式図であり、2つの撮像部の異なる開き状態を示す図である。
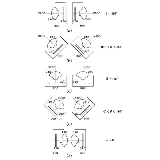
図3(a)から図3(e)は、種々の開き状態における2つの撮像部の向きを示す模式図である。
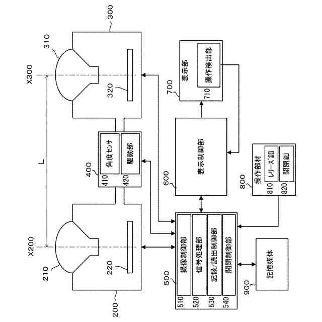
撮像装置の構成を説明する図である。
表示部の動作を説明する模式図であり、図5(a)は収納時を示す図、図5(b)は使用時を示す図である。
撮像装置と対象物を示す模式図である。
撮像装置による撮影範囲を説明する模式図である。
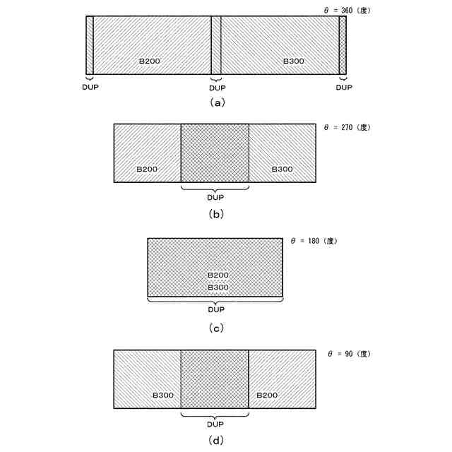
図8(a)は、開き角度θ=360度の場合の重複範囲DUPを示す図、図8(b)は開き角度θ=270度の場合の重複範囲DUPを示す図、図8(c)は、開き角度θ=180度の場合の重複範囲DUPを示す図、図8(d)は、開き角度θ=90度の場合の重複範囲DUPを示す図である。
【発明を実施するための形態】
【0006】
本発明の一実施の形態による撮像装置は、複数の撮像部を有する。各撮像部は、180度以上の範囲を撮影するためのレンズ(魚眼レンズ)と、魚眼レンズの結像面に設けられた撮像素子とを有する。各撮像部において、撮像素子が魚眼レンズによって結像された被写体像を撮像する。レンズとして180度以下の範囲しか撮影できないレンズを用いても構わない。
このような撮像装置の詳細について、図面を参照して説明する。
【0007】
<撮像装置の外観>
図1(a)は、本実施の形態による撮像装置100を正面から見た模式図であり、図1(b)は撮像装置100を側面から見た模式図である。図2(a)から図2(c)は、図1の撮像装置100の2つの撮像部を上から見た模式図であり、2つの撮像部の異なる開き状態を例示する。撮像装置100は、第1の撮像部200と第2の撮像部300とが接続部400によって支持される。接続部400は、いわゆる蝶番と同様の機能を備えており、軸Axの周りに第1の撮像部200と第2の撮像部300とが回動可能である。このように構成したので、第1の撮像部200に対する第2の撮像部300の開き状態(軸Ax周りの開き角度θ)を調節することができる。本例では、開き角度θを360度から0度の範囲で調整できる。
【0008】
図1(a)および図1(b)は、いずれも開き角度θ=360度の開き状態を例示する。図2(a)から図2(c)には、それぞれ開き角度θ=270度、θ=180度、θ=90度の開き状態を例示する。
【0009】
撮像装置100には、棒状の把持部450が設けられている。把持部450は、接続部400の軸Axと平行な軸Gxに沿って設けられている。把持部450の軸Gxを、接続部400の軸Axと同軸に設けていない理由は、把持部450を握る使用者の手が第1の撮像部200、第2の撮像部300に写り込むのを避けるためである。
【0010】
使用者は、撮像装置100を使用する時、たとえば撮像装置100の把持部450を手で把持して身体の前に構え、接続部400を主要被写体(図1(a)において矢印方向)に向ける。接続部400から見て主要被写体側(矢印方向)を前方とすると、把持部450は接続部400よりも後方に位置するので、把持部450を握る使用者の手が第1の撮像部200、第2の撮像部300に写りにくくなる。このとき、使用者は把持部450を地面(床面)に対して垂直方向に保つとともに、撮像装置100の接続部400を主要被写体の方向に向ける。
なお、把持部450を握る使用者の手が第1の撮像部200、第2の撮像部300に写り込むことが許容される場合には、把持部450の軸Gxを接続部400の軸Axと同軸に設けてもよい。
(【0011】以降は省略されています)
この特許をJ-PlatPat(特許庁公式サイト)で参照する
関連特許
個人
表示装置
16日前
個人
雨用レンズカバー
14日前
キヤノン株式会社
撮像装置
7日前
日本精機株式会社
車両用投射装置
22日前
キヤノン株式会社
撮像装置
7日前
キヤノン株式会社
撮像装置
7日前
株式会社リコー
画像形成装置
1日前
株式会社リコー
画像形成装置
1日前
株式会社リコー
画像形成装置
4日前
キヤノン株式会社
トナー
10日前
キヤノン株式会社
画像形成装置
3日前
キヤノン株式会社
トナー
23日前
キヤノン株式会社
画像形成装置
17日前
キヤノン株式会社
現像装置
21日前
アイホン株式会社
カメラシステム
22日前
キヤノン株式会社
レンズキャップ
15日前
沖電気工業株式会社
画像形成装置
1日前
沖電気工業株式会社
画像形成装置
14日前
ブラザー工業株式会社
画像形成装置
21日前
ブラザー工業株式会社
画像形成装置
21日前
古野電気株式会社
装置
14日前
キヤノン株式会社
画像形成装置
1日前
シャープ株式会社
画像形成装置
2日前
コニカミノルタ株式会社
画像形成装置
14日前
沖電気工業株式会社
画像形成装置
2日前
古野電気株式会社
監視装置
14日前
株式会社日建設計
区画空間投影システム
1日前
沖電気工業株式会社
画像形成装置
3日前
アイホン株式会社
カメラ装置の保持構造
22日前
キヤノン株式会社
撮像装置
1日前
ブラザー工業株式会社
画像形成装置
23日前
ブラザー工業株式会社
画像形成装置
1日前
ブラザー工業株式会社
画像形成装置
21日前
三洋化成工業株式会社
画像形成材料用バインダー
14日前
ブラザー工業株式会社
画像形成装置
1日前
有限会社ショーワ・エム
人形等保持補助具
3日前
続きを見る
他の特許を見る