TOP
|
特許
|
意匠
|
商標
特許ウォッチ
Twitter
他の特許を見る
10個以上の画像は省略されています。
公開番号
2025163548
公報種別
公開特許公報(A)
公開日
2025-10-29
出願番号
2024066926
出願日
2024-04-17
発明の名称
反射型フォトマスクブランク、及び反射型フォトマスクの製造方法
出願人
信越化学工業株式会社
代理人
弁理士法人英明国際特許事務所
主分類
G03F
1/24 20120101AFI20251022BHJP(写真;映画;光波以外の波を使用する類似技術;電子写真;ホログラフイ)
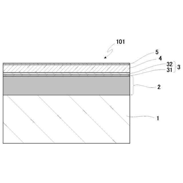
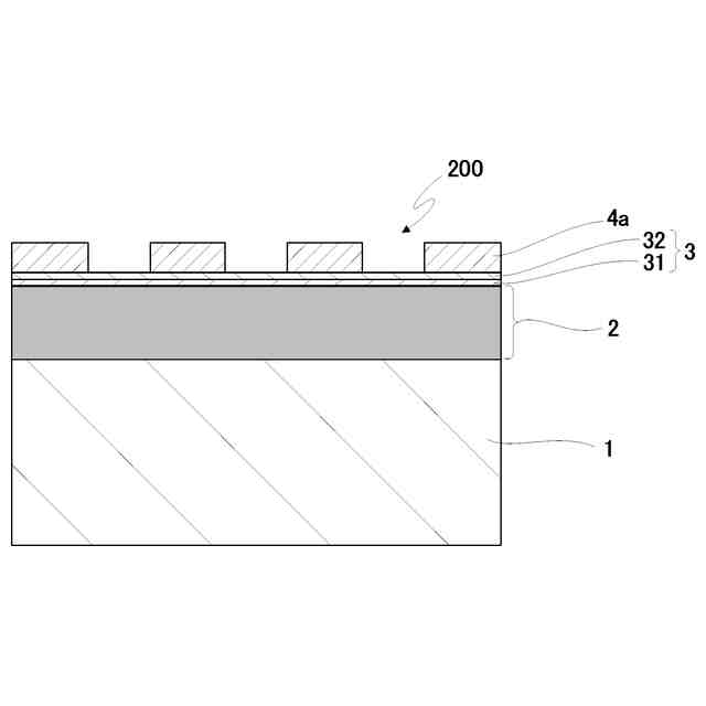
要約
【解決手段】基板と、極端紫外線領域光である露光光を反射する多層反射膜と、保護膜と、露光光を吸収する光吸収膜と、ハードマスク膜とを備え、保護膜が、基板側に設けられた第1層と、基板から離間する側に設けられた第2層とからなり、保護膜の第2層が、光吸収膜をエッチング可能なドライエッチングに対して耐性を有する材料で形成され、光吸収膜が、位相シフト機能を有し、単層又は複数層で形成され、かつ単層及び複数層を構成する各々の層が、ルテニウム(Ru)を主成分とする材料で形成されている反射型フォトマスクブランク。
【効果】位相シフト機能を有する光吸収膜に、微細なアシストパターンを、多層反射膜に光吸収膜のエッチング(パターニング)によるダメージを与えることなく形成することができ、アシストパターンが形成された、位相シフト機能を有する光吸収膜のパターンを有する反射型フォトマスクを製造することができる。
【選択図】図1
特許請求の範囲
【請求項1】
基板と、該基板上に形成され、極端紫外線領域光である露光光を反射する多層反射膜と、該多層反射膜上に形成された保護膜と、該保護膜上に該保護膜に接して形成され、前記露光光を吸収する光吸収膜と、該光吸収膜上に該光吸収膜に接して形成されたハードマスク膜とを備え、
前記保護膜が、基板側に設けられた第1層と、基板から離間する側に設けられた第2層とからなり、
前記保護膜の第2層が、前記光吸収膜をエッチング可能なドライエッチングに対して耐性を有する材料で形成され、
前記光吸収膜が、位相シフト機能を有し、単層又は複数層で形成され、かつ前記単層及び前記複数層を構成する各々の層が、ルテニウム(Ru)を主成分とする材料で形成されている
ことを特徴とする反射型フォトマスクブランク。
続きを表示(約 1,100 文字)
【請求項2】
前記保護膜の第2層が、酸素を含む塩素系ドライエッチングに対して耐性を有する材料で形成され、
前記光吸収膜が、酸素を含む塩素系ドライエッチングでエッチング可能な材料で形成されていることを特徴とする請求項1に記載の反射型フォトマスクブランク。
【請求項3】
前記保護膜の第2層が、酸素を含む塩素系ドライエッチングに対して耐性を有し、かつ酸素を含まない塩素系ドライエッチングに対して耐性を有する材料で形成され、
前記光吸収膜が、酸素を含む塩素系ドライエッチングでエッチング可能であり、酸素を含まない塩素系ドライエッチングに対して耐性を有し、かつフッ素系ドライエッチングに対して耐性を有する材料で形成され、
前記ハードマスク膜が、酸素を含む塩素系ドライエッチングに対して耐性を有し、酸素を含まない塩素系ドライエッチングでエッチング可能であり、かつフッ素系ドライエッチングでエッチング可能な材料で形成されている
ことを特徴とする請求項2に記載の反射型フォトマスクブランク。
【請求項4】
前記保護膜の第1層が、酸素を含まない塩素系ドライエッチングに対して耐性を有する材料で形成されていることを特徴とする請求項3に記載の反射型フォトマスクブランク。
【請求項5】
前記ルテニウム(Ru)を主成分とする材料が、ルテニウム(Ru)を20原子%以上の含有率で含有し、かつ金属元素及び半金属元素の総量に対する原子比として、ルテニウム(Ru)を最も多く含む材料であることを特徴とする請求項1に記載の反射型フォトマスクブランク。
【請求項6】
前記光吸収膜が、前記露光光に対する、反射率が8%以上28%以下、位相差が180度以上240度以下である位相シフト機能を有することを特徴とする請求項1に記載の反射型フォトマスクブランク。
【請求項7】
前記光吸収膜の膜厚が、28nm以上50nm以下であることを特徴とする請求項1に記載の反射型フォトマスクブランク。
【請求項8】
前記保護膜の第2層が、タンタル(Ta)及びケイ素(Si)から選ばれる1種以上と、酸素(O)とを含有する材料で形成されていることを特徴とする請求項1に記載の反射型フォトマスクブランク。
【請求項9】
前記ハードマスク膜が、ケイ素(Si)と窒素(N)とを含有する材料で形成されていることを特徴とする請求項8に記載の反射型フォトマスクブランク。
【請求項10】
前記保護膜の第1層が、ルテニウム(Ru)を含有する材料で形成されていることを特徴とする請求項9に記載の反射型フォトマスクブランク。
(【請求項11】以降は省略されています)
発明の詳細な説明
【技術分野】
【0001】
本発明は、半導体デバイスなどの製造において使用される反射型フォトマスクの製造方法、及び反射型フォトマスクの素材として、その製造に用いられる反射型フォトマスクブランクに関する。
続きを表示(約 3,200 文字)
【背景技術】
【0002】
半導体デバイスの微細化に伴い、特に、大規模集積回路の高集積化により、投影露光に、高いパターン解像性が求められている。そのため、フォトマスクにおいては、転写パターンの解像性を向上させる手法として、位相シフトマスクが開発された。位相シフト作用の原理は、フォトマスクの位相シフト膜の開口部を通過した透過光の位相を、開口部に隣接する位相シフト膜の部分を通過した透過光の位相に対して約180度反転するように調整することによって、開口部と開口部に隣接する部分との境界部で、透過光が干渉して光強度が低下し、その結果として、転写パターンの解像性及び焦点深度が向上するものであり、この原理を用いたフォトマスクは、総じて位相シフトマスクと呼ばれる。
【0003】
従来の位相シフトマスク(透過型の位相シフトマスク)の製造に素材として使用される位相シフトマスクブランク(透過型の位相シフトマスクブランク)は、ガラス基板などの透明基板上に、位相シフト膜が積層され、位相シフト膜上にクロム(Cr)を含有する材料で形成された膜が積層された構造のものが、最も一般的である。位相シフト膜は、通常、露光光に対して、位相差が175~185度、透過率が6~30%程度であり、ケイ素(Si)を含有する材料、特に、モリブデン(Mo)とケイ素(Si)とを含有する材料で形成された膜が主流である。また、クロム(Cr)を含有する材料で形成された膜は、位相シフト膜と合わせて所望の光学濃度となる厚さに調整され、クロム(Cr)を含有する材料で形成された膜を、遮光膜とすると共に、位相シフト膜をエッチングする際のエッチングマスク(ハードマスク)とするのが一般的である。
【0004】
透明基板上に、ケイ素(Si)を含有する材料で形成された位相シフト膜と、クロム(Cr)を含有する材料で形成された遮光膜とが、この順に形成された位相シフトマスクブランクから、位相シフト膜をパターニングして、位相シフトマスクを製造する方法として、具体的には、以下のような方法が一般的である。まず、位相シフトマスクブランクのクロム(Cr)を含有する材料で形成された遮光膜上にレジスト膜を形成し、このレジスト膜に、光又は電子線でパターンを描画し、現像して、レジストパターンを形成する。次に、レジストパターンをエッチングマスクとして、クロム(Cr)を含有する材料で形成された遮光膜を、塩素系ガスを用いてドライエッチングして、遮光膜のパターンを形成する。更に、遮光膜のパターンをエッチングマスクとして、ケイ素(Si)を含有する材料で形成された位相シフト膜を、フッ素系ガスを用いてドライエッチングして、位相シフト膜のパターンを形成し、その後、レジストパターンを除去し、遮光膜のパターンを、塩素系ガスを用いてドライエッチングして除去する。
【0005】
この場合、位相シフト膜のパターン(回路パターン)が形成されている部分より外側に遮光膜を残存させて、位相シフトマスクの外周縁部を、位相シフト膜と遮光膜とを合わせた光学濃度が3以上の遮光部(遮光パターン)とすることが行われる。これは、ウエハ露光装置を用いて回路パターンを、ウエハに転写する際、位相シフトマスクの外周縁部から露光光が漏れて、回路パターンより外側に位置する部分から、ウエハの隣接するチップ上のレジスト膜に、露光光が照射されることを防ぐためである。このような遮光パターンを形成する方法としては、位相シフト膜のパターンを形成し、レジストパターンを除去した後、レジスト膜を新たに形成し、パターン描画、現像によって、位相シフトマスクの外周縁部にレジスト膜が残ったレジストパターンを形成し、このレジストパターンをエッチングマスクとして、クロム(Cr)を含有する材料で形成された膜をエッチングして、位相シフトマスクの外周縁部の遮光膜を残す方法が一般的である。
【0006】
高精度なパターン形成が要求される位相シフトマスクでは、エッチングは、ガスプラズマを用いたドライエッチングが主流である。クロム(Cr)を含有する材料で形成された膜のドライエッチングには、塩素系ガスを用いたドライエッチング(塩素系ドライエッチング)、ケイ素(Si)を含有する膜や、モリブデン(Mo)とケイ素(Si)とを含有する膜のドライエッチングには、フッ素系ガスを用いたドライエッチング(フッ素系ドライエッチング)が用いられる。特に、クロム(Cr)を含有する材料で形成された膜の塩素系ドライエッチングでは、エッチングガスを、塩素ガス(Cl
2
ガス)に対して10~25体積%の酸素ガス(O
2
ガス)を混合したエッチングガスとした、酸素を含む塩素系ガスを用いたドライエッチングとすることで、化学的な反応性が高くなり、エッチングレートが向上することが知られている。
【0007】
回路パターンの微細化に伴い、位相シフトマスクの回路パターンにも、微細に形成する技術が求められている。特に、位相シフトマスクのメインパターンの解像性を補助する、ラインパターンのアシストパターンは、ウエハ露光装置を用いて回路パターンをウエハに転写する際、ウエハに転写されないように、メインパターンよりも小さく形成する必要がある。ウエハ上での回路のラインアンドスペースパターンのハーフピッチが10nmの世代の位相シフトマスクにおいては、位相シフトマスク上の回路のラインパターンのアシストパターンの線幅は、40nm程度が求められる。
【0008】
一方、レジストとしては化学増幅型レジストが一般的に用いられている。微細なパターンを形成することができる化学増幅型レジストは、ベース樹脂、酸発生剤、界面活性剤などからなっており、露光により発生した酸が触媒として作用する多くの反応が適用できることから、高感度化が可能であり、化学増幅型レジストを用いることで、位相シフト膜のパターンなどのマスクパターンの形成において、線幅が0.1μm以下の微細なパターンの形成を可能にしている。レジストはレジスト塗布機で、スピンコートによってフォトマスクブランク上に塗布される。
【0009】
しかし、回路パターンの微細化に、レジストが対応できなくなってきた。先端品の位相シフトマスクブランクに使われるレジスト膜の厚さは、100~150nmである。位相シフトマスクに、より微細なアシストパターンを形成することが困難な理由は、クロム(Cr)を含有する材料で形成された遮光膜上に形成された、アシストパターンを形成するためのレジストパターンの縦横比(アスペクト比)が高いために、レジストパターン形成の現像工程において、現像液による衝撃、又はリンス時の純水による衝撃により、レジストパターンが倒れてしまうからである。
【0010】
現像液による衝撃、又はリンス時の純水による衝撃の影響を小さくするためには、レジストパターンの縦横比(アスペクト比)を低くすることが考えられる。その場合、レジスト膜を薄くすることになる。しかし、レジスト膜を薄くした場合、クロム(Cr)を含有する材料で形成された遮光膜のドライエッチング中にレジスト膜が消失してしまうと、クロム(Cr)を含有する材料で形成された遮光膜に、ピンホール欠陥が形成されることになり、クロム(Cr)を含有する材料で形成された遮光膜をエッチングマスクとして位相シフト膜をドライエッチングする際に、位相シフト膜のエッチング時のプラズマが、ピンホールを通して位相シフト膜に到達し、位相シフト膜にもピンホール欠陥が形成されてしまうことになり、ウエハ製造において正常に機能する位相シフトマスクを製造することができない。
(【0011】以降は省略されています)
この特許をJ-PlatPat(特許庁公式サイト)で参照する
関連特許
信越化学工業株式会社
化粧料
4日前
信越化学工業株式会社
電磁波遮蔽部材
7日前
信越化学工業株式会社
光ファイバ母材の製造方法
1日前
信越化学工業株式会社
複合基板およびその製造方法
7日前
信越化学工業株式会社
非晶質固体分散体を含む複合物
4日前
信越化学工業株式会社
光ファイバ用多孔質母材の製造装置
1日前
信越化学工業株式会社
レジスト組成物及びパターン形成方法
15日前
信越化学工業株式会社
室温硬化性オルガノポリシロキサン組成物
3日前
信越化学工業株式会社
酸化物単結晶複合基板およびその製造方法
7日前
信越化学工業株式会社
熱伝導性シリコーン組成物及びその硬化物
1日前
信越化学工業株式会社
熱伝導性シリコーン組成物、硬化物及び製造方法
14日前
信越化学工業株式会社
熱伝導性シリコーン接着剤組成物及び熱伝導性複合体
9日前
信越化学工業株式会社
キーパッド作製用シリコーンゴム組成物及びキーパッド
2日前
信越化学工業株式会社
型取り用シリコーンゴム組成物およびシリコーンゴム型
14日前
信越化学工業株式会社
積層構造
9日前
信越化学工業株式会社
環状アミノオルガノキシシラン化合物およびその製造方法
4日前
信越化学工業株式会社
反射型フォトマスクブランク、及び反射型フォトマスクの製造方法
2日前
信越化学工業株式会社
オニウム塩型モノマー、ポリマー、化学増幅レジスト組成物及びパターン形成方法
14日前
信越化学工業株式会社
第四級アンモニウム修飾シリカ分散液及び第四級アンモニウム修飾シリカ分散液の製造方法
8日前
信越化学工業株式会社
多層構造型の感光性ドライフィルム、パターン形成方法、表示装置、及びマイクロLEDディスプレイ
1日前
信越化学工業株式会社
ネガ型感光性樹脂組成物、パターン形成方法、硬化被膜形成方法、層間絶縁膜、表面保護膜、及び電子部品
1日前
信越化学工業株式会社
重合体、ネガ型感光性樹脂組成物、パターン形成方法、硬化被膜形成方法、層間絶縁膜、表面保護膜、及び電子部品
1日前
信越化学工業株式会社
感光性樹脂組成物、感光性樹脂皮膜、感光性ドライフィルム、パターン形成方法、表示装置、及びマイクロLEDディスプレイ
1日前
信越化学工業株式会社
感光性樹脂組成物、感光性樹脂皮膜、感光性ドライフィルム、パターン形成方法、表示装置、及びマイクロLEDディスプレイ
1日前
信越化学工業株式会社
5-(2-ブチル-1,3-ジオキソラン-2-イル)-1-メチルペンチル=アセテート及びそれを用いた2,7-ジアセトキシウンデカンの製造方法
9日前
個人
表示装置
16日前
個人
雨用レンズカバー
14日前
株式会社シグマ
絞りユニット
1か月前
キヤノン株式会社
撮像装置
1か月前
キヤノン株式会社
撮像装置
7日前
キヤノン株式会社
撮像装置
1か月前
キヤノン株式会社
撮像装置
1か月前
キヤノン株式会社
撮像装置
7日前
キヤノン株式会社
撮像装置
7日前
日本精機株式会社
車両用投射装置
22日前
平和精機工業株式会社
雲台
2か月前
続きを見る
他の特許を見る