TOP
|
特許
|
意匠
|
商標
特許ウォッチ
Twitter
他の特許を見る
公開番号
2025163335
公報種別
公開特許公報(A)
公開日
2025-10-29
出願番号
2024066473
出願日
2024-04-17
発明の名称
光源装置及び投影装置
出願人
カシオ計算機株式会社
代理人
弁理士法人コスモ国際特許事務所
主分類
G03B
21/14 20060101AFI20251022BHJP(写真;映画;光波以外の波を使用する類似技術;電子写真;ホログラフイ)
要約
【課題】装置の小型化を図ることができる光源装置と、この光源装置を備える投影装置を提供する。
【解決手段】光源装置60は、青色波長帯域光を出射する青色レーザダイオード71と、赤色波長帯域光を出射する赤色発光ダイオード81と、青色レーザダイオード1から出射された青色波長帯域光の光路上に設けられ、入射する青色波長帯域光を少なくとも第1方向D1の光路と第2方向D2の光路とに切り替える光路切替装置142と、第2方向D2の光路上に設けられ、青色波長帯域光を励起光として緑色波長帯域光を含む蛍光を発光する蛍光発光領域を有する蛍光発光装置100と、光路切替装置142で第1方向D1の光路に切り替えられた青色波長帯域光、赤色発光ダイオード81から出射された赤色波長帯域光、及び蛍光発光領域で発光された蛍光を合成光路に導光する光源光学系140と、を備える。
【選択図】図3
特許請求の範囲
【請求項1】
第1波長帯域光を出射する第1光源と、
第2波長帯域光を出射する第2光源と、
前記第1光源から出射された前記第1波長帯域光の光路上に設けられ、入射する前記第1波長帯域光を少なくとも第1方向の光路と第2方向の光路とに切り替える光路切替装置と、
前記第2方向の光路上に設けられ、前記第1波長帯域光を励起光として第3波長帯域光を含む蛍光を発光する蛍光発光領域を有する蛍光発光装置と、
前記光路切替装置で前記第1方向の光路に切り替えられた前記第1波長帯域光、前記第2光源から出射された前記第2波長帯域光、及び前記蛍光発光領域で発光された前記蛍光を合成光路に導光する光源光学系と、を備える、
光源装置。
続きを表示(約 840 文字)
【請求項2】
前記光源光学系は、前記第1方向の光路上かつ前記第2光源から出射された前記第2波長帯域光の光路上に設けられて前記第1波長帯域光を反射するとともに前記第2波長帯域光を透過する第1ミラー部材と、前記第2方向の光路上かつ前記第2光源から出射された前記第2波長帯域光の光路上に設けられて前記第1波長帯域光及び前記第2波長帯域光を透過するとともに前記第3波長帯域光を反射する第2ミラー部材と、を有する、
請求項1に記載の光源装置。
【請求項3】
前記光路切替装置は、入射される前記第1波長帯域光を反射する方向に光路を切り替え、
前記第1光源は、前記光路切替装置の反射側に設けられている、
請求項1に記載の光源装置。
【請求項4】
前記蛍光発光装置は、前記蛍光発光領域に重畳して設けられたフィルタ領域を有し、該フィルタ領域を介して前記蛍光を前記第3波長帯域光として出射する、
請求項1に記載の光源装置。
【請求項5】
前記光路切替装置は、電圧を加えることにより屈折率を自由に変えられるKTN結晶からなる光学素子である、
請求項1に記載の光源装置。
【請求項6】
前記光路切替装置は、出射される光の出射角度が互いに異なる複数の回折格子領域が設けられた光学ホイールを有する回転ホイール装置である、
請求項1に記載の光源装置。
【請求項7】
前記光路切替装置は、入射される前記第1波長帯域光を反射する方向に光路を切り替える、
請求項1に記載の光源装置。
【請求項8】
請求項1~7のいずれか1項に記載の光源装置と、
画像光を生成する表示素子と、
前記表示素子から出射された前記画像光を被投影体に投影する投影光学系と、
前記光源装置と前記表示素子とを制御する制御部と、を備える、
投影装置。
発明の詳細な説明
【技術分野】
【0001】
本発明は、光源装置及び投影装置に関する。
続きを表示(約 1,600 文字)
【背景技術】
【0002】
今日、パーソナルコンピュータの画面やビデオ画面、メモリカード等に記憶されている画像データ等をスクリーンに投影する投影装置が利用されている。この投影装置は、光源から出射された光をDMD(デジタル・マイクロミラー・デバイス)と呼ばれるマイクロミラー表示素子や液晶板に集光させ、スクリーン上にカラー画像を表示させている。
【0003】
例えば、特許文献1には、蛍光体層を含む蛍光発光領域と、透過領域とを備えた蛍光ホイールを有する蛍光装置及びこの蛍光装置を含む光源装置を備える投影装置が開示されている。この投影装置は、蛍光体に青色光源からの青色波長帯域光を励起光として照射することで蛍光体から出射される緑色波長帯域の蛍光を合成光路に導光する。一方、青色光源からの青色波長帯域光を蛍光ホイールの透過領域に照射することで、蛍光ホイールの反対側にこの青色波長帯域光を導いて、ミラーやレンズを用いて合成光路に導いた後、表示素子に導くように構成している。
【先行技術文献】
【特許文献】
【0004】
特開2015-45778号公報
【発明の概要】
【発明が解決しようとする課題】
【0005】
しかしながら、特許文献1の投影装置では、赤色波長帯域光及び緑色波長帯域光を導光するためのレンズ部材やミラー部材等を、青色波長帯域光を導光する光路と別途配置する必要があり、装置内の光路が複雑となり、装置の小型化を図ることが困難であった。
【0006】
本発明は、以上の点に鑑み、装置の小型化を図ることができる光源装置と、この光源装置を備える投影装置を提供することを目的とする。
【課題を解決するための手段】
【0007】
本発明の光源装置は、第1波長帯域光を出射する第1光源と、第2波長帯域光を出射する第2光源と、前記第1光源から出射された前記第1波長帯域光の光路上に設けられ、入射する前記第1波長帯域光を少なくとも第1方向の光路と第2方向の光路とに切り替える光路切替装置と、前記第2方向の光路上に設けられ、前記第1波長帯域光を励起光として第3波長帯域光を含む蛍光を発光する蛍光発光領域を有する蛍光発光装置と、前記光路切替装置で前記第1方向の光路に切り替えられた前記第1波長帯域光、前記第2光源から出射された前記第2波長帯域光、及び前記蛍光発光領域で発光された前記蛍光を合成光路に導光する光源光学系と、を備える。
【0008】
本発明の投影装置は、上記の光源装置と、画像光を生成する表示素子と、前記表示素子から出射された前記画像光を被投影体に投影する投影光学系と、前記光源装置と前記表示素子とを制御する制御部と、を備える。
【発明の効果】
【0009】
本発明によれば、装置の小型化を図ることができる光源装置と、この光源装置を備える投影装置を提供することができる。
【図面の簡単な説明】
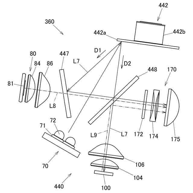
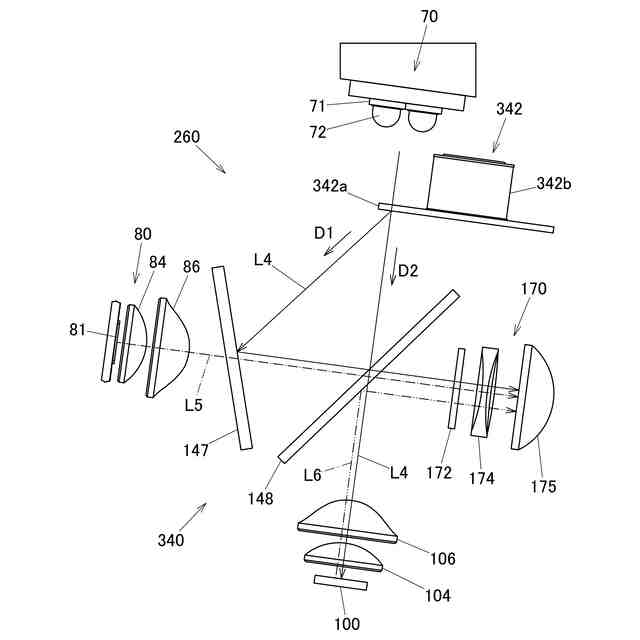
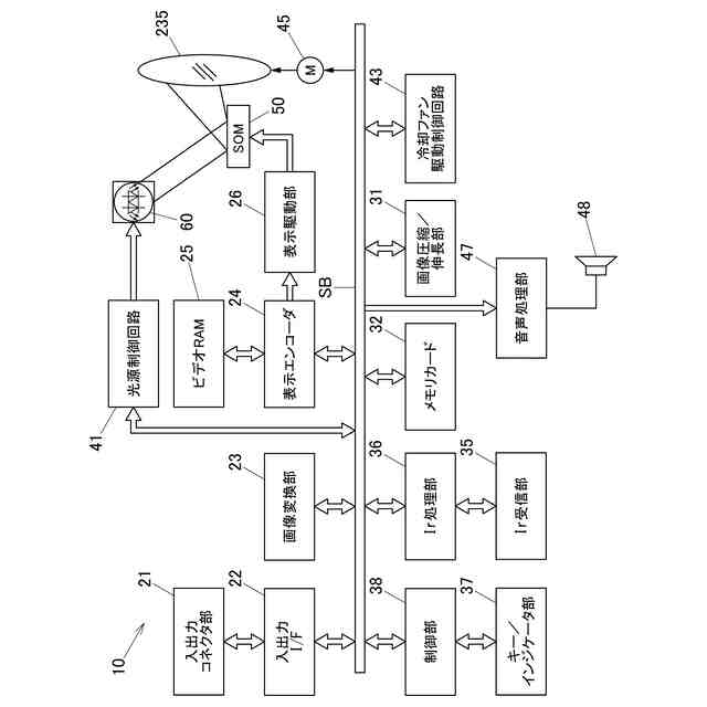
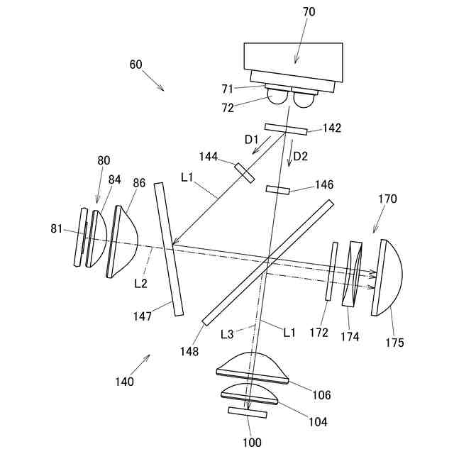
【0010】
第1実施形態に係る投影装置の機能回路ブロックを示す図である。
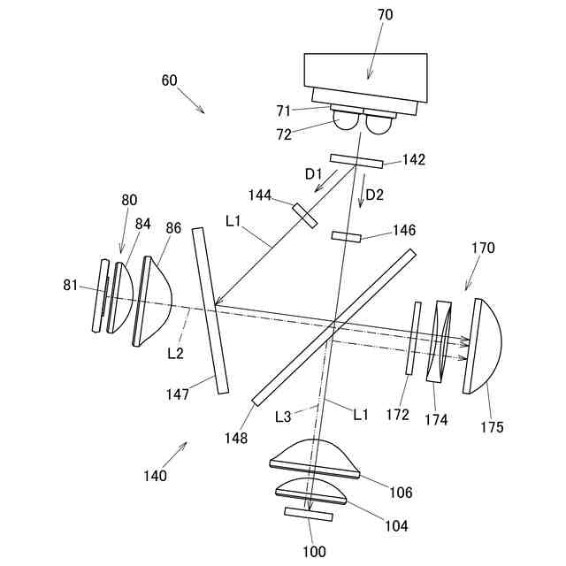
第1実施形態に係る投影装置の内部構造を示す平面模式図である。
第1実施形態に係る投影装置の光源装置における光の出入射の態様を示す平面模式図である。
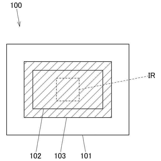
第1実施形態に係る投影装置の蛍光発光装置において光が照射される様子を示す正面図である。
第2実施形態に係る投影装置の光源装置における光の出入射の態様を示す平面模式図である。
第2実施形態に係る投影装置の光学ホイールの正面模式図である。
第3実施形態に係る投影装置の光源装置における光の出入射の態様を示す平面模式図である。
【発明を実施するための形態】
(【0011】以降は省略されています)
この特許をJ-PlatPat(特許庁公式サイト)で参照する
関連特許
カシオ計算機株式会社
光源装置及び投影装置
3日前
カシオ計算機株式会社
売上データ処理システム、売上データ処理方法、及びプログラム
2日前
個人
表示装置
17日前
個人
雨用レンズカバー
15日前
株式会社シグマ
絞りユニット
1か月前
キヤノン株式会社
撮像装置
1か月前
キヤノン株式会社
撮像装置
8日前
平和精機工業株式会社
雲台
2か月前
キヤノン株式会社
撮像装置
1か月前
日本精機株式会社
車両用投射装置
23日前
キヤノン株式会社
撮像装置
1か月前
キヤノン株式会社
撮像装置
8日前
キヤノン株式会社
撮像装置
8日前
株式会社リコー
画像形成装置
2か月前
株式会社リコー
画像形成装置
2日前
株式会社リコー
画像形成装置
2日前
株式会社リコー
画像形成装置
1か月前
株式会社リコー
画像形成装置
5日前
株式会社リコー
画像形成装置
1か月前
株式会社リコー
画像形成装置
2か月前
株式会社リコー
画像形成装置
2か月前
キヤノン株式会社
画像形成装置
2か月前
株式会社オプトル
プロジェクタ
1か月前
シャープ株式会社
画像形成装置
2か月前
ブラザー工業株式会社
再生方法
2か月前
キヤノン株式会社
トナー
29日前
キヤノン株式会社
画像形成装置
2か月前
キヤノン株式会社
トナー
11日前
株式会社オプトル
プロジェクタ
2か月前
キヤノン株式会社
画像形成装置
2か月前
キヤノン株式会社
画像形成装置
18日前
キヤノン株式会社
画像形成装置
4日前
キヤノン株式会社
トナー
2か月前
キヤノン株式会社
トナー
24日前
アイホン株式会社
機器の設置構造
2か月前
スタンレー電気株式会社
照明装置
25日前
続きを見る
他の特許を見る