TOP
|
特許
|
意匠
|
商標
特許ウォッチ
Twitter
他の特許を見る
公開番号
2025163684
公報種別
公開特許公報(A)
公開日
2025-10-29
出願番号
2025066838
出願日
2025-04-15
発明の名称
マイクロリソグラフィックフォトマスクの欠陥を粒子ビーム誘起エッチングするための方法および装置
出願人
カール・ツァイス・エスエムティー・ゲーエムベーハー
代理人
個人
,
個人
,
個人
,
個人
,
個人
,
個人
,
個人
,
個人
,
個人
主分類
G03F
1/74 20120101AFI20251022BHJP(写真;映画;光波以外の波を使用する類似技術;電子写真;ホログラフイ)
要約
【課題】マイクロリソグラフィックフォトマスクの欠陥の粒子ビーム誘起エッチングを改善すること。
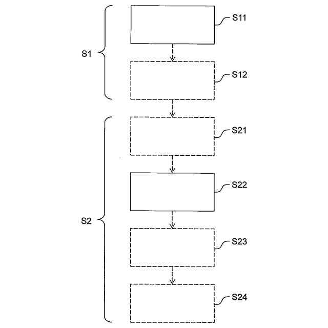
【解決手段】マイクロリソグラフィックフォトマスク(100)の欠陥(D1)の粒子ビーム誘起エッチングのための方法であって、a)欠陥(D1)をエッチングする目的で、活性粒子ビーム(114)と、粒子ビーム(114)によって活性化できる第1のガス成分(116)とを、欠陥(D1)の領域(120)内のフォトマスク(100)の表面(118)において提供するステップ(S1)と、その後に、b)表面(118)を不動態化する目的で、自発的酸化作用を有する酸素含有の第2のガス成分(126)を、欠陥(D1)の領域(120)を包含するパッシベーション領域(122)内のフォトマスク(100)の表面(118)において提供するステップ(S2)とを含む、方法。
【選択図】図1
特許請求の範囲
【請求項1】
マイクロリソグラフィックフォトマスク(100)の欠陥(D1)の粒子ビーム誘起エッチングのための方法であって、
a)前記欠陥(D1)をエッチングする目的で、活性粒子ビーム(114)と、前記粒子ビーム(114)によって活性化できる第1のガス成分(116)とを、前記欠陥(D1)の領域(120)内の前記フォトマスク(100)の表面(118)において提供するステップ(S1)と、その後に、
b)前記表面(118)を不動態化する目的で、自発的酸化作用を有する酸素含有の第2のガス成分(126)を、前記欠陥(D1)の前記領域(120)を包含するパッシベーション領域(122)内の前記フォトマスク(100)の前記表面(118)において提供するステップ(S2)と
を含む、方法。
続きを表示(約 1,800 文字)
【請求項2】
ステップa)において、前記フォトマスク(100)の構造化コーティング(108)の少なくとも1つの縁部(124)が露出され、
ステップb)において、前記少なくとも1つの露出された縁部(124)が不動態化される、請求項1に記載の方法。
【請求項3】
ステップa)において、前記欠陥(D1)が、完全にエッチングされ、および/または、完全に取り除かれる、請求項1または2に記載の方法。
【請求項4】
前記第2のガス成分(126)が、自発的化学吸着の助けによって、前記フォトマスク(100)の前記表面(118)を不動態化する、請求項1~3のいずれか1項に記載の方法。
【請求項5】
c)ポンピング(S3)によって前記フォトマスク(100)の前記表面(118)から前記第2のガス成分(126)を取り除くステップを含む、請求項1~4のいずれか1項に記載の方法。
【請求項6】
ステップa)において、前記フォトマスク(100)の第1の欠陥(D1)が前記フォトマスク(100)の第1の領域(120)においてエッチングされ、
ステップc)の後に、前記フォトマスク(100)の第2の欠陥(D2)が前記フォトマスク(100)の第2の領域(130)においてエッチングされる、さらなるステップa)を含む、請求項5に記載の方法。
【請求項7】
前記第2のガス成分(126)が、オゾン(O
3
)、原子状酸素(O)、励起酸素(O
2
*
)、ヒドロペルオキシル(HOO)、水酸基(HO)、硝酸ラジカル(NO
3
)、1つもしくは複数の酸素ラジカル(248)、および/または、1つもしくは複数の中性酸素ラジカル(248)を含有する、請求項1~6のいずれか1項に記載の方法。
【請求項8】
前記第2のガス成分(126)が、オゾン生成器(236)の助けによって生成されたオゾン(O
3
)を含有し、
オゾン(O
3
)が酸素(O
2
)から生成されるように、前記酸素(O
2
)が前記オゾン生成器(236)内で、電場(E)を通して誘導され、または、紫外光にさらされ、
前記生成されたオゾン(O
3
)が、前記オゾン生成器(236)の提供ライン(244)を通じて、および/または、前記オゾン生成器(236)に流体接続された供給ライン(230)を通じて、前記フォトマスク(100)の前記表面(118)に供給される、請求項1~7のいずれか1項に記載の方法。
【請求項9】
前記第2のガス成分(126)が、プラズマベースガス生成機器(246)の助けによって生成された1つまたは複数の中性酸素ラジカル(248)を含有し、
前記プラズマベースガス生成機器(246)が、プラズマ生成源(254)と、前記プラズマ生成源(254)に流体接続された選択機器(256)とを備え、
前記1つまたは複数の中性酸素ラジカル(248)が、前記プラズマ生成源(254)において生成されたプラズマから前記選択機器(256)によって分離され、前記プラズマベースガス生成機器(246)の提供ライン(258)を通じて、および/または、前記選択機器(256)に流体接続された供給ライン(230)を通じて、前記フォトマスク(100)の前記表面(118)に供給される、請求項1~8のいずれか1項に記載の方法。
【請求項10】
前記第1のガス成分(316)が、前記欠陥(D1)をエッチングするための少なくとも1つのエッチングガス成分(318)と、第1のパッシベーションステップ(S12)において、前記フォトマスク(100)の前記表面(118)を不動態化するための少なくとも1つのパッシベーションガス成分(320)とを含有し、
前記フォトマスク(100)の前記表面(118)が、第2のパッシベーションステップ(S2)において、前記第2のガス成分(126)の助けによって、ステップb)において不動態化される、請求項1~9のいずれか1項に記載の方法。
(【請求項11】以降は省略されています)
発明の詳細な説明
【技術分野】
【0001】
本発明は、マイクロリソグラフィックフォトマスクの欠陥を粒子ビーム誘起エッチングするための方法および装置に関する。
続きを表示(約 1,800 文字)
【0002】
優先権出願独国特許第102024110764.2号の内容は援用により完全に組み込まれる。
【背景技術】
【0003】
マイクロリソグラフィは、微細構造化された構成要素部品、たとえば集積回路を作り出すために使用される。マイクロリソグラフィプロセスは、照射システムおよび投影システムを備えるリソグラフィ装置を用いて実行される。照射システムによって照射されたマスク(レチクル)の像は、マスク構造を基板の感光コーティングに転写するために、感光層(フォトレジスト)でコーティングされ投影システムの像面内に配置されている基板、たとえばシリコンウェハ上に、投影システムによって投影される。
【0004】
集積回路の生産において、さらに小さな構造体を求める要望によって主導され、0.1nm~30nmの範囲、特に13.5nmの波長を有する光を使用するEUVリソグラフィ装置が現在開発中である。
【0005】
マイクロリソグラフィの最中に用いられるフォトマスク(すなわち、リソグラフィマスク)は微細構造を有し、その微細構造は、規模が低減された基板上に投影される。フォトマスクの構造自体はすでに非常に小さく、寸法は、たとえば、数ミクロンメートル~数ナノメートルである。マイクロリソグラフィを用いて微細構造化構成要素を非常に正確に作り出すために、利用されるフォトマスク上の構造もまた、非常に精密に製造されなければならず、しかも、フォトマスクには欠陥(たとえば、欠陥構造および汚染)があってはならない。フォトマスクは通常複数回の露光で使用されるため、欠陥のないマイクロリソグラフィックフォトマスクもまた、非常に重要である。したがって、フォトマスクは欠陥については大きな費用を掛けて検査され、露呈した欠陥は修復される。
【0006】
フォトマスクの典型的な欠陥は、たとえばエッチングプロセスが成功裏に実行されなかったことにより想定される構造の欠如を含み、あるいは、たとえば、エッチングプロセスが、迅速に進みすぎたこと、もしくは、その作用を誤った部位において成長させたことによる、想定外の構造が存在する。これらの欠陥は、適切な位置において、過剰な材料を、的を絞ってエッチングすることまたはさらなる材料を、的を絞って堆積させることによって補修することができ、たとえば、これは、電子ビーム誘起処理(FEBIP「集束電子ビーム誘起処理:focussed electron beam induced processing」)によって非常に的を絞った様式で実現可能である。
【0007】
独国特許第102017208114A1号は、マイクロリソグラフィックフォトマスクの粒子ビーム誘起エッチング向けの方法を記載している。このケースでは、粒子ビーム、特に電子ビーム、およびエッチングガスが、フォトマスク上のエッチングすべき部位において提供される。粒子ビームは、フォトマスクの材料とエッチングガスとの間の局所的な化学反応を活性化し、その結果として、フォトマスクから局所的に材料が取り除かれる。
【先行技術文献】
【特許文献】
【0008】
独国特許第102024110764.2号
独国特許第102017208114A1号
【発明の概要】
【0009】
この背景に対して、本発明によって取り組まれる問題は、マイクロリソグラフィックフォトマスクの欠陥の粒子ビーム誘起エッチングを改善することである。
【0010】
第1の態様に従って、マイクロリソグラフィックフォトマスクの欠陥の粒子ビーム誘起エッチングのための方法が提案される。方法は、
a)欠陥をエッチングする目的で、活性粒子ビームと、粒子ビームによって活性化できる第1のガス成分とを、欠陥の領域内のフォトマスクの表面において提供するステップと、その後に、
b)表面を不動態化する目的で、自発的酸化作用を有する酸素含有の第2のガス成分を、欠陥の領域を包含するパッシベーション領域内のフォトマスクの表面において提供するステップと
を含む。
(【0011】以降は省略されています)
この特許をJ-PlatPat(特許庁公式サイト)で参照する
関連特許
個人
表示装置
16日前
個人
雨用レンズカバー
14日前
株式会社シグマ
絞りユニット
1か月前
キヤノン株式会社
撮像装置
7日前
キヤノン株式会社
撮像装置
7日前
キヤノン株式会社
撮像装置
7日前
日本精機株式会社
車両用投射装置
22日前
キヤノン株式会社
撮像装置
1か月前
キヤノン株式会社
撮像装置
1か月前
平和精機工業株式会社
雲台
2か月前
キヤノン株式会社
撮像装置
1か月前
株式会社リコー
画像形成装置
2か月前
株式会社リコー
画像形成装置
2か月前
株式会社リコー
画像形成装置
1か月前
株式会社リコー
画像形成装置
1日前
株式会社リコー
画像形成装置
4日前
株式会社リコー
画像形成装置
1日前
株式会社リコー
画像形成装置
2か月前
株式会社リコー
画像形成装置
1か月前
シャープ株式会社
画像形成装置
2か月前
キヤノン株式会社
画像形成装置
17日前
キヤノン株式会社
画像形成装置
2か月前
株式会社オプトル
プロジェクタ
2か月前
キヤノン株式会社
画像形成装置
3日前
キヤノン株式会社
トナー
10日前
キヤノン株式会社
画像形成装置
2か月前
キヤノン株式会社
トナー
28日前
キヤノン株式会社
画像形成装置
2か月前
キヤノン株式会社
トナー
23日前
ブラザー工業株式会社
再生方法
2か月前
キヤノン株式会社
トナー
1か月前
株式会社オプトル
プロジェクタ
1か月前
キヤノン株式会社
レンズキャップ
15日前
株式会社シグマ
絞り機構及びレンズ鏡筒
2か月前
キヤノン株式会社
現像装置
21日前
アイホン株式会社
カメラシステム
22日前
続きを見る
他の特許を見る