TOP
|
特許
|
意匠
|
商標
特許ウォッチ
Twitter
他の特許を見る
公開番号
2025162438
公報種別
公開特許公報(A)
公開日
2025-10-27
出願番号
2024065736
出願日
2024-04-15
発明の名称
半導体装置及び電力変換装置
出願人
三菱電機株式会社
代理人
個人
,
個人
,
個人
主分類
H01L
25/07 20060101AFI20251020BHJP(基本的電気素子)
要約
【課題】 配線板の接合信頼性を確保する半導体装置を提供する。
【解決手段】 半導体装置101は、上面に回路層12が形成された絶縁基板10と、絶縁基板10の回路層12の上に第1導電性接合材31を介して接合され、上面に電極層21が形成された半導体素子20と、絶縁基板10の回路層12と半導体素子20の電極層21との少なくとも一方の上に第2導電性接合材32を介して接合された導電体40と、導電体40に溶接された配線板50と、を備え、第2導電性接合材32は、導電体40の側面を覆うフィレット形状32fを有する。
【選択図】図1
特許請求の範囲
【請求項1】
上面に回路層が形成された絶縁基板と、
前記絶縁基板の前記回路層の上に第1導電性接合材を介して接合され、上面に電極層が形成された半導体素子と、
前記絶縁基板の前記回路層と前記半導体素子の前記電極層との少なくとも一方の上に第2導電性接合材を介して接合された導電体と、
前記導電体に溶接された配線板と、
を備え、
前記第2導電性接合材は、前記導電体の側面を覆うフィレット形状を有する、
半導体装置。
続きを表示(約 920 文字)
【請求項2】
前記導電体は、前記導電体の上面から突出した凸部を有し、
前記配線板は、前記導電体の前記凸部が挿入される開口部を有し、
前記導電体の前記凸部の側面と前記配線板の前記開口部を形成する内壁面とが溶接された、
請求項1に記載の半導体装置。
【請求項3】
前記導電体は、前記上面の端部が前記配線板の前記開口部よりも外側に位置するように形成された、
請求項2に記載の半導体装置。
【請求項4】
前記導電体は、前記絶縁基板の前記回路層と前記半導体素子の前記電極層との少なくとも一方の上に前記第2導電性接合材を介して接合される第1層と、前記第1層の上に配置されアルミニウムを含む第2層と、前記第2層の上に配置され前記配線板と溶接される第3層と、から構成された、
請求項1に記載の半導体装置。
【請求項5】
前記回路層及び前記電極層は、アルミニウムを含む層であり、
前記第2導電性接合材は、酸化銀を主成分とした銀焼結材であり、
前記導電体は、アルミニウムを含み、前記絶縁基板の前記回路層と前記半導体素子の前記電極層との少なくとも一方の上に前記第2導電性接合材を介して接合される第2層と、前記第2層の上に配置され前記配線板と溶接される第3層と、から構成された、
請求項1に記載の半導体装置。
【請求項6】
前記第1導電性接合材及び前記第2導電性接合材は、はんだ材、ろう材又は銀焼結材である、
請求項1から請求項4のいずれか1項に記載の半導体装置。
【請求項7】
前記第3層は、銅又はニッケルからなる、
請求項4又は請求項5に記載の半導体装置。
【請求項8】
前記第1層は、銅又はニッケルからなる、
請求項4に記載の半導体装置。
【請求項9】
請求項1に記載の半導体装置を有し、入力される電力を変化して出力する主変換回路と、
前記主変換回路を制御する制御信号を前記主変換回路に出力する制御回路と、
を備えた電力変換装置。
発明の詳細な説明
【技術分野】
【0001】
本開示は、半導体装置及び電力変換装置に関する。
続きを表示(約 1,500 文字)
【背景技術】
【0002】
近年、半導体装置の内部配線の省スペース化等のため、板状の配線板を用いた半導体装置が増えている。また、配線板の接合方法として、レーザー溶接により、絶縁基板上に形成された回路層又は半導体素子上に形成された電極層に配線板を接合する方法が提案されている。
【0003】
レーザー溶接による配線板の接合は、レーザー溶接時の溶け込み深さによっては、絶縁基板の絶縁層又は半導体素子の素子構造を破壊する場合がある。そこで、レーザー溶接時の対策として、例えば、特許文献1では、絶縁基板の回路層上に導電体(金属板)をはんだ接合し、導電体と配線板(外部端子)とをレーザー溶接することで、溶接部が絶縁層に達することを防ぎ、絶縁基板の絶縁層の破壊を抑制する技術が開示されている。
【先行技術文献】
【特許文献】
【0004】
特開2008-205058号公報
【発明の概要】
【発明が解決しようとする課題】
【0005】
ところで、半導体装置は、複数の異なる材料から構成される多層構造体であるため、半導体装置の動作時の温度変化に伴い、材料間の熱膨張率の差による応力が発生する。特許文献1の装置では、半導体装置の動作時の温度変化に伴い、絶縁基板と導電体との接合部であるはんだに応力が集中し、はんだに亀裂が発生、進展し、接合部の信頼性を確保することが困難になる恐れがある。すなわち、特許文献1の装置では、半導体装置の動作時の温度変化により、配線板の接合信頼性を確保することが困難になる、という問題があった。
【0006】
本開示は、上記のような問題点を解決するためになされたもので、配線板の接合信頼性を確保する半導体装置及び電力変換装置を提供することを目的とする。
【課題を解決するための手段】
【0007】
本開示に係る半導体装置は、上面に回路層が形成された絶縁基板と、絶縁基板の回路層の上に第1導電性接合材を介して接合され、上面に電極層が形成された半導体素子と、絶縁基板の回路層と半導体素子の電極層との少なくとも一方の上に第2導電性接合材を介して接合された導電体と、導電体に溶接された配線板と、を備え、第2導電性接合材は、導電体の側面の一部を覆うフィレット形状を有する。
【0008】
本開示に係る電力変換装置は、本開示に係る半導体装置を有し、入力される電力を変換して出力する主変換回路と、主変換回路を制御する制御信号を主変換回路に出力する制御回路と、を備える。
【発明の効果】
【0009】
本開示に係る半導体装置及び電力変換装置によれば、配線板の接合信頼性を確保することができる。
【図面の簡単な説明】
【0010】
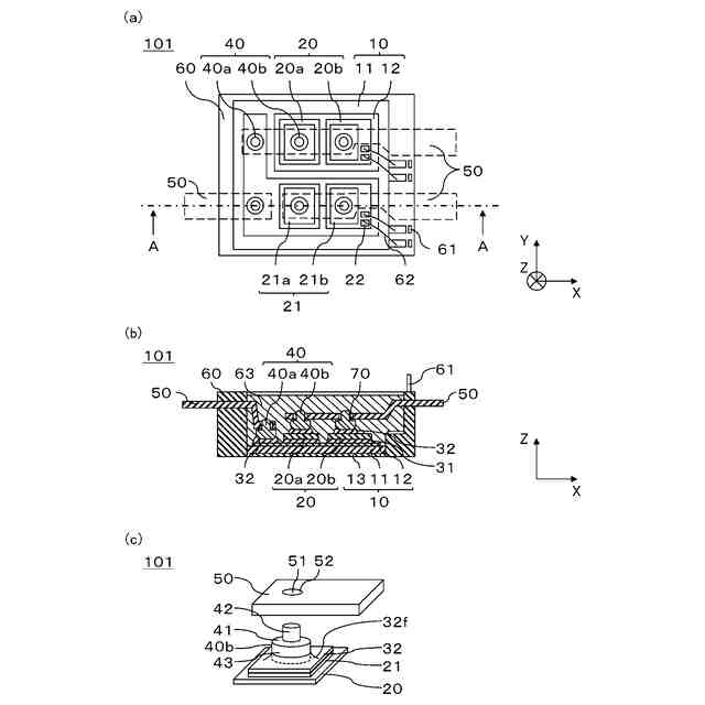
本開示の実施の形態1に係る半導体装置の構造を示す概略図である。
本開示の実施の形態1に係る半導体装置の製造方法を示す模式図である。
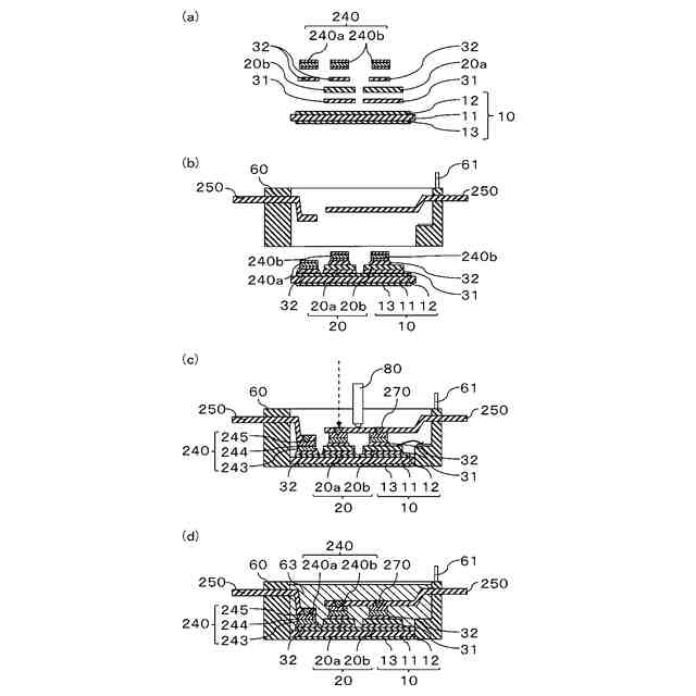
本開示の実施の形態1の変形例1に係る半導体装置の構造を示す断面概略図である。
本開示の実施の形態1の変形例2に係る半導体装置の構造を示す断面概略図である。
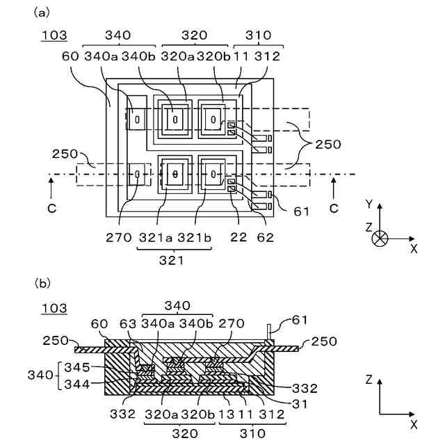
本開示の実施の形態2に係る半導体装置の構造を示す概略図である。
本開示の実施の形態2に係る半導体装置の製造方法を示す模式図である。
本開示の実施の形態3に係る半導体装置の構造を示す概略図である。
本開示の実施の形態4に係る電力変換装置を適用した電力変換システムの構成を示すブロック図である。
【発明を実施するための形態】
(【0011】以降は省略されています)
この特許をJ-PlatPat(特許庁公式サイト)で参照する
関連特許
三菱電機株式会社
扇風機
1日前
三菱電機株式会社
冷蔵庫
3日前
三菱電機株式会社
換気扇
16日前
三菱電機株式会社
換気扇
16日前
三菱電機株式会社
換気扇
16日前
三菱電機株式会社
増幅器
7日前
三菱電機株式会社
回転電機
1か月前
三菱電機株式会社
回転電機
1か月前
三菱電機株式会社
電子機器
17日前
三菱電機株式会社
照明装置
1か月前
三菱電機株式会社
収集装置
14日前
三菱電機株式会社
半導体装置
2日前
三菱電機株式会社
保護リレー
2日前
三菱電機株式会社
空気調和機
9日前
三菱電機株式会社
半導体装置
22日前
三菱電機株式会社
半導体装置
1か月前
三菱電機株式会社
加熱調理器
1か月前
三菱電機株式会社
半導体装置
1か月前
三菱電機株式会社
点検管理装置
1日前
三菱電機株式会社
空調システム
7日前
三菱電機株式会社
貯湯式給湯機
4日前
三菱電機株式会社
給湯システム
1か月前
三菱電機株式会社
車両制御装置
1か月前
三菱電機株式会社
ねじ締め装置
7日前
三菱電機株式会社
空気調和装置
1か月前
三菱電機株式会社
貯湯式給湯機
1か月前
三菱電機株式会社
調理システム
3日前
三菱電機株式会社
貯湯式給湯機
3日前
三菱電機株式会社
炊飯システム
3日前
三菱電機株式会社
電力変換装置
1か月前
三菱電機株式会社
照明システム
22日前
三菱電機株式会社
ネジ取出機構
1か月前
三菱電機株式会社
非常用照明装置
1か月前
三菱電機株式会社
電動機制御装置
28日前
三菱電機株式会社
誘導加熱調理器
16日前
三菱電機株式会社
樹脂成形用金型
7日前
続きを見る
他の特許を見る