TOP
|
特許
|
意匠
|
商標
特許ウォッチ
Twitter
他の特許を見る
10個以上の画像は省略されています。
公開番号
2025162633
公報種別
公開特許公報(A)
公開日
2025-10-28
出願番号
2024065923
出願日
2024-04-16
発明の名称
プロペラファン、及び送風機
出願人
三菱電機株式会社
代理人
弁理士法人加藤国際特許事務所
主分類
F04D
29/38 20060101AFI20251021BHJP(液体用容積形機械;液体または圧縮性流体用ポンプ)
要約
【課題】騒音の低減化をより確実に図ることができるプロペラファン、及び送風機を提供する。
【解決手段】プロペラファン5において、各翼7には、圧力側に向いた翼圧力面8と、負圧側に向いた翼負圧面9とが形成されている。翼負圧面9は、翼7の翼本体部71に形成された負圧本体面91と、翼7の翼突起部72に形成されており、負圧本体面91に対して負圧側へ突出している負圧突起面92とを有している。翼圧力面8は、翼本体部71に形成された圧力本体面81と、翼突起部72に形成されており、圧力本体面81に対して窪んでいる圧力窪み面82とを有している。ボス6の回転方向における翼突起部72の前縁72a及び後縁72bのうち、翼突起部72の後縁72bは、翼7の後縁7bから翼7の前縁7aに近い側へ離れた位置に位置している。
【選択図】図4
特許請求の範囲
【請求項1】
軸線を中心として回転可能なボスと、
前記ボスの外周部に固定されており、前記軸線を中心として前記ボスと一体に回転可能な複数の翼と
を備え、
各前記翼には、前記ボスの回転方向における前記翼の前側である圧力側に向いた翼圧力面と、前記ボスの回転方向における前記翼の後ろ側である負圧側に向いた翼負圧面とが形成されており、
各前記翼は、前記ボスに固定された翼本体部と、前記翼本体部に繋がっている翼突起部とを有しており、
前記翼負圧面は、前記翼本体部に形成された負圧本体面と、前記翼突起部に形成されており、前記負圧本体面に対して前記負圧側へ突出している負圧突起面とを有しており、
前記翼圧力面は、前記翼本体部に形成された圧力本体面と、前記翼突起部に形成されており、前記圧力本体面に対して窪んでいる圧力窪み面とを有しており、
前記ボスの回転方向における前記翼の前縁及び後縁のうち、前記翼の後縁は、前記ボスの回転方向における前記翼本体部の後縁となっており、
前記ボスの回転方向における前記翼突起部の前縁及び後縁のうち、前記翼突起部の後縁は、前記翼の後縁から前記翼の前縁に近い側へ離れた位置に位置しているプロペラファン。
続きを表示(約 1,700 文字)
【請求項2】
前記翼突起部の前縁及び前記翼本体部の前縁は、前記翼の前縁として連続して形成されており、
前記翼の前縁の形状は、前記翼突起部の前縁が前記翼本体部の前縁に対して前記負圧側へ突出し、かつ前記翼突起部の前縁が前記翼本体部の前縁に対して前記圧力側において窪んでいる形状である請求項1に記載のプロペラファン。
【請求項3】
前記翼の前縁は、前記ボスの回転方向における前記翼本体部の前縁となっており、
前記翼突起部の前縁は、前記翼の前縁から前記翼の後縁に近い側へ離れた位置に位置しており、
前記翼突起部の前縁は、前記翼の前縁と平行に形成されている請求項1に記載のプロペラファン。
【請求項4】
前記翼突起部の前縁の両端部のうち、前記ボスの径方向において外側に位置する端部が突起前縁外側端部となっており、
前記突起前縁外側端部を通りかつ前記軸線を中心とする仮想円筒面である基準仮想円筒面によって前記翼を切断したときの前記翼の断面において、前記翼の前縁から前記翼の後縁までの直線距離を基準翼弦長とし、
前記基準仮想円筒面によって前記翼を切断したときの前記翼の断面において、前記翼の前縁から前記突起前縁外側端部までの直線距離を第1突起距離とすると、
前記基準翼弦長に対する前記第1突起距離の比は、0以上で0.65以下の範囲の値である請求項1に記載のプロペラファン。
【請求項5】
前記基準仮想円筒面によって前記翼を切断したときの前記翼の断面における前記突起前縁外側端部の位置は、前記翼の後縁よりも前記翼の前縁に近い位置である請求項4に記載のプロペラファン。
【請求項6】
前記翼突起部の前縁の両端部のうち、前記ボスの径方向において内側に位置する端部が突起前縁内側端部となっており、
前記翼突起部の前縁の両端部のうち、前記ボスの径方向において外側に位置する端部が突起前縁外側端部となっており、
前記突起前縁内側端部には、前記翼突起部の内周縁が繋がっており、
前記突起前縁外側端部には、前記翼突起部の外周縁が繋がっており、
前記突起前縁外側端部において前記翼突起部の前縁と前記翼突起部の外周縁とがなす角度、及び前記突起前縁内側端部において前記翼突起部の前縁と前記翼突起部の内周縁とがなす角度は、いずれも直角以下である請求項1から請求項5までのいずれか一項に記載のプロペラファン。
【請求項7】
前記翼突起部の前縁の長さは、前記翼突起部の後縁の長さよりも長くなっている請求項1から請求項5までのいずれか一項に記載のプロペラファン。
【請求項8】
前記翼の厚さは、一定の厚さとなっており、
前記翼突起部は、オフセット部と、前記オフセット部の外周部と前記翼本体部とを互いに繋ぐ繋ぎ部とを有しており、
前記オフセット部は、前記負圧突起面が前記負圧本体面に対して前記負圧側へ突出する方向へ前記翼本体部に対してずれて配置されており、
前記オフセット部の厚さを突起部厚さとし、前記オフセット部が前記翼の負圧側へ前記翼本体部に対してずれている距離を突起部高さとすると、
前記突起部厚さに対する前記突起部高さの比は、0.42以上で5.1以下の範囲に設定されている請求項1から請求項5までのいずれか一項に記載のプロペラファン。
【請求項9】
前記ボスは、ボス本体部と、前記ボス本体部の外周部から突出している複数の翼固定部とを有しており、
前記複数の翼における前記翼本体部は、前記複数の翼固定部に個別に固定されており、
各前記翼固定部の厚さは、前記翼本体部の厚さよりも厚くなっている請求項1から請求項5までのいずれか一項に記載のプロペラファン。
【請求項10】
筒状のベルマウスと、
前記ベルマウスの内側に配置されている請求項1から請求項5までのいずれか一項に記載のプロペラファンと
を備えている送風機。
発明の詳細な説明
【技術分野】
【0001】
本開示は、プロペラファン、及び送風機に関する。
続きを表示(約 2,000 文字)
【背景技術】
【0002】
特許文献1には、回転軸を中心として複数の翼を回転させたときに発生する騒音を抑制するために、ボスから半径方向に離れるにしたがって各翼を気流の上流側に反り返らせたプロペラファンが開示されている。
【先行技術文献】
【特許文献】
【0003】
特許第6837611号公報
【発明の概要】
【発明が解決しようとする課題】
【0004】
特許文献1に開示された従来のプロペラファンでは、各翼の外周縁の周囲に発生する翼端渦に起因する騒音が抑制される。しかし、従来のプロペラファンでは、各翼の回転方向における各翼の前縁の周囲に発生する剥離渦が拡大しやすい。従って、従来のプロペラファンでは、騒音が低減されにくくなってしまう。
【0005】
本開示は、上記のような課題を解決するものであり、騒音の低減化をより確実に図ることができるプロペラファン、及び送風機を提供することを目的とする。
【課題を解決するための手段】
【0006】
本開示に係るプロペラファンは、軸線を中心として回転可能なボスと、ボスの外周部に固定されており、軸線を中心としてボスと一体に回転可能な複数の翼とを備え、各翼には、ボスの回転方向における翼の前側である圧力側に向いた翼圧力面と、ボスの回転方向における翼の後ろ側である負圧側に向いた翼負圧面とが形成されており、各翼は、ボスに固定された翼本体部と、翼本体部に繋がっている翼突起部とを有しており、翼負圧面は、翼本体部に形成された負圧本体面と、翼突起部に形成されており、負圧本体面に対して負圧側へ突出している負圧突起面とを有しており、翼圧力面は、翼本体部に形成された圧力本体面と、翼突起部に形成されており、圧力本体面に対して窪んでいる圧力窪み面とを有しており、ボスの回転方向における翼の前縁及び後縁のうち、翼の後縁は、ボスの回転方向における翼本体部の後縁となっており、ボスの回転方向における翼突起部の前縁及び後縁のうち、翼突起部の後縁は、翼の後縁から翼の前縁に近い側へ離れた位置に位置している。
【発明の効果】
【0007】
本開示によれば、騒音の低減化をより確実に図ることができる。
【図面の簡単な説明】
【0008】
実施の形態1に係る送風機を示す斜視図である。
図1のプロペラファンを示す斜視図である。
図1の軸線Zを通る平面によって切断したときの送風機の要部を模式的に示す断面図である。
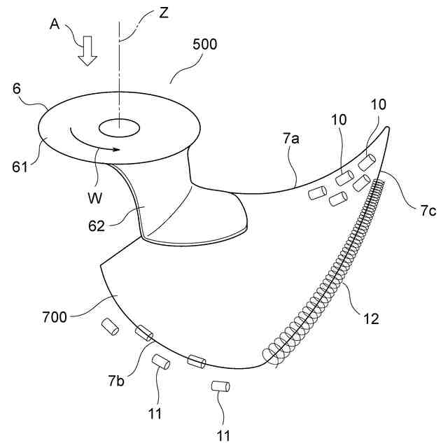
図2の軸線Zに沿って見たときのプロペラファンの要部を示す平面図である。
図4のV-V線に沿った断面図である。
比較例の送風機におけるプロペラファンの軸線に沿って見たときのプロペラファンの要部を示す平面図である。
図6のVII-VII線に沿った断面図である。
図6のプロペラファンの回転によって翼の周囲に発生する気流を模式的に示した斜視図である。
図7の翼がボスの回転方向Wへ回転したときに翼の周囲に発生する気流の流れを模式的に示す断面図である。
図5の翼がボスの回転方向Wへ回転したときに翼の周囲に発生する気流の流れを模式的に示す断面図である。
図5の突起厚さ比tt/tと、騒音の減音値との関係を示すグラフである。
図4の前縁長さ比Lt1/LZと、騒音の減音値との関係を示すグラフである。
実施の形態2に係る送風機におけるプロペラファンの要部を示す平面図である。
図13のXIV-XIV線に沿った断面図である。
外周縁位置突起比LT/LCと、騒音の減音値との関係を示すグラフである。
実施の形態3に係る送風機におけるプロペラファンの要部を示す平面図である。
実施の形態4に係る送風機におけるプロペラファンの要部を示す平面図である。
実施の形態1、実施の形態3及び実施の形態4のそれぞれに係る送風機における騒音の減音値を示すグラフである。
【発明を実施するための形態】
【0009】
本開示の対象を実施するための形態について添付の図を参照しながら説明する。各図において、同一または相当する部分には同一の符号を付して、重複する説明は適宜に簡略化又は省略する。なお、本開示の対象は、以下の実施の形態に限定されることなく、本開示の趣旨を逸脱しない範囲において、実施の形態の任意の構成要素の変形、又は実施の形態の任意の構成要素の省略が可能である。
【0010】
実施の形態1.
図1は、実施の形態1に係る送風機を示す斜視図である。軸流送風機である送風機1は、取付ベース2と、ベルマウス3と、主軸4と、不図示のモータと、プロペラファン5とを有している。
(【0011】以降は省略されています)
この特許をJ-PlatPat(特許庁公式サイト)で参照する
関連特許
三菱電機株式会社
扇風機
1日前
三菱電機株式会社
増幅器
7日前
三菱電機株式会社
換気扇
16日前
三菱電機株式会社
換気扇
16日前
三菱電機株式会社
換気扇
16日前
三菱電機株式会社
冷蔵庫
3日前
三菱電機株式会社
回転電機
1か月前
三菱電機株式会社
回転電機
1か月前
三菱電機株式会社
収集装置
14日前
三菱電機株式会社
照明装置
1か月前
三菱電機株式会社
電子機器
17日前
三菱電機株式会社
半導体装置
22日前
三菱電機株式会社
空気調和機
9日前
三菱電機株式会社
半導体装置
1か月前
三菱電機株式会社
保護リレー
2日前
三菱電機株式会社
半導体装置
2日前
三菱電機株式会社
加熱調理器
1か月前
三菱電機株式会社
半導体装置
1か月前
三菱電機株式会社
ねじ締め装置
7日前
三菱電機株式会社
空気調和装置
1か月前
三菱電機株式会社
空調システム
7日前
三菱電機株式会社
照明システム
22日前
三菱電機株式会社
車両制御装置
1か月前
三菱電機株式会社
貯湯式給湯機
4日前
三菱電機株式会社
点検管理装置
1日前
三菱電機株式会社
電力変換装置
1か月前
三菱電機株式会社
ネジ取出機構
1か月前
三菱電機株式会社
貯湯式給湯機
1か月前
三菱電機株式会社
調理システム
3日前
三菱電機株式会社
貯湯式給湯機
3日前
三菱電機株式会社
給湯システム
1か月前
三菱電機株式会社
炊飯システム
3日前
三菱電機株式会社
電動機制御装置
28日前
三菱電機株式会社
非常用照明装置
1か月前
三菱電機株式会社
樹脂成形用金型
7日前
三菱電機株式会社
誘導加熱調理器
16日前
続きを見る
他の特許を見る