TOP
|
特許
|
意匠
|
商標
特許ウォッチ
Twitter
他の特許を見る
10個以上の画像は省略されています。
公開番号
2025163426
公報種別
公開特許公報(A)
公開日
2025-10-29
出願番号
2024066656
出願日
2024-04-17
発明の名称
ガスセンサ装置
出願人
株式会社デンソー
代理人
弁理士法人あいち国際特許事務所
主分類
G01N
27/416 20060101AFI20251022BHJP(測定;試験)
要約
【課題】周辺環境温度の影響を抑制し、被測定ガスに含まれる水分量に基づく補正をより精度よく行って、NOx濃度の検出精度を向上可能なNOxセンサを提供する。
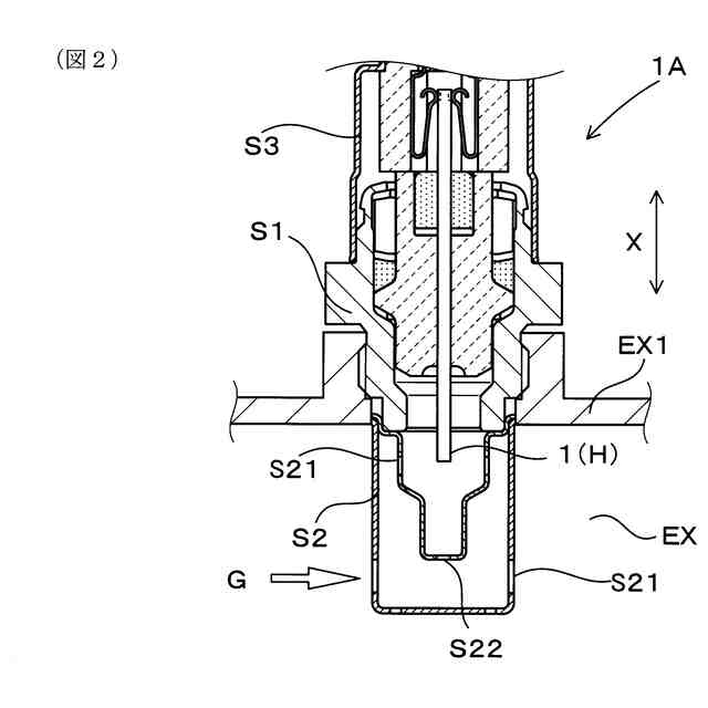
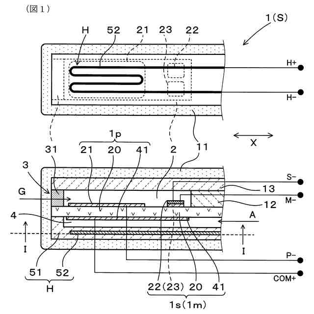
【解決手段】ガスセンサ装置Sは、ガスセンサ素子1と、多孔質保護層11と、センサ制御部10と、を備える。ガスセンサ素子1は、拡散抵抗層を介して被測定ガスが導入される被測定ガス室2と、固体電解質体20の表面にポンプ電極21を有し、被測定ガス室の酸素濃度を調整するポンプセル1pと、ガス流れに対して下流側において固体電解質の表面にセンサ電極22を有し、特定ガスの濃度に応じた出力を生じるセンサセル1sと、を備えており、多孔質保護層11は、ガスセンサ素子1の使用環境における有機成分の吸着量が、100mg/g以上400mg/g以下の範囲にある。
【選択図】図1
特許請求の範囲
【請求項1】
被測定ガス(G)に含まれる特定ガスを検出するためのガスセンサ素子(1)と、
前記ガスセンサ素子の外表面を保護する多孔質保護層(11)と、
前記ガスセンサ素子の動作を制御すると共に、前記ガスセンサ素子の出力に基づいて前記特定ガスを検出するセンサ制御部(10)と、を備えるガスセンサ装置(S)であって、
前記ガスセンサ素子は、
前記多孔質保護層の内側に配置される拡散抵抗層(31)と、
前記拡散抵抗層を介して、前記被測定ガスが導入される被測定ガス室(2)と、
前記被測定ガス室に面する固体電解質体(20)の表面にポンプ電極(21)を有し、前記被測定ガス室の酸素濃度を調整するポンプセル(1p)と、
前記被測定ガス室のガス流れに対して、前記ポンプ電極よりも下流側の前記固体電解質体の表面にセンサ電極(22)を有し、前記特定ガスの濃度に応じた出力を生じるセンサセル(1s)と、を備えており、
前記多孔質保護層は、
前記ガスセンサ素子の使用環境における有機成分の吸着量が、100mg/g以上400mg/g以下の範囲にある、ガスセンサ装置。
続きを表示(約 540 文字)
【請求項2】
前記センサ制御部は、センサ動作開始時に前記ポンプセルへ印加される電圧を、通常時の制御電圧(V1)よりも高い始動時電圧(V2)に制御する早期活性制御部(101)を備えており、
センサ動作期間において、前記センサ電極における前記有機成分の吸着量は、0.1mg以下に維持される、請求項1に記載のガスセンサ装置。
【請求項3】
前記多孔質保護層における前記有機成分の吸着量は、前記多孔質保護層の平均気孔径及び層厚により調整される、請求項1又は2に記載のガスセンサ装置。
【請求項4】
前記多孔質保護層の平均気孔径は、0.4μm以上であり、前記多孔質保護層の層厚は、50μm以上である、請求項3に記載のガスセンサ装置。
【請求項5】
前記センサ電極は、固体電解質及び貴金属を含む多孔質サーメット電極膜からなり、前記多孔質サーメット電極膜の膜厚は、5μm以上である、請求項1又は2に記載のガスセンサ装置。
【請求項6】
前記被測定ガスは、内燃機関の排ガスであり、前記特定ガスは、窒素酸化物であり、前記有機成分は、炭化水素系化合物を含む炭化水素系有機成分である、請求項1又は2に記載のガスセンサ装置。
発明の詳細な説明
【技術分野】
【0001】
本発明は、被測定ガス中の特定ガスの濃度を検出するガスセンサ装置に関する。
続きを表示(約 2,400 文字)
【背景技術】
【0002】
従来から、車両用エンジン等の内燃機関の排気系において、固体電解質型のガスセンサ素子を備えるガスセンサが用いられている。ガスセンサ素子は、被測定ガス中の酸素濃度を調整するためのポンプセルと、窒素酸化物(NOx)等の特定ガスを検出するためのセンサセルとを備えている。ガスセンサには、センサ始動時に速やかにガス検出を開始することが求められており、各セルを構成する固体電解質体及び電極は、内蔵ヒータ等によって所定の活性温度に加熱可能となっている。
【0003】
また、特許文献1には、センサ停止中に酸素(O
2
)が電極材料に吸蔵されることに起因して、センサ出力が変動することに着目し、ポンプセルを用いた早期活性制御を行うことが提案されている。具体的には、ガス濃度の検出に先立つ一定時間、ポンプセルの制御電圧を、通常電圧よりも高い除去用電圧とするポンプセル制御部が設けられている。除去用電圧が印加されると、被測定ガス中の水分(H
2
O)等の分解により水素(H
2
)等の還元ガスを発生し、センサセルに吸蔵される酸素を除去することが可能になる。
【先行技術文献】
【特許文献】
【0004】
特開2016-70922号公報
【発明の概要】
【発明が解決しようとする課題】
【0005】
被測定ガスとなる内燃機関の排ガスには、検出対象となるNOx等の特定ガス以外にも、種々の物質が含まれる。一般に、ガスセンサは、ガスセンサ素子の外表面を覆う多孔質保護層を備えており、ガスセンサ素子の内部に侵入する無機又は有機系の被毒物質からガスセンサ素子を保護するように構成されている。例えば、内燃機関の始動時や停止時には、炭化水素(HC)系の有機成分が排出されやすくなり、センサセルに付着するとNOxの検出を妨げるおそれがある。一方で、NOxが排出されやすい空気過剰(リーン)領域では、有機成分の排出は減少することから、従来は、センサ出力への有機成分の影響について、ほとんど検討されてこなかった。
【0006】
また、リーン領域では、排ガスG中の酸素濃度が高くなり、NOx検出の応答性を低下させることが知られている。そのため、従来から、ガスセンサ素子の内部に侵入する酸素に対して、所定の低酸素濃度となるようにポンプセルが制御されている。あるいは、このような通常時の制御に加えて、さらに初期の応答性を高めるために、特許文献1に記載される早期活性制御を採用することができる。しかしながら、ガスセンサ素子の制御動作による応答性の改善には限界があった。
【0007】
本発明は、かかる課題に鑑みてなされたものであり、検出対象外の成分によるセンサ出力への影響を抑制して、特定ガスの検出における応答性を向上させることができるガスセンサ装置を提供しようとするものである。
【課題を解決するための手段】
【0008】
本発明の一態様は、
被測定ガス(G)に含まれる特定ガスを検出するためのガスセンサ素子(1)と、
前記ガスセンサ素子の外表面を保護する多孔質保護層(11)と、
前記ガスセンサ素子の動作を制御すると共に、前記ガスセンサ素子の出力に基づいて前記特定ガスを検出するセンサ制御部(10)と、を備えるガスセンサ装置(S)であって、
前記ガスセンサ素子は、
前記多孔質保護層の内側に配置される拡散抵抗層(31)と、
前記拡散抵抗層を介して、前記被測定ガスが導入される被測定ガス室(2)と、
前記被測定ガス室に面する固体電解質体(20)の表面にポンプ電極(21)を有し、前記被測定ガス室の酸素濃度を調整するポンプセル(1p)と、
前記被測定ガス室のガス流れに対して、前記ポンプ電極よりも下流側の前記固体電解質体の表面にセンサ電極(22)を有し、前記特定ガスの濃度に応じた出力を生じるセンサセル(1s)と、を備えており、
前記多孔質保護層は、
前記ガスセンサ素子の使用環境における有機成分の吸着量が、100mg/g以上400mg/g以下の範囲にある、ガスセンサ装置にある。
【発明の効果】
【0009】
上記構成のガスセンサ装置において、検出対象である特定ガスを含む被測定ガスが、ガスセンサ素子に到達すると、外表面に形成される多孔質保護層において、有機成分を含む被毒物質が捕捉される。ガスセンサ素子の内部へのガス導入部となる拡散抵抗層には、その外側に位置する多孔質保護層を通過した被測定ガスが導入され、内部を拡散して被測定ガス室へ至る。ここで、センサ出力の応答性を向上させるには、一般的には、被測定ガスが速やかに多孔質保護層を通過するのがよいが、一方で、センサセルへ到達する被毒物質も増加しやすくなり、特定ガスの検出が阻害される。
【0010】
これに対して、多孔質保護層に捕捉される有機成分が、センサ出力の応答性に影響する。すなわち、ガスセンサ素子が使用環境となる雰囲気下において、多孔質保護層に吸着される有機成分が、100mg/g以上であり400mg/g以下のときに、センサ出力の応答性が向上可能であることが判明した。その理由は、必ずしも明らかではないが、多孔質保護層に所定量以上の有機成分が存在することにより、被測定ガスに含まれる酸素との反応が促進され、多孔質保護層を通過する間に消費される酸素が増加する。また、有機成分の吸着量が所定量以下であることにより、被測定ガス室へ至る流路の拡散抵抗の上昇が抑制される。
(【0011】以降は省略されています)
この特許をJ-PlatPat(特許庁公式サイト)で参照する
関連特許
株式会社デンソーウェーブ
筐体
17日前
株式会社デンソー
回転機
17日前
株式会社デンソー
車載器
1か月前
株式会社デンソー
接合体
1か月前
株式会社デンソー
ねじ部材
1か月前
株式会社デンソー
ステータ
1か月前
株式会社デンソー
ステータ
1か月前
株式会社デンソー
ステータ
1か月前
株式会社デンソー
電子装置
1か月前
株式会社デンソーエレクトロニクス
発音装置
1か月前
株式会社デンソー
反力装置
24日前
株式会社デンソー
電子装置
6日前
株式会社デンソー
電子装置
24日前
株式会社デンソー
電子装置
25日前
株式会社デンソー
検出装置
16日前
株式会社デンソー
ステータ
1か月前
株式会社デンソー
センサ装置
3日前
株式会社デンソー
農業用装置
26日前
株式会社デンソー
半導体装置
5日前
株式会社デンソーテン
インバータ
24日前
株式会社デンソー
半導体装置
12日前
株式会社デンソー
レーダ装置
23日前
株式会社デンソー
熱交換装置
10日前
株式会社デンソー
半導体装置
1か月前
株式会社デンソー
電流センサ
17日前
株式会社デンソー
レーダ装置
1か月前
株式会社デンソー
センサ装置
3日前
株式会社デンソー
ヒータ装置
4日前
株式会社デンソートリム
鞍乗り車両
4日前
株式会社デンソーエアクール
換気空調装置
1か月前
株式会社デンソー
画像処理装置
17日前
株式会社デンソー
電力変換装置
18日前
株式会社デンソー
電圧変換回路
1か月前
株式会社デンソー
電子制御装置
1か月前
株式会社デンソー
運航管理装置
23日前
株式会社デンソー
光位相変調器
1か月前
続きを見る
他の特許を見る