TOP
|
特許
|
意匠
|
商標
特許ウォッチ
Twitter
他の特許を見る
公開番号
2025162446
公報種別
公開特許公報(A)
公開日
2025-10-27
出願番号
2024065748
出願日
2024-04-15
発明の名称
高周波増幅器モジュール
出願人
三菱電機株式会社
代理人
個人
主分類
H03F
1/26 20060101AFI20251020BHJP(基本電子回路)
要約
【課題】ケース内に不要波の伝播を抑制する壁を設けることなく、ケース内の空間アイソレーション特性を高めた高周波増幅器モジュールを得ること。
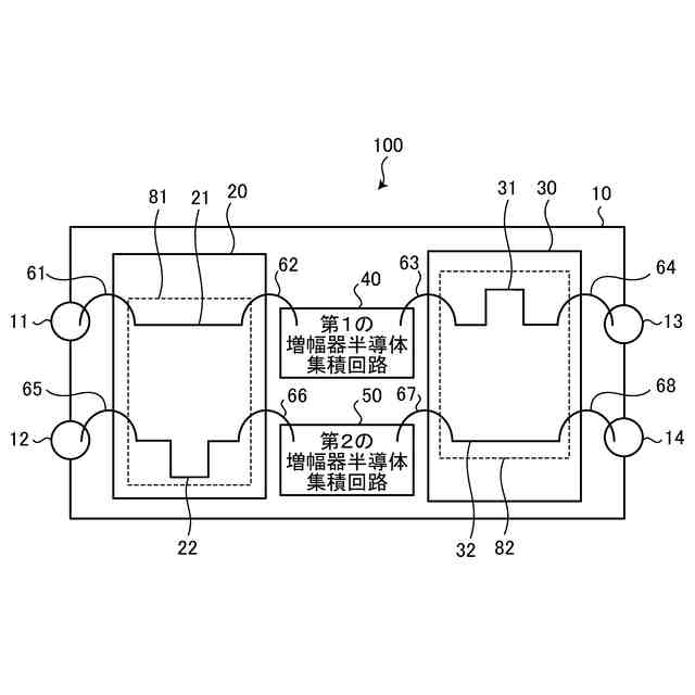
【解決手段】高周波増幅器モジュール100は、第1の入力端子11、第2の入力端子12、第1の出力端子13及び第2の出力端子14を備えたケース10と、第1の入力端子11と第1の出力端子13とを結ぶ第1のチャンネルの伝送経路に設けられた第1の増幅器半導体集積回路40と、第2の入力端子12と第2の出力端子14とを結ぶ第2のチャンネルの伝送経路に設けられた第2の増幅器半導体集積回路50と、第1の入力端子11から入力される高周波信号と第2の入力端子12から入力される高周波信号とに、180度の位相差を付与する位相差付与部81と、位相差付与部81によって変えられた高周波信号の位相を、元の位相に戻す位相復元部82とを備える。
【選択図】図1
特許請求の範囲
【請求項1】
第1の入力端子、第2の入力端子、第1の出力端子及び第2の出力端子を備えたケースと、
前記第1の入力端子と前記第1の出力端子とを結ぶ第1のチャンネルの伝送経路に設けられた第1の増幅器半導体集積回路と、
前記第2の入力端子と前記第2の出力端子とを結ぶ第2のチャンネルの伝送経路に設けられた第2の増幅器半導体集積回路と、
前記第1の入力端子から入力される高周波信号と前記第2の入力端子から入力される高周波信号とに、180度の位相差を付与する位相差付与部と、
前記第1の増幅器半導体集積回路によって増幅された高周波信号及び前記第2の増幅器半導体集積回路によって増幅された高周波信号の180度の位相差を付与する際に前記位相差付与部によって変えられた位相を、元の位相に戻す位相復元部とを備えることを特徴とする高周波増幅器モジュール。
続きを表示(約 220 文字)
【請求項2】
前記位相差付与部及び前記位相復元部は、前記第1のチャンネルの伝送経路と前記第2のチャンネルの伝送経路とで線路長が異なる伝送線路であることを特徴とする請求項1に記載の高周波増幅器モジュール。
【請求項3】
前記位相差付与部及び前記位相復元部は、前記第1のチャンネルの伝送経路と前記第2のチャンネルの伝送経路とにそれぞれ設置された移相器半導体集積回路であることを特徴とする請求項1に記載の高周波増幅器モジュール。
発明の詳細な説明
【技術分野】
【0001】
本開示は、高周波信号を増幅する高周波増幅器モジュールに関する。
続きを表示(約 1,400 文字)
【背景技術】
【0002】
高周波増幅器モジュールでは、モジュールのケース内の増幅器半導体集積回路及び伝送線路基板をワイヤで接続する。高周波信号を伝送する場合には、ワイヤ部分で電波が空間に放射し、他のワイヤ部分と結合し、ケース内の空間アイソレーション特性が劣化する。
【0003】
一般的には、ケース内にカットオフ周波数に対応した間隔で壁を設けて不要波がケース内の空間を伝播しないように対策が行われる。
【0004】
特許文献1には、半導体素子の間に少なくとも1本のグランドラインを挿入することにより、半導体素子間のアイソレーションを高めた半導体装置が開示されている。特許文献1に開示される半導体装置においては、半導体素子間に挿入されたグランドラインが壁となって不要波の伝播を抑制するため、モジュールのケース内の空間アイソレーション特性が向上する。
【先行技術文献】
【特許文献】
【0005】
特開平11-354709号公報
【発明の概要】
【発明が解決しようとする課題】
【0006】
しかしながら、高周波増幅器モジュールの増幅対象の信号の高周波化が進んでいることに加え、高周波増幅器モジュールの小型化及び高密度実装化が要求されていることにより、特許文献1に開示される半導体装置のように不要波の伝播を抑制する壁を高周波増幅器モジュールのケース内に設けることは、難しくなっている。
【0007】
本開示は、上記に鑑みてなされたものであって、ケース内に不要波の伝播を抑制する壁を設けることなく、ケース内の空間アイソレーション特性を高めた高周波増幅器モジュールを得ることを目的とする。
【課題を解決するための手段】
【0008】
上述した課題を解決し、目的を達成するために、本開示に係る高周波増幅器モジュールは、第1の入力端子、第2の入力端子、第1の出力端子及び第2の出力端子を備えたケースと、第1の入力端子と第1の出力端子とを結ぶ第1のチャンネルの伝送経路に設けられた第1の増幅器半導体集積回路と、第2の入力端子と第2の出力端子とを結ぶ第2のチャンネルの伝送経路に設けられた第2の増幅器半導体集積回路とを備える。高周波増幅器モジュールは、第1の入力端子から入力される高周波信号と第2の入力端子から入力される高周波信号とに、180度の位相差を付与する位相差付与部と、第1の増幅器半導体集積回路によって増幅された高周波信号及び第2の増幅器半導体集積回路によって増幅された高周波信号の180度の位相差を付与する際に位相差付与部によって変えられた位相を、元の位相に戻す位相復元部とを備える。
【発明の効果】
【0009】
本開示によれば、ケース内に不要波の伝播を抑制する壁を設けることなく、ケース内の空間アイソレーション特性を高めた高周波増幅器モジュールを得られるという効果を奏する。
【図面の簡単な説明】
【0010】
実施の形態1に係る高周波増幅器モジュールの構成を示す図
実施の形態2に係る高周波増幅器モジュールの構成を示す図
【発明を実施するための形態】
(【0011】以降は省略されています)
この特許をJ-PlatPat(特許庁公式サイト)で参照する
関連特許
三菱電機株式会社
扇風機
1日前
三菱電機株式会社
冷蔵庫
3日前
三菱電機株式会社
換気扇
16日前
三菱電機株式会社
換気扇
16日前
三菱電機株式会社
換気扇
16日前
三菱電機株式会社
増幅器
7日前
三菱電機株式会社
照明装置
1か月前
三菱電機株式会社
回転電機
1か月前
三菱電機株式会社
照明装置
1か月前
三菱電機株式会社
回転電機
1か月前
三菱電機株式会社
照明器具
1か月前
三菱電機株式会社
電子機器
17日前
三菱電機株式会社
換気装置
1か月前
三菱電機株式会社
収集装置
14日前
三菱電機株式会社
回転電機
2か月前
三菱電機株式会社
回転電機
1か月前
三菱電機株式会社
回転電機
2か月前
三菱電機株式会社
半導体装置
1か月前
三菱電機株式会社
加熱調理器
1か月前
三菱電機株式会社
保護リレー
2日前
三菱電機株式会社
半導体装置
2日前
三菱電機株式会社
電気掃除機
2か月前
三菱電機株式会社
半導体装置
1か月前
三菱電機株式会社
半導体装置
1か月前
三菱電機株式会社
半導体装置
22日前
三菱電機株式会社
半導体装置
1か月前
三菱電機株式会社
半導体装置
1か月前
三菱電機株式会社
空気調和機
9日前
三菱電機株式会社
回路遮断器
2か月前
三菱電機株式会社
ネジ取出機構
1か月前
三菱電機株式会社
給湯システム
1か月前
三菱電機株式会社
空気調和装置
1か月前
三菱電機株式会社
ねじ締め装置
7日前
三菱電機株式会社
電力変換装置
1か月前
三菱電機株式会社
回転電機装置
1か月前
三菱電機株式会社
空調システム
7日前
続きを見る
他の特許を見る