TOP
|
特許
|
意匠
|
商標
特許ウォッチ
Twitter
他の特許を見る
公開番号
2025164018
公報種別
公開特許公報(A)
公開日
2025-10-30
出願番号
2024067728
出願日
2024-04-18
発明の名称
車両後部構造
出願人
トヨタ自動車株式会社
代理人
弁理士法人YKI国際特許事務所
主分類
B62D
25/20 20060101AFI20251023BHJP(鉄道以外の路面車両)
要約
【課題】車両が前面衝突した際に、リアシートのシートクッションが高電圧装置に近づくことを抑制する。
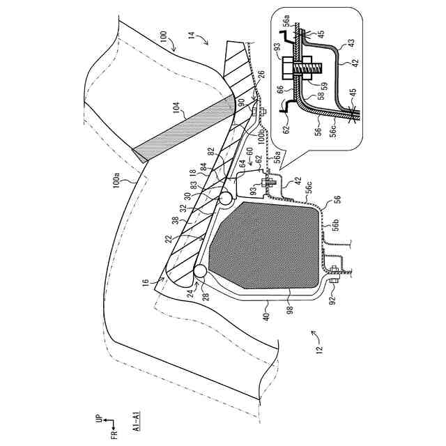
【解決手段】車両のリアシート14のシートクッション16の下側に高電圧装置98が配置された車両後部構造12である。シートクッション16は、乗員100が着座する座面18の下側に配置されたクッションフレーム22を含む。クッションフレーム22の前端24は1つ以上の前脚40を介してフロアパネル56に接続されており、クッションフレーム22は前方から後方に向かって下降傾斜している。クッションフレーム22は、乗員100が座面18に着座した際にその乗員の大腿部100aの下方に位置する、車両幅方向に延びる骨格部材30を含む。車両の後部において前後方向に延びる一対のリアサイドメンバの間に架け渡されたクロスメンバ42と、クロスメンバ42の上に配置されて骨格部材30に接続されたブラケット60とが設けられる。
【選択図】図2
特許請求の範囲
【請求項1】
車両のリアシートのシートクッション下側に高電圧装置が配置された車両後部構造であって、
前記シートクッションは、乗員が着座する座面の下側に配置されたクッションフレームを含み、
前記クッションフレームとフロアパネルとの間に、前記高電圧装置が配置されており、
前記クッションフレームの前端は、1つ以上の前脚を介して前記フロアパネルに接続されており、
前記クッションフレームは、前方から後方に向かって下降傾斜しており、前記クッションフレームの後端は、前記フロアパネルに接続されており、
前記クッションフレームは、前記乗員が前記座面に着座した際にその乗員の大腿部の下方に位置する、車両幅方向に延びる骨格部材を含み、
前記車両後部構造は、
前記車両の後部において前後方向に延びる一対のリアサイドメンバの間に架け渡されたクロスメンバと、
前記クロスメンバの上に配置されて前記骨格部材に接続されたブラケットと、を備える、
車両後部構造。
続きを表示(約 500 文字)
【請求項2】
請求項1に記載の車両後部構造であって、
前記ブラケットは、前記乗員が着座する座面領域の車両幅方向中央の下方に設けられている、
車両後部構造。
【請求項3】
請求項1または2に記載の車両後部構造であって、
前記ブラケットは、前記骨格部材に溶接された上ブラケットと、その上ブラケットにボルト締結されるとともに前記クロスメンバの上側に配置された前記フロアパネルにボルト締結される下ブラケットと、を含む、
車両後部構造。
【請求項4】
請求項3に記載の車両後部構造であって、
前記骨格部材はパイプであり、
前記上ブラケットは、底板と、その底板の左右端部から上方に張り出した2つの側板と、を含み、
前記上ブラケットの底板は、前記下ブラケットにボルト締結されており、
前記上ブラケットの2つの側板はそれぞれ、前方端面が前記パイプの後方下部の外周面に溶接されるとともに、上端が左右外方に折り曲げられて前記シートクッションのクッション材の下面と対向するフランジ部を成している、
車両後部構造。
発明の詳細な説明
【技術分野】
【0001】
本発明は、車両後部構造に関し、特に、車両のリアシートクッションの下側に高電圧装置を配置した構造に関する。
続きを表示(約 1,600 文字)
【背景技術】
【0002】
従来から、ハイブリッド電気自動車(HEV)、プラグインハイブリッド電気自動車(PHEV)等の電動車両が知られている。電動車両は、駆動用モータに電力を供給するバッテリを備える。バッテリを含む高電圧装置は、例えばリアシートのシートクッションの下側に配置されている。
【0003】
特許文献1には、車両のリアシートクッションの下側に車両幅方向に沿って配置され、側面衝突時の荷重を受け止める荷重伝達バーを備える車両後部構造が開示されている。
【先行技術文献】
【特許文献】
【0004】
特開2016-37215号公報
【発明の概要】
【発明が解決しようとする課題】
【0005】
リアシートのシートクッションは、乗員が着座する座面の下側に配置されたクッションフレームを含む。クッションフレームとフロアパネルとの間に、バッテリを含む高電圧装置が配置される。クッションフレームの前端は、1つ以上の前脚を介してフロアパネルに接続されており、クッションフレームは、前方から後方に向かって下降傾斜している。クッションフレームの後端は、フロアパネルに接続されている。また、クッションフレームは、乗員が座面に着座した際にその乗員の大腿部の下方に位置する、車両幅方向に延びるパイプ等の骨格部材を含んでいる。
【0006】
この構造では、車両が前面衝突した際に、リアシートに乗員が座っていた場合、衝突に伴う慣性力によって乗員の臀部がシートクッションに沈み込みながら前方へ移動した時に、乗員の臀部がクッション材を介して車両幅方向に延びる骨格部材で受け止められる。しかし、その際、乗員からの荷重によりその骨格部材が下方に変形したり、その骨格部材が変形することでリアシートの前脚にかかる荷重が大きくなってその前脚が変形したりする。これにより、シートクッションが下方に変位して、シートクッションの下面が高電圧装置に近づく虞がある。
【0007】
本発明の目的は、車両が前面衝突した際に、リアシートのシートクッションが高電圧装置に近づくことを抑制することにある。
【課題を解決するための手段】
【0008】
本発明に係る車両後部構造は、車両のリアシートのシートクッション下側に高電圧装置が配置されており、前記シートクッションは、乗員が着座する座面の下側に配置されたクッションフレームを含む。前記クッションフレームとフロアパネルとの間に、前記高電圧装置が配置されている。前記クッションフレームの前端は、1つ以上の前脚を介して前記フロアパネルに接続されており、前記クッションフレームは、前方から後方に向かって下降傾斜しており、前記クッションフレームの後端は、前記フロアパネルに接続されている。前記クッションフレームは、前記乗員が前記座面に着座した際にその乗員の大腿部の下方に位置する、車両幅方向に延びる骨格部材を含む。前記車両後部構造は、前記車両の後部において前後方向に延びる一対のリアサイドメンバの間に架け渡されたクロスメンバと、前記クロスメンバの上に配置されて前記骨格部材に接続されたブラケットと、を備える、ことを特徴とする。
【0009】
この構成によれば、車両が前面衝突した際に、リアシートに座っていた乗員から骨格部材に入力される荷重はブラケットを介してクロスメンバで受け止められる。そのため、骨格部材が下方へ変形したり、その骨格部材が変形することで前脚が変形したりすることを抑制できる。そのため、シートクッションが高電圧装置に近づくことを抑制することができる。
【0010】
本発明に係る車両後部構造において、前記ブラケットは、前記乗員が着座する座面領域の車両幅方向中央の下方に設けられている、としてもよい。
(【0011】以降は省略されています)
この特許をJ-PlatPat(特許庁公式サイト)で参照する
関連特許
トヨタ自動車株式会社
電池
19日前
トヨタ自動車株式会社
方法
13日前
トヨタ自動車株式会社
方法
22日前
トヨタ自動車株式会社
方法
14日前
トヨタ自動車株式会社
車両
14日前
トヨタ自動車株式会社
車両
27日前
トヨタ自動車株式会社
車両
13日前
トヨタ自動車株式会社
方法
13日前
トヨタ自動車株式会社
車両
26日前
トヨタ自動車株式会社
車両
21日前
トヨタ自動車株式会社
椅子
22日前
トヨタ自動車株式会社
治具
7日前
トヨタ自動車株式会社
車両
12日前
トヨタ自動車株式会社
車両
19日前
トヨタ自動車株式会社
方法
12日前
トヨタ自動車株式会社
車両
6日前
トヨタ自動車株式会社
車両
6日前
トヨタ自動車株式会社
方法
22日前
トヨタ自動車株式会社
電池
12日前
トヨタ自動車株式会社
車両
8日前
トヨタ自動車株式会社
車体
15日前
トヨタ自動車株式会社
車両
今日
トヨタ自動車株式会社
電池
今日
トヨタ自動車株式会社
電動機
12日前
トヨタ自動車株式会社
固定子
27日前
トヨタ自動車株式会社
加熱器
26日前
トヨタ自動車株式会社
自動車
13日前
トヨタ自動車株式会社
電磁弁
22日前
トヨタ自動車株式会社
飛行体
19日前
トヨタ自動車株式会社
モータ
9日前
トヨタ自動車株式会社
正極層
12日前
トヨタ自動車株式会社
サーバ
9日前
トヨタ自動車株式会社
モータ
14日前
トヨタ自動車株式会社
モータ
20日前
トヨタ自動車株式会社
電動車
22日前
トヨタ自動車株式会社
蓄電装置
12日前
続きを見る
他の特許を見る