TOP
|
特許
|
意匠
|
商標
特許ウォッチ
Twitter
他の特許を見る
公開番号
2025164351
公報種別
公開特許公報(A)
公開日
2025-10-30
出願番号
2024068258
出願日
2024-04-19
発明の名称
ハイブリッド車
出願人
トヨタ自動車株式会社
代理人
弁理士法人アイテック国際特許事務所
主分類
B60W
20/50 20160101AFI20251023BHJP(車両一般)
要約
【課題】モータに異常が発生した場合でも、空調装置の使用時間を確保する。
【解決手段】ハイブリッド車は、エンジンと、バッテリと、バッテリと電力ラインとの接続および遮断を行なうリレーと、電力ラインに供給された電力により走行用の動力を出力する発電可能なモータと、電力ラインに供給された電力により車室内の空気調和を行なう空調装置と、モータに異常が発生した場合、空調装置の駆動が要求され且つバッテリの蓄電割合が所定割合以上であるときには、リレーを接続した状態でエンジンからの動力により退避走行すると共に空調装置を駆動し、空調装置の駆動が要求されていないとき又はバッテリの蓄電割合が所定割合未満であるときには、リレーを遮断してエンジンからの動力により退避走行するようにエンジンとリレーと空調装置とを制御する制御装置と、を備える。
【選択図】図2
特許請求の範囲
【請求項1】
走行用の動力を出力するエンジンと、
バッテリと、
前記バッテリと電力ラインとの接続および遮断を行なうリレーと、
前記電力ラインに供給された電力により走行用の動力を出力するモータと、
前記電力ラインに供給された電力により車室内の空気調和を行なう空調装置と、
前記モータに異常が発生した場合、前記空調装置の駆動が要求され且つ前記バッテリの蓄電割合が前記所定割合以上であるときには、前記リレーを接続した状態で前記エンジンからの動力により退避走行すると共に前記空調装置を駆動し、前記空調装置の駆動が要求されていないとき又は前記バッテリの蓄電割合が所定割合未満であるときには、前記リレーを遮断して前記エンジンからの動力により退避走行するように前記エンジンと前記リレーと前記空調装置とを制御する制御装置と、
を備えるハイブリッド車。
発明の詳細な説明
【技術分野】
【0001】
本開示は、ハイブリッド車に関する。
続きを表示(約 1,800 文字)
【背景技術】
【0002】
従来、この種のハイブリッド車としては、エンジンと、エンジンの出力軸に接続された回転軸にトルクコンバータを介して入力軸が接続されると共に駆動輪に出力軸が接続された自動変速機と、回転軸にロータが接続されたモータジェネレータと、バッテリと、バッテリの電力を変換してモータジェネレータに供給する電力制御回路(PCU)と、を備えるものが提案されている(例えば、特許文献1参照)。
【先行技術文献】
【特許文献】
【0003】
特開2016-128280号公報
【発明の概要】
【発明が解決しようとする課題】
【0004】
こうしたエンジンとモータとを備えるハイブリッド車においては、バッテリは、通常、リレーを介して電力ラインに接続され、モータジェネレータは、電力ラインに供給された電力により駆動される。そして、モータジェネレータに異常が発生した場合には、リレーを遮断して、エンジンからの動力により退避走行を行なうことが可能である。しかしながら、電力ラインに供給された電力により駆動される空調装置を備えるハイブリッド車においては、モータジェネレータに異常が発生した場合に直ちにリレーを遮断すると、バッテリが電力ラインから切り離されるため、空調装置を駆動することができなくなり、車室内の快適性を損なうおそれが生じる。
【0005】
本開示のハイブリッド車は、モータに異常が発生した場合でも、空調装置の使用時間を確保することができるハイブリッド車を提供することを主目的とする。
【課題を解決するための手段】
【0006】
本開示のハイブリッド車は、上述の主目的を達成するために以下の手段を採った。
【0007】
本開示のハイブリッド車は、走行用の動力を出力するエンジンと、バッテリと、前記バッテリと電力ラインとの接続および遮断を行なうリレーと、前記電力ラインに供給された電力により走行用の動力を出力するモータと、前記電力ラインに供給された電力により車室内の空気調和を行なう空調装置と、前記モータに異常が発生した場合、前記空調装置の駆動が要求され且つ前記バッテリの蓄電割合が前記所定割合以上であるときには、前記リレーを接続した状態で前記エンジンからの動力により退避走行すると共に前記空調装置を駆動し、前記空調装置の駆動が要求されていないとき又は前記バッテリの蓄電割合が所定割合未満であるときには、前記リレーを遮断して前記エンジンからの動力により退避走行するように前記エンジンと前記リレーと前記空調装置とを制御する制御装置と、を備えることを要旨とする。
【0008】
この本開示のハイブリッド車では、モータに異常が発生した場合、空調装置の駆動が要求され且つバッテリの蓄電割合が所定割合以上であるときには、リレーを接続した状態でエンジンからの動力により退避走行すると共に空調装置を駆動し、空調装置の駆動が要求されていないとき又はバッテリの蓄電割合が所定割合未満であるときには、リレーを遮断してエンジンからの動力により退避走行する。これにより、モータに異常が発生しても、バッテリの蓄電割合が所定割合を下回るまでの間は、エンジンからの動力により退避走行を行ないつつ、空調の要求に応じてバッテリからの電力により乗員室内を空調することができる。この結果、モータに異常が発生した場合でも、空調装置の使用時間を確保して乗員室内の快適性を保つことができる。
【図面の簡単な説明】
【0009】
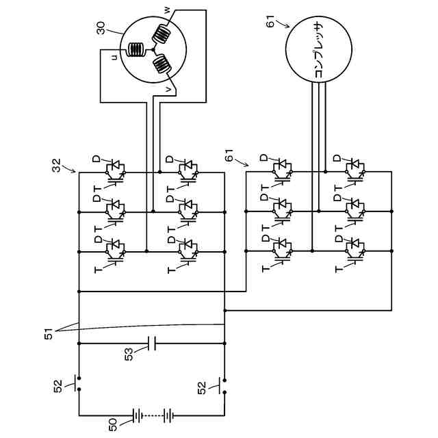
本実施形態のハイブリッド車20の概略構成図である。
モータ含む高電圧系の概略構成図である。
モータ異常時制御処理の一例を示すフローチャートである。
【発明を実施するための形態】
【0010】
本開示を実施するための形態について図面を参照しながら説明する。図1は、本実施形態のハイブリッド車20の概略構成図であり、図2は、モータ30を含む高電圧系の概略構成図である。本実施形態のハイブリッド車20は、図1に示すように、エンジン22と、モータ30と、インバータ32と、クラッチK0と、動力伝達装置40と、高電圧バッテリ50と、低電圧バッテリ55と、空調装置60と、メイン電子制御ユニット(以下、「メインECU」という)70とを備える。
(【0011】以降は省略されています)
この特許をJ-PlatPat(特許庁公式サイト)で参照する
関連特許
トヨタ自動車株式会社
車両
21日前
トヨタ自動車株式会社
方法
22日前
トヨタ自動車株式会社
方法
14日前
トヨタ自動車株式会社
車両
14日前
トヨタ自動車株式会社
車両
13日前
トヨタ自動車株式会社
車体
15日前
トヨタ自動車株式会社
方法
13日前
トヨタ自動車株式会社
方法
13日前
トヨタ自動車株式会社
車両
12日前
トヨタ自動車株式会社
電池
19日前
トヨタ自動車株式会社
車両
19日前
トヨタ自動車株式会社
車両
今日
トヨタ自動車株式会社
椅子
22日前
トヨタ自動車株式会社
車両
6日前
トヨタ自動車株式会社
車両
6日前
トヨタ自動車株式会社
方法
22日前
トヨタ自動車株式会社
電池
12日前
トヨタ自動車株式会社
方法
12日前
トヨタ自動車株式会社
電池
今日
トヨタ自動車株式会社
治具
7日前
トヨタ自動車株式会社
車両
8日前
トヨタ自動車株式会社
モータ
14日前
トヨタ自動車株式会社
モータ
20日前
トヨタ自動車株式会社
電磁弁
22日前
トヨタ自動車株式会社
正極層
12日前
トヨタ自動車株式会社
モータ
9日前
トヨタ自動車株式会社
サーバ
9日前
トヨタ自動車株式会社
自動車
13日前
トヨタ自動車株式会社
電動機
12日前
トヨタ自動車株式会社
電動車
22日前
トヨタ自動車株式会社
飛行体
19日前
トヨタ自動車株式会社
蓄電セル
12日前
トヨタ自動車株式会社
塗工装置
14日前
トヨタ自動車株式会社
電動車両
20日前
トヨタ自動車株式会社
駆動装置
19日前
トヨタ自動車株式会社
駆動装置
13日前
続きを見る
他の特許を見る