TOP
|
特許
|
意匠
|
商標
特許ウォッチ
Twitter
他の特許を見る
公開番号
2025164454
公報種別
公開特許公報(A)
公開日
2025-10-30
出願番号
2024068445
出願日
2024-04-19
発明の名称
タイヤ
出願人
住友ゴム工業株式会社
代理人
弁理士法人朝日奈特許事務所
主分類
B60C
13/00 20060101AFI20251023BHJP(車両一般)
要約
【課題】低燃費性能および耐オゾン性能の総合性能の向上を図ることができるタイヤを提供する。
【解決手段】サイドウォールを備えたタイヤであって、サイドウォールはゴム成分を含有するゴム組成物により構成され、ゴム成分は、イソプレン系ゴム、および分枝共役ジエン共重合体を含み、分枝共役ジエン共重合体は、エチレン単位およびCH
2
=CR-CH=CH
2
(式中、Rは炭素数3以上の炭化水素基を表す。)で表される1,3-ジエン化合物に由来する構造単位を有し、分枝共役ジエン共重合体におけるエチレン単位含量をM(モル%)、タイヤ最大幅位置における表面ゴム層の厚みをT(mm)、ゴム成分中の前記分枝共役ジエン共重合体の含有量をC
SW
(質量%)とする場合、Mが50以上であり、M×C
SW
/T
3
が70超である、タイヤ。
【選択図】なし
特許請求の範囲
【請求項1】
サイドウォールを備えたタイヤであって、
前記サイドウォールはゴム成分を含有するゴム組成物により構成され、
前記ゴム成分は、イソプレン系ゴム、および分枝共役ジエン共重合体を含み、
前記分枝共役ジエン共重合体は、エチレン単位およびCH
2
=CR-CH=CH
2
(式中、Rは炭素数3以上の炭化水素基を表す。)で表される1,3-ジエン化合物に由来する構造単位を有し、
前記分枝共役ジエン共重合体におけるエチレン単位含量をM(モル%)、
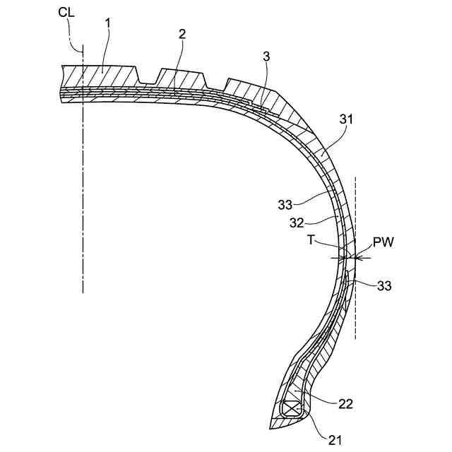
タイヤ最大幅位置における表面ゴム層の厚みをT(mm)、
前記ゴム成分中の前記分枝共役ジエン共重合体の含有量をC
SW
(質量%)とする場合、
Mが50以上であり、
M×C
SW
/T
3
が70超である、タイヤ。
続きを表示(約 460 文字)
【請求項2】
前記1,3-ジエン化合物がファルネセンおよび/またはミルセンである、請求項1記載のタイヤ。
【請求項3】
前記ゴム成分がさらにブタジエンゴムを含有する、請求項1または2に記載のタイヤ。
【請求項4】
前記M×C
SW
/T
3
が300超である、請求項1または2に記載のタイヤ。
【請求項5】
前記Tが1.0mm超2.5mm未満である、請求項1または2に記載のタイヤ。
【請求項6】
前記ゴム組成物がカーボンブラックを含有し、前記ゴム組成物に含まれるカーボンブラックのN
2
SAが100m
2
/g以上140m
2
/g以下である、請求項1または2に記載のタイヤ。
【請求項7】
前記ゴム組成物がカーボンブラックを含有し、前記ゴム組成物に含まれるカーボンブラックの平均一次粒子径が15nm以上25nm以下である、請求項1または2に記載のタイヤ。
発明の詳細な説明
【技術分野】
【0001】
本発明は、タイヤに関する。
続きを表示(約 1,400 文字)
【背景技術】
【0002】
タイヤ用ゴム組成物においては、耐オゾン性能、すなわち大気中のオゾンによるゴムの亀裂・劣化を防止することが求められている。タイヤのサイドウォールは、直接外気に接触し、また車に装着した際に人目に触れる部材であることから、サイドウォール用ゴム組成物には、他のタイヤ部材以上に耐オゾン性能に優れていることが求められる。
【0003】
また、タイヤには、さらなる低燃費性能の向上が求められている。
【0004】
特許文献1には、ゴム成分およびヒマワリ種子由来のワックスを含有するサイドウォール用ゴム組成物によって、低燃費性能および耐オゾン性能が改善されることが記載されている。
【先行技術文献】
【特許文献】
【0005】
特開2014-133844号公報
【発明の概要】
【発明が解決しようとする課題】
【0006】
本発明は、低燃費性能および耐オゾン性能の総合性能の向上を図ることができるタイヤを提供することを目的とする。
【課題を解決するための手段】
【0007】
本発明は、サイドウォールを備えたタイヤであって、
前記サイドウォールはゴム成分を含有するゴム組成物により構成され、
前記ゴム成分は、イソプレン系ゴム、および分枝共役ジエン共重合体を含み、
前記分枝共役ジエン共重合体は、エチレン単位およびCH
2
=CR-CH=CH
2
(式中、Rは炭素数3以上の炭化水素基を表す。)で表される1,3-ジエン化合物に由来する構造単位を有し、
前記分枝共役ジエン共重合体におけるエチレン単位含量をM(モル%)、
タイヤ最大幅位置における表面ゴム層の厚みをT(mm)、
前記ゴム成分中の前記分枝共役ジエン共重合体の含有量をC
SW
(質量%)とする場合、
Mが50以上であり、
M×C
SW
/T
3
が70超である、タイヤに関する。
【発明の効果】
【0008】
本発明によれば、低燃費性能および耐オゾン性能の総合性能の向上を図ることができるタイヤが提供される。
【図面の簡単な説明】
【0009】
本実施形態に係るタイヤの概略部分断面図である。
【発明を実施するための形態】
【0010】
本発明の一実施形態であるタイヤは、サイドウォールを備えたタイヤであって、前記サイドウォールはゴム成分を含有するゴム組成物により構成され、前記ゴム成分は、イソプレン系ゴム、および分枝共役ジエン共重合体を含み、前記分枝共役ジエン共重合体は、エチレン単位およびCH
2
=CR-CH=CH
2
(式中、Rは炭素数3以上の炭化水素基を表す。)で表される1,3-ジエン化合物に由来する構造単位を有し、前記分枝共役ジエン共重合体におけるエチレン単位含量をM(モル%)、タイヤ最大幅位置における表面ゴム層の厚みをT(mm)、前記ゴム成分中の前記分枝共役ジエン共重合体の含有量をC
SW
(質量%)とする場合、Mが50以上であり、M×C
SW
/T
3
が70超である、タイヤである。
(【0011】以降は省略されています)
この特許をJ-PlatPat(特許庁公式サイト)で参照する
関連特許
住友ゴム工業株式会社
タイヤ
1日前
住友ゴム工業株式会社
タイヤ
4日前
住友ゴム工業株式会社
タイヤ
28日前
住友ゴム工業株式会社
タイヤ
22日前
住友ゴム工業株式会社
タイヤ
21日前
住友ゴム工業株式会社
タイヤ
17日前
住友ゴム工業株式会社
タイヤ
16日前
住友ゴム工業株式会社
タイヤ
10日前
住友ゴム工業株式会社
タイヤ
8日前
住友ゴム工業株式会社
タイヤ
10日前
住友ゴム工業株式会社
タイヤ
2日前
住友ゴム工業株式会社
タイヤ
1日前
住友ゴム工業株式会社
タイヤ
2日前
住友ゴム工業株式会社
ゴルフボール
17日前
住友ゴム工業株式会社
ゴルフボール
1日前
住友ゴム工業株式会社
空気入りタイヤ
4日前
住友ゴム工業株式会社
空気入りタイヤ
14日前
住友ゴム工業株式会社
空気入りタイヤ
1日前
住友ゴム工業株式会社
モデリング方法
22日前
住友ゴム工業株式会社
モデリング方法
22日前
住友ゴム工業株式会社
重荷重用タイヤ
17日前
住友ゴム工業株式会社
空気入りタイヤ
4日前
住友ゴム工業株式会社
光硬化性組成物
1か月前
住友ゴム工業株式会社
重荷重用タイヤ
7日前
住友ゴム工業株式会社
重荷重用タイヤ
7日前
住友ゴム工業株式会社
空気入りタイヤ
10日前
住友ゴム工業株式会社
空気入りタイヤ
10日前
住友ゴム工業株式会社
空気入りタイヤ
4日前
住友ゴム工業株式会社
空気入りタイヤ
3日前
住友ゴム工業株式会社
バイアスタイヤ
7日前
住友ゴム工業株式会社
ゴルフクラブヘッド
1か月前
住友ゴム工業株式会社
自動二輪車用タイヤ
29日前
住友ゴム工業株式会社
ゴム組成物及びタイヤ
4日前
住友ゴム工業株式会社
高分子複合体の解析方法
14日前
住友ゴム工業株式会社
加硫ゴムの物性値の予測方法
17日前
住友ゴム工業株式会社
減衰性ゴム組成物および粘弾性ダンパ
2日前
続きを見る
他の特許を見る