TOP
|
特許
|
意匠
|
商標
特許ウォッチ
Twitter
他の特許を見る
公開番号
2025145589
公報種別
公開特許公報(A)
公開日
2025-10-03
出願番号
2024045859
出願日
2024-03-22
発明の名称
タイヤ
出願人
住友ゴム工業株式会社
代理人
弁理士法人WisePlus
主分類
C08L
21/00 20060101AFI20250926BHJP(有機高分子化合物;その製造または化学的加工;それに基づく組成物)
要約
【課題】磁性体粒子を含むタイヤにおいて、耐摩耗性が良好なタイヤを提供する。
【解決手段】ゴム成分と、磁性体粒子と、糖類とを含むゴム組成物からなるタイヤ部材を備えるタイヤであって、前記ゴム組成物の灰分量Ash(質量%)、前記ゴム組成物のアセトン抽出量AE(質量%)及び前記タイヤ部材の厚みT(mm)の積(Ash×AE×T)が、400を超えることを特徴とするタイヤに関する。
【選択図】なし
特許請求の範囲
【請求項1】
ゴム成分と、磁性体粒子と、糖類とを含むゴム組成物からなるタイヤ部材を備えるタイヤであって、
前記ゴム組成物の灰分量Ash(質量%)、前記ゴム組成物のアセトン抽出量AE(質量%)及び前記タイヤ部材の厚みT(mm)の積(Ash×AE×T)が、400を超えることを特徴とするタイヤ。
続きを表示(約 660 文字)
【請求項2】
前記Ash×AE×Tが、800を超える請求項1に記載のタイヤ。
【請求項3】
前記Ash×AE×Tが、1000を超える請求項1に記載のタイヤ。
【請求項4】
前記ゴム組成物が、ゴム成分100質量部に対して、シリカを40質量部以上含む請求項1又は2に記載のタイヤ。
【請求項5】
前記ゴム組成物が、25℃で液状の液状ジエン系ポリマーを含む請求項1又は2に記載のタイヤ。
【請求項6】
前記ゴム組成物のゴム成分100質量部に対する糖類の含有量Sc(質量部)及び前記ゴム組成物のゴム成分100質量部に対する磁性体粒子の含有量Mc(質量部)の比と、前記タイヤ部材の厚みT(mm)との積((Sc/Mc)×T)が、5.0を超える請求項1又は2に記載のタイヤ。
【請求項7】
前記ゴム組成物の灰分量Ash(質量%)と、前記タイヤ部材の厚みT(mm)との比(Ash/T)が、8.1未満である請求項1又は2に記載のタイヤ。
【請求項8】
前記ゴム成分がブタジエンゴム及びスチレンブタジエンゴムからなる群より選択される少なくとも1種を含む請求項1又は2に記載のタイヤ。
【請求項9】
前記ゴム成分がブタジエンゴム及びスチレンブタジエンゴムを含む請求項1又は2に記載のタイヤ。
【請求項10】
前記糖類が多糖類である請求項1又は2に記載のタイヤ。
(【請求項11】以降は省略されています)
発明の詳細な説明
【技術分野】
【0001】
本発明は、タイヤに関する。
続きを表示(約 1,300 文字)
【背景技術】
【0002】
磁性体粒子を含み、磁場を印加することで、剛性を可変にするタイヤが提案されている(特許文献1など)。
【先行技術文献】
【特許文献】
【0003】
特開2003-034737号公報
【発明の概要】
【発明が解決しようとする課題】
【0004】
しかしながら、一般にゴムと馴染みにくい磁性体粒子は、耐摩耗性を悪化させる懸念がある。
【0005】
本発明は、前記課題を解決し、磁性体粒子を含むタイヤにおいて、耐摩耗性が良好なタイヤを提供することを目的とする。
【課題を解決するための手段】
【0006】
本発明は、ゴム成分と、磁性体粒子と、糖類とを含むゴム組成物からなるタイヤ部材を備えるタイヤであって、前記ゴム組成物の灰分量Ash(質量%)、前記ゴム組成物のアセトン抽出量AE(質量%)及び前記タイヤ部材の厚みT(mm)の積(Ash×AE×T)が、400を超えることを特徴とするタイヤに関する。
【発明の効果】
【0007】
本発明は、ゴム成分と、磁性体粒子と、糖類とを含むゴム組成物からなるタイヤ部材を備えるタイヤであって、前記ゴム組成物の灰分量Ash(質量%)、前記ゴム組成物のアセトン抽出量AE(質量%)及び前記タイヤ部材の厚みT(mm)の積(Ash×AE×T)が、400を超えることを特徴とするタイヤであるので、磁性体粒子を配合しているにもかかわらず、耐摩耗性が良好なタイヤを提供できる。
【図面の簡単な説明】
【0008】
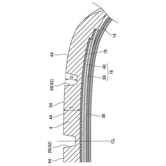
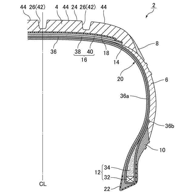
空気入りタイヤの一部が示された断面図である。
図1のタイヤのトレッドの近辺が示された拡大断面図である。
【発明を実施するための形態】
【0009】
上記タイヤは、ゴム成分と、磁性体粒子と、糖類とを含むゴム組成物からなるタイヤ部材を備え、該ゴム組成物の灰分量Ash(質量%)、該ゴム組成物のアセトン抽出量AE(質量%)及び該タイヤ部材の厚みT(mm)の積(Ash×AE×T)が、400を超えることを特徴とするものである。
【0010】
上記作用効果が得られるメカニズムは明らかではないが、以下のように推察される。
磁性体粒子は、ゴム中への分散性が悪いため、均一に分散しにくく、ゴムの強度の低下につながると考えられる。そこで、糖類を配合することで、磁性体粒子と相互作用し、ゴム中への均一な分散を促すことができると考えられる。
さらに、ゴム組成物の灰分量、ゴム組成物のアセトン抽出量及びタイヤ部材の厚みTの積を大きくすることで、磁性体粒子が局所的に集まることを防ぐことができ、かつ、タイヤ部材に生じる応力をゴム全体で受け止めることができ、応力を分散させることができると考えられる。
以上の理由から、磁性体粒子を均一に分散させ、応力をゴム全体で受け止めることができる状態とすることができるため、磁性体粒子を配合しているゴム組成物においても、耐摩耗性を良好にすることができると考えられる。
(【0011】以降は省略されています)
この特許をJ-PlatPat(特許庁公式サイト)で参照する
関連特許
住友ゴム工業株式会社
タイヤ
5日前
住友ゴム工業株式会社
タイヤ
19日前
住友ゴム工業株式会社
タイヤ
28日前
住友ゴム工業株式会社
タイヤ
27日前
住友ゴム工業株式会社
タイヤ
21日前
住友ゴム工業株式会社
タイヤ
20日前
住友ゴム工業株式会社
ゴルフボール
29日前
住友ゴム工業株式会社
三次元構造体
19日前
住友ゴム工業株式会社
ゴルフボール
1か月前
住友ゴム工業株式会社
空気入りタイヤ
19日前
住友ゴム工業株式会社
光硬化性組成物
19日前
住友ゴム工業株式会社
空気入りタイヤ
29日前
住友ゴム工業株式会社
試料の作製方法
28日前
住友ゴム工業株式会社
空気入りタイヤ
21日前
住友ゴム工業株式会社
空気入りタイヤ
21日前
住友ゴム工業株式会社
空気入りタイヤ
20日前
住友ゴム工業株式会社
空気入りタイヤ
1か月前
住友ゴム工業株式会社
重荷重用タイヤ
19日前
住友ゴム工業株式会社
重荷重用タイヤ
19日前
住友ゴム工業株式会社
重荷重用タイヤ
19日前
住友ゴム工業株式会社
重荷重用タイヤ
29日前
住友ゴム工業株式会社
自動二輪車用タイヤ
6日前
住友ゴム工業株式会社
ゴルフクラブヘッド
12日前
住友ゴム工業株式会社
ゴム組成物の劣化試験方法
21日前
住友ゴム工業株式会社
タイヤの性能評価方法及び性能評価装置
9日前
住友ゴム工業株式会社
タイヤ加硫金型及び空気入りタイヤの製造方法
21日前
住友ゴム工業株式会社
天然ゴムラテックス用凝固剤及び天然ゴムの製造方法
12日前
住友ゴム工業株式会社
タイヤ
1か月前
住友ゴム工業株式会社
天然ゴム臭の臭気低減剤、および、これを用いた天然ゴム製物品
1か月前
住友ゴム工業株式会社
ノイズを低減する方法及びリングアーティファクトを低減する方法
1か月前
住友ゴム工業株式会社
重荷重用空気入りタイヤ
1か月前
住友ゴム工業株式会社
タイヤ摩耗状態のシミュレーション方法
1か月前
住友ゴム工業株式会社
ゴルフクラブヘッドのフィッティング装置、フィッティング方法及びフィッティングプログラム
1か月前
ユニチカ株式会社
透明シート
1か月前
株式会社カネカ
硬化性組成物
3か月前
ユニチカ株式会社
透明シート
9日前
続きを見る
他の特許を見る