TOP
|
特許
|
意匠
|
商標
特許ウォッチ
Twitter
他の特許を見る
公開番号
2025164593
公報種別
公開特許公報(A)
公開日
2025-10-30
出願番号
2024068671
出願日
2024-04-19
発明の名称
プログラム及び情報処理装置
出願人
トヨタ自動車株式会社
代理人
個人
,
個人
,
個人
,
個人
主分類
G06Q
50/06 20240101AFI20251023BHJP(計算;計数)
要約
【課題】バッテリ事業者が費用を回収する確実性を向上させる。
【解決手段】本開示のプログラムは、発電システムを導入している需要家に対してバッテリをリース又は販売するバッテリ事業者によって用いられるコンピュータに、需要家から電力会社への売電額の少なくとも一部に相当する第1の額の支払いを需要家に代わってバッテリ事業者が電力会社から受けると、第1の額を示す情報を取得すること、及び、バッテリのリース又は販売に係る請求額から第1の額に応じて決定される割引額を差し引いた第2の額の支払いを、需要家に請求することを含む動作を実行させる。
【選択図】図4
特許請求の範囲
【請求項1】
発電システムを導入している需要家に対してバッテリをリース又は販売するバッテリ事業者によって用いられるコンピュータに、
前記需要家から電力会社への売電額の少なくとも一部に相当する第1の額の支払いを前記需要家に代わって前記バッテリ事業者が前記電力会社から受けると、前記第1の額を示す情報を取得すること、及び
前記バッテリのリース又は販売に係る請求額から前記第1の額に応じて決定される割引額を差し引いた第2の額の支払いを、前記需要家に請求すること
を含む動作を実行させる、プログラム。
続きを表示(約 820 文字)
【請求項2】
請求項1に記載のプログラムであって、
前記コンピュータは、前記第1の額を下限値として前記割引額を決定する、プログラム。
【請求項3】
請求項1又は2に記載のプログラムであって、
前記コンピュータは、
所定期間毎に、前記需要家から前記電力会社への売電額の少なくとも一部に相当する第1の額の支払いを前記需要家に代わって前記バッテリ事業者が前記電力会社から受けると、前記第1の額を示す情報を取得し、
前記所定期間毎に、前記需要家に対して前記第2の額の支払いを請求する、プログラム。
【請求項4】
請求項3に記載のプログラムであって、
前記動作は、
前記所定期間毎に、前記需要家から前記電力会社への前記売電額と、前記発電システムから前記バッテリに蓄電され前記需要家で消費された電力量に前記電力会社からの買電単価を乗じた額と、の合計額を算出すること、及び
前記所定期間毎に、前記売電額の前記少なくとも一部に相当する前記第1の額、及び前記バッテリのリース又は販売に係る前記請求額から前記合計額を差し引いた第3の額の何れか高い額を下限値として前記割引額を決定すること
を更に含む、プログラム。
【請求項5】
発電システムを導入している需要家に対してバッテリをリース又は販売するバッテリ事業者によって用いられる情報処理装置であって、
前記需要家から電力会社への売電額の少なくとも一部に相当する第1の額の支払いを、
前記需要家に代わって前記バッテリ事業者が前記電力会社から受けると、前記第1の額を示す情報を取得する取得部と、
前記バッテリのリース又は販売に係る請求額から前記第1の額に応じて決定される割引額を差し引いた第2の額の支払いを、前記需要家に請求する制御部と
を備える、情報処理装置。
発明の詳細な説明
【技術分野】
【0001】
本開示は、プログラム及び情報処理装置に関する。
続きを表示(約 1,400 文字)
【背景技術】
【0002】
バッテリのリースシステムにおいて、利用者にバッテリの利用に見合う対価を支払わせるように構成したシステムが提案されている(例えば、特許文献1参照)。このリースシステムでは、当該リースシステムを使用しない場合に予測される第1の電気料金と、利用者が電力会社に実際に支払う第2の電気料金との差額から、リース会社に支払う対価を算出している。
【先行技術文献】
【特許文献】
【0003】
特開2014-197392号公報
【発明の概要】
【発明が解決しようとする課題】
【0004】
従来、バッテリ事業者がバッテリをリース又は分割支払いで販売した場合の費用を回収する確実性を向上する技術については検討されてこなかった。バッテリ事業者が費用を回収する確実性を向上する技術は、改善の余地がある。
【0005】
かかる事情に鑑みてなされた本開示の目的は、バッテリ事業者がバッテリの費用を回収する確実性を向上することができるプログラム、及び、情報処理装置を提供することにある。
【課題を解決するための手段】
【0006】
本開示の一実施形態に係るプログラムは、発電システムを導入している需要家に対してバッテリをリース又は販売するバッテリ事業者によって用いられるコンピュータに、前記需要家から電力会社への売電額の少なくとも一部に相当する第1の額の支払いを前記需要家に代わって前記バッテリ事業者が前記電力会社から受けると、前記第1の額を示す情報を取得すること、及び前記バッテリのリース又は販売に係る請求額から前記第1の額に応じて決定される割引額を差し引いた第2の額の支払いを、前記需要家に請求することを含む動作を実行させる。
【0007】
本開示の一実施形態に係る情報処理装置は、発電システムを導入している需要家に対してバッテリをリース又は販売するバッテリ事業者によって用いられる情報処理装置であって、前記需要家から電力会社への売電額の少なくとも一部に相当する第1の額の支払いを、前記需要家に代わって前記バッテリ事業者が前記電力会社から受けると、前記第1の額を示す情報を取得する取得部と、前記バッテリのリース又は販売に係る請求額から前記第1の額に応じて決定される割引額を差し引いた第2の額の支払いを、前記需要家に請求する制御部とを備える。
【発明の効果】
【0008】
本開示によれば、バッテリ事業者が費用を回収する確実性を向上することができるプログラム、及び、情報処理装置を提供することができる。
【図面の簡単な説明】
【0009】
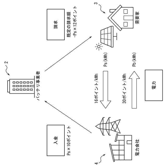
本開示の一実施形態に係る情報処理装置を含むシステムを示す図である。
図1の情報処理装置の概略構成を示すブロック図である。
図1の需要家システムの概略構成を示すブロック図である。
一実施形態に係る情報処理装置が実行する処理の手順を示すフローチャートである。
情報処理装置による請求方法の一例を説明する図である。
他の一実施形態に係る情報処理装置が実行する処理の手順を示すフローチャートである。
【発明を実施するための形態】
【0010】
以下、本開示の一実施形態について、図面を参照して説明する。なお、以下の説明で用いられる図は模式的なものである。
(【0011】以降は省略されています)
この特許をJ-PlatPat(特許庁公式サイト)で参照する
関連特許
トヨタ自動車株式会社
電池
19日前
トヨタ自動車株式会社
車両
今日
トヨタ自動車株式会社
車両
6日前
トヨタ自動車株式会社
車両
6日前
トヨタ自動車株式会社
治具
7日前
トヨタ自動車株式会社
車両
26日前
トヨタ自動車株式会社
椅子
22日前
トヨタ自動車株式会社
車両
8日前
トヨタ自動車株式会社
方法
22日前
トヨタ自動車株式会社
方法
22日前
トヨタ自動車株式会社
電池
29日前
トヨタ自動車株式会社
方法
12日前
トヨタ自動車株式会社
電池
12日前
トヨタ自動車株式会社
電池
28日前
トヨタ自動車株式会社
車両
21日前
トヨタ自動車株式会社
車両
12日前
トヨタ自動車株式会社
方法
13日前
トヨタ自動車株式会社
車体
15日前
トヨタ自動車株式会社
電池
今日
トヨタ自動車株式会社
方法
14日前
トヨタ自動車株式会社
車両
14日前
トヨタ自動車株式会社
車両
13日前
トヨタ自動車株式会社
車両
27日前
トヨタ自動車株式会社
方法
13日前
トヨタ自動車株式会社
車両
19日前
トヨタ自動車株式会社
サーバ
9日前
トヨタ自動車株式会社
モータ
9日前
トヨタ自動車株式会社
電動機
12日前
トヨタ自動車株式会社
電動車
22日前
トヨタ自動車株式会社
正極層
12日前
トヨタ自動車株式会社
モータ
14日前
トヨタ自動車株式会社
加熱器
26日前
トヨタ自動車株式会社
固定子
27日前
トヨタ自動車株式会社
飛行体
19日前
トヨタ自動車株式会社
モータ
20日前
トヨタ自動車株式会社
自動車
13日前
続きを見る
他の特許を見る