TOP
|
特許
|
意匠
|
商標
特許ウォッチ
Twitter
他の特許を見る
公開番号
2025167650
公報種別
公開特許公報(A)
公開日
2025-11-07
出願番号
2024072480
出願日
2024-04-26
発明の名称
車両用排気部構造
出願人
日産自動車株式会社
代理人
IBC一番町弁理士法人
主分類
B60H
1/26 20060101AFI20251030BHJP(車両一般)
要約
【課題】セキュリティ面を低下させることなくポータブル温冷装置からの排熱が可能な排熱放出構造を提供する。
【解決手段】本発明に係る車両用排気部構造は、車室内に面する車体パネル70と、車体パネルに取り付けられ、少なくとも一部が取り外し可能とされたトリムカバー61を有する車室内トリム60と、車室内トリムに取り付けられたトリムカバーに対応する車体パネルに設けられ、車内と車外とを連通可能な開口部pgと、開口部を開閉可能に設置された蓋体stと、を有する。
【選択図】図2
特許請求の範囲
【請求項1】
車室内に面する車体パネルと、
前記車体パネルに取り付けられ、少なくとも一部が取り外し可能とされたトリムカバーを有する車室内トリムと、
前記車室内トリムに取り付けられた前記トリムカバーに対応する前記車体パネルに設けられ、車内と車外とを連通可能な開口部と、
前記開口部を開閉可能に設置された蓋体と、を有する車両用排気部構造。
続きを表示(約 140 文字)
【請求項2】
前記車体パネルは、車両フロアパネルである、請求項1に記載の車両用排気部構造。
【請求項3】
前記車室内トリムの前記トリムカバーを取り外した前記開口部は、車両機能部品のメンテナンス用開口である、請求項1または請求項2に記載の車両用排気部構造。
発明の詳細な説明
【技術分野】
【0001】
本発明は、車両用排気部構造に関する。
続きを表示(約 1,300 文字)
【背景技術】
【0002】
近年、自動車でキャンプなどに出かけた際に車の中で宿泊する車中泊が行われることがある。このような車中泊の中でも夏場は車室内が熱くなることが多いため、車室内にポータブルクーラーを持ち込むことが行われる(特許文献1参照)。
【先行技術文献】
【特許文献】
【0003】
特許第6444907号公報
【発明の概要】
【発明が解決しようとする課題】
【0004】
特許文献1のようなポータブルクーラーは、冷却に使用した電力に比例して熱が発生するため、発生した熱を排出することが必要になる。車室内からの排熱の方法には車両の窓を開放する方法があるが、セキュリティ面で好ましくない。また、車体に後加工で排気口を設ける方法も考えられるが、車体構造への影響が懸念され、追加の工数と費用負担が発生してしまう。
【0005】
本発明の目的は、セキュリティ面を向上させつつ、ポータブル温冷装置からの排熱が可能な車両用排気部構造を提供することである。
【課題を解決するための手段】
【0006】
本発明の一態様に係る車両用排気部構造は、車体パネルと、車室内トリムと、開口部と、蓋体と、を有する。車体パネルは車室内に面するように構成している。車室内トリムは、車体パネルに取り付けられ、少なくとも一部が取り外し可能とされたトリムカバーを有する。開口部は、車室内トリムに取り付けられたトリムカバーに対応する車体パネルに設けられ、車内と車外を連通可能に構成している。蓋体は、開口部を開閉可能に設置されている。
【発明の効果】
【0007】
上記車両構造によれば、セキュリティ面を向上させつつポータブル温冷装置からの排熱を可能にできる。
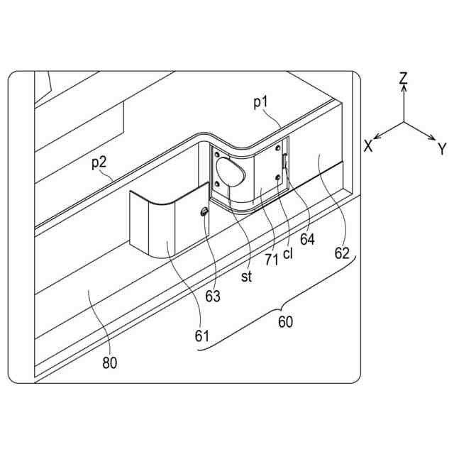
【図面の簡単な説明】
【0008】
実施形態に係る車両用排気部構造のサイドステップ付近を示す概略図である。
車両の後部席におけるサイドステップ近傍において車室内トリムを取り外した状態を示す概略図である。
車両の後部席にポータブル温冷装置を設置した状態を示す概略図である。
サイドステップの車室トリムと車体パネルを表示しない状態を示す概略図である。
車室内トリムの取り付けについて示す概略図である。
車体パネルの蓋体を示す概略断面図である。
【発明を実施するための形態】
【0009】
以下、添付した図面を参照しながら、本発明の実施形態を説明する。図面において、同一の部材には同一の符号を付し、重複する説明を省略する。図面において、各部材の大きさや比率は、実施形態の理解を容易にするために誇張し、実際の大きさや比率とは異なる場合がある。
【0010】
また、各図においては、X、Y、およびZで表す矢印(座標系)を用いて、実施形態に係る車両構造を構成する部材の方位を示している。Xは前後方向を示し、前後方向Xと表記する。Yは車幅方向を示し、車幅方向Yと表記する。Zは車両高さ方向を示し、高さ方向Zと表記する。
(【0011】以降は省略されています)
この特許をJ-PlatPat(特許庁公式サイト)で参照する
関連特許
日産自動車株式会社
内燃機関
1日前
日産自動車株式会社
電池モジュール
2日前
日産自動車株式会社
車両用排気部構造
1日前
日産自動車株式会社
リチウム二次電池
1日前
日産自動車株式会社
物体検出方法、及び物体検出装置
1日前
日産自動車株式会社
衝突回避方法、及び衝突回避装置
1日前
日産自動車株式会社
楽曲情報共有方法及び楽曲情報共有装置
1日前
日産自動車株式会社
車両の発進制御方法、車両の発進制御装置
1日前
日産自動車株式会社
内燃機関の制御方法及び内燃機関の制御装置
1日前
日産自動車株式会社
ターボチャージャの潤滑油吸い出し抑制方法および装置
1日前
日産自動車株式会社
固体酸化物形燃料電池セル、固体酸化物形燃料電池セルの製造方法、及び固体酸化物形電解セル
1日前
個人
上部一体型自動車
1か月前
個人
空間形成装置
9日前
個人
マスタシリンダ
1か月前
日本精機株式会社
照明装置
4日前
個人
常設収納型サンバイザー
15日前
株式会社豊田自動織機
産業車両
4日前
日本精機株式会社
車載表示装置
10日前
個人
回転窓ワイパー装置
9日前
株式会社ニフコ
収納装置
2か月前
日本精機株式会社
車載表示装置
17日前
日本精機株式会社
車載表示装置
12日前
日本精機株式会社
車載表示装置
1か月前
日本精機株式会社
画像投映装置
1か月前
日本精機株式会社
車両用投射装置
1か月前
井関農機株式会社
作業車両
1か月前
株式会社SUBARU
車両
1か月前
日本精機株式会社
車両用表示装置
1か月前
個人
音による速度計とプログラム
15日前
日本精機株式会社
車両用報知装置
16日前
日本精機株式会社
車両用投影装置
1か月前
日本化薬株式会社
ガス発生器
2日前
日本化薬株式会社
ガス発生器
1か月前
日本化薬株式会社
ガス発生器
1か月前
日産自動車株式会社
伝動部材
1か月前
日本化薬株式会社
ガス発生器
1か月前
続きを見る
他の特許を見る