TOP
|
特許
|
意匠
|
商標
特許ウォッチ
Twitter
他の特許を見る
10個以上の画像は省略されています。
公開番号
2025165053
公報種別
公開特許公報(A)
公開日
2025-11-04
出願番号
2024068901
出願日
2024-04-22
発明の名称
産業車両
出願人
株式会社豊田自動織機
代理人
主分類
B60R
16/02 20060101AFI20251027BHJP(車両一般)
要約
【課題】産業車両にオプションの補機を装着する場合に、ワイヤハーネスの選定に必要な時間を短縮することが可能な産業車両の提供にある。
【解決手段】車体側ワイヤハーネス37は、複数の電気配線を有する車体側ハーネス本体部37Aと、電気配線の端部に設けた車体側コネクタ37Bと、を備え、中間ワイヤハーネスは、予め特定された複数種のワイヤハーネス群からそれぞれ選択され、複数種のワイヤハーネス群は、補機の作動条件を特定する条件特定ワイヤハーネス45と、補機と接続可能な補機接続ワイヤハーネス52と、条件特定ワイヤハーネス45または補機接続ワイヤハーネスと接続可能な延長ワイヤハーネス51と、を含む。
【選択図】 図5
特許請求の範囲
【請求項1】
車体と、
前記車体に搭載される補機と、
前記車体に設けられ、前記補機との接続に用いられる車体側ワイヤハーネスと、
前記車体側ワイヤハーネスおよび前記補機に接続される中間ワイヤハーネスと、を有する産業車両において、
前記車体側ワイヤハーネスは、
複数の電気配線を有する車体側ハーネス本体部と、
前記複数の電気配線の端部に設けた車体側コネクタと、を備え、
前記中間ワイヤハーネスは、予め特定された複数種のワイヤハーネス群から少なくとも一つ選択され、
前記複数種のワイヤハーネス群は、
前記補機の作動条件を特定する条件特定ワイヤハーネスと、
前記補機と接続可能な補機接続ワイヤハーネスと、
前記条件特定ワイヤハーネスまたは前記補機接続ワイヤハーネスと接続可能な延長ワイヤハーネスと、を含むことを特徴とする産業車両。
続きを表示(約 1,400 文字)
【請求項2】
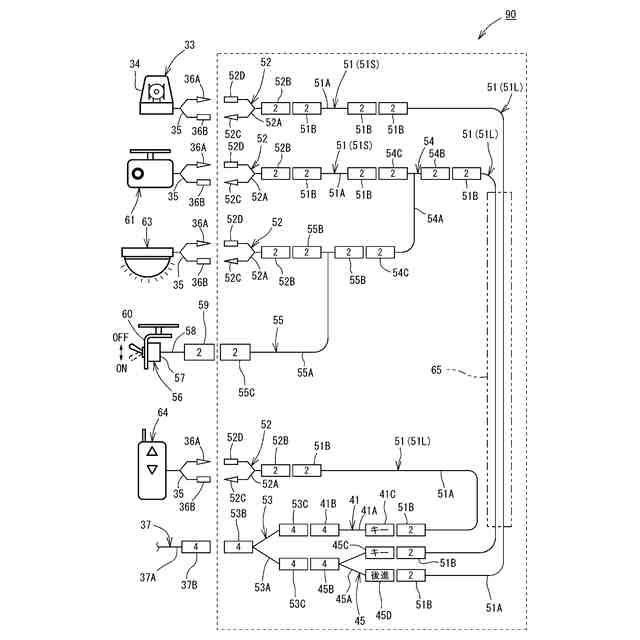
前記車体側コネクタの極数は4であり、
前記条件特定ワイヤハーネスは、
前記複数の電気配線を有する条件特定ハーネス本体部と、
前記条件特定ハーネス本体部の一端に設けられ、前記車体側コネクタと接続可能な条件特定コネクタと、
前記条件特定ハーネス本体部の他端に設けられ、前記延長ワイヤハーネスと接続可能な複数の2極の条件特定コネクタと、を有することを特徴とする請求項1記載の産業車両。
【請求項3】
前記補機の作動条件は、
前記車体に設けたキースイッチのONによるキー連動と、
前進走行のみに連動する前進連動と、
後進走行のみに連動する後進連動と、
前記前進走行および前記後進走行に連動する前後進連動と、であり、
前記条件特定ワイヤハーネスを選択することにより、少なくとも一つの作動条件が特定されることを特徴とする請求項2記載の産業車両。
【請求項4】
前記車体側ワイヤハーネスと前記条件特定ワイヤハーネスとの間に、4極で複数に分岐する4極分岐ワイヤハーネスを介在させ、
前記4極分岐ワイヤハーネスは、前記複数種のワイヤハーネス群から選択されていることを特徴とする請求項2又は3記載の産業車両。
【請求項5】
前記補機の作動条件は、
前記キー連動、前記前進連動、前記後進連動および前記前後進連動から少なくとも一つの作動条件が特定され、かつ、操作スイッチによるON/OFFによるスイッチ割込であって、
前記スイッチ割込の作動条件を特定するスイッチ割込ワイヤハーネスが、前記延長ワイヤハーネスと前記補機接続ワイヤハーネスの間に介在されていることを特徴とする請求項3記載の産業車両。
【請求項6】
前記複数の条件特定コネクタは、
前記キー連動を特定するキー連動コネクタと、
前記後進連動を特定する後進連動コネクタと、を有することを特徴とする請求項3記載の産業車両。
【請求項7】
前記複数の条件特定コネクタは、
前記キー連動を特定するキー連動コネクタと、
前記前進連動を特定する前進連動コネクタと、
前記後進連動を特定する後進連動コネクタと、
前記前後進連動を特定する前後進連動コネクタと、を有することを特徴とする請求項3記載の産業車両。
【請求項8】
前記予め特定された複数種のワイヤハーネス群は、
前記4極分岐ワイヤハーネスと、
2極で複数に分岐する2極分岐ワイヤハーネスと、
長さの異なる複数の前記延長ワイヤハーネスと、
前記キー連動を特定する前記条件特定ワイヤハーネスと、
前記前進連動を特定する前記条件特定ワイヤハーネスと、
前記後進連動を特定する前記条件特定ワイヤハーネスと、
前記前後進連動を特定する前記条件特定ワイヤハーネスと、
前記スイッチ割込を特定する前記スイッチ割込ワイヤハーネスと、
前記キー連動および前記後進連動を特定する2極条件特定ワイヤハーネスと、
前記キー連動と、前記前進連動と、前記後進連動と、前記前後進連動と、を特定する4極条件特定ワイヤハーネスと、を含むことを特徴とする請求項5記載の産業車両。
発明の詳細な説明
【技術分野】
【0001】
この発明は、産業車両に関する。
続きを表示(約 2,600 文字)
【背景技術】
【0002】
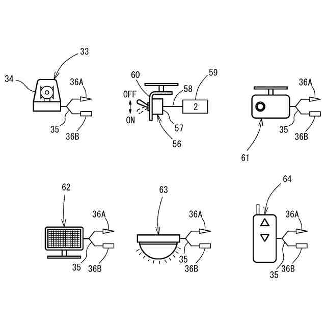
産業車両の従来の技術としては、例えば、特許文献1に開示された産業車両が知られている。特許文献1には、ヘッドガードにブルーライトが設けられたフォークリフトが開示されている。ブルーライトは、光軸が機台の後方における所定距離だけ離れた位置になるように後ろ斜め下を向くように取り付けられており、点灯により機台の後方の床面をスポット的に色が付いている光で照らすことができる。ブルーライトの点灯に伴うブルーライトによる青色光により、後方で作業する作業者に対してフォークリフトの存在を知らせることができる。
【0003】
この種のフォークリフトが備えるブルーライトは、補機の一種であるが、フォークリフトの工場出荷時に装備される補機に限らず、所謂、フォークリフトのユーザーの希望によって設置されるオプションの補機であることもある。また、オプションの補機は、フォークリフトの製造メーカーによって準備されて組み付けられるものがある。また、オプションの補機は、ユーザー又はフォークリフトの販売店が準備し、販売店で組み付けられることがある。この場合、販売店で、補機が組み付けられ、補機に適合する複数のワイヤハーネスが車体から引き出されたワイヤハーネスと補機とに接続される。オプションの補機をフォークリフトに装着する場合、ユーザーの要求に応じて、フォークリフトメーカーが補機に対応するワイヤハーネス類を都度設計する場合がある。オプションの補機の作動条件は、ユーザーの要求を満足するように設定される。例えば、ドライブレコーダをキースイッチONと連動させる、あるいは、後進時にブルーライトを作動させるという様に、補機の制御に適合するワイヤハーネスを準備する必要がある。補機の設置位置もユーザーによって様々である。また、補機によっては制御だけなく、オペレータの意思で操作できるようにスイッチを付属させる場合もある。
【0004】
これらのようなユーザーの要求を満足するために、オプションの補機およびこの補機に対応させてワイヤハーネス類を一部変更することもあるが、販売店によってはワイヤハーネスの分岐といったワイヤハーネス類の一部変更が困難な場合もあり、その場合、メーカー側での設計が必要となる。
【先行技術文献】
【特許文献】
【0005】
特開2019-99079号公報
【発明の概要】
【発明が解決しようとする課題】
【0006】
しかしながら、従来では、オプションの補機に適合するワイヤハーネス類を、膨大な過去の実績から探し出すことは、多大な時間と労力を必要とするため困難であった。そこで、オプションの補機に適合するワイヤハーネス類を新規あるいは過去の実績に基づいて設計して製作することに時間を要してしまい、産業車両のユーザーへの納車に時間がかかるという問題がある。産業車両にオプションの補機が装着される場合、実際に補機が搭載された産業車両で補機の作動状態を確認して作動条件を決定したいというユーザーの要求に応えることが求められる。
【0007】
本発明は上記の問題点に鑑みてなされたもので、本発明の目的は、産業車両にオプションの補機を装着する場合に、ワイヤハーネスの選定に必要な時間を短縮することが可能な産業車両の提供にある。
【課題を解決するための手段】
【0008】
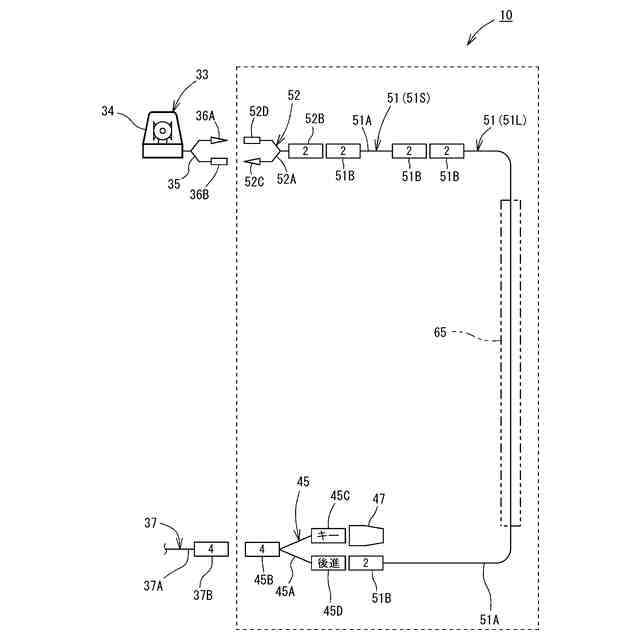
上記の課題を解決するために、本発明は、車体と、前記車体に搭載される補機と、前記車体に設けられ、前記補機との接続に用いられる車体側ワイヤハーネスと、前記車体側ワイヤハーネスおよび前記補機に接続される中間ワイヤハーネスと、を有する産業車両において、前記車体側ワイヤハーネスは、複数の電気配線を有する車体側ハーネス本体部と、前記複数の電気配線の端部に設けた車体側コネクタと、を備え、前記中間ワイヤハーネスは、予め特定された複数種のワイヤハーネス群から少なくとも一つ選択され、前記複数種のワイヤハーネス群は、前記補機の作動条件を特定する条件特定ワイヤハーネスと、前記補機と接続可能な補機接続ワイヤハーネスと、前記条件特定ワイヤハーネスまたは前記補機接続ワイヤハーネスと接続可能な延長ワイヤハーネスと、を含むことを特徴とする。
【0009】
本発明では、車体側ワイヤハーネスは、複数の電気配線を有する車体側ハーネス本体部と、電気配線の端部に設けた車体側コネクタと、を備える。中間ワイヤハーネスは、車体側ワイヤハーネスおよび補機に接続されるが、予め特定された複数種のワイヤハーネス群から少なくとも一つ選択される。複数種のワイヤハーネス群は、車体側コネクタと接続可能であり、補機の作動条件を特定する条件特定ワイヤハーネスと、条件特定ワイヤハーネスと接続可能な延長ワイヤハーネスと、延長ワイヤハーネスおよび補機と接続可能な補機接続ワイヤハーネスと、を含む。中間ワイヤハーネスは、予め特定された複数種のワイヤハーネス群から少なくとも一つ選択されているので、オプションの補機を設置しても、選択された条件特定ワイヤハーネス、延長ワイヤハーネスおよび補機接続ワイヤハーネスのいずれかを設計する時間が削減される。その結果、ワイヤハーネスの選定に必要な時間を短縮でき、産業車両のユーザーへの納車までの期間を短縮することが可能となる。
【0010】
また、上記の産業車両において、前記車体側コネクタの極数は4であり、前記条件特定ワイヤハーネスは、前記複数の電気配線を有する条件特定ハーネス本体部と、前記条件特定ハーネス本体部の一端に設けられ、前記車体側コネクタと接続可能な条件特定コネクタと、前記条件特定ハーネス本体部の他端に設けられ、前記延長ワイヤハーネスと接続可能な複数の2極の条件特定コネクタと、を有する構成としてもよい。
この場合、車体側コネクタの極数を4とすることで、車体側ワイヤハーネスの種類を単一化することができる。また、条件特定ワイヤハーネスは、延長ワイヤハーネスと接続可能な複数の2極の条件特定コネクタを有することができ、補機の作動条件を複数の選択肢から選択できる。
(【0011】以降は省略されています)
特許ウォッチbot のツイートを見る
この特許をJ-PlatPat(特許庁公式サイト)で参照する
関連特許
株式会社豊田自動織機
産業車両
今日
株式会社豊田自動織機
荷役装置
5日前
株式会社豊田自動織機
操作装置
13日前
株式会社豊田自動織機
トランス
13日前
株式会社豊田自動織機
電力変換器
25日前
株式会社豊田自動織機
車両制御装置
11日前
株式会社豊田自動織機
排気浄化装置
14日前
株式会社豊田自動織機
双方向充電器
18日前
株式会社豊田自動織機
ターボチャージャ
5日前
株式会社豊田自動織機
燃料電池ユニット
11日前
株式会社豊田自動織機
織機用異常検知装置
5日前
株式会社豊田自動織機
ねじりコイルばね装置
21日前
株式会社豊田自動織機
繊維機械の検査システム
5日前
株式会社豊田自動織機
車両のルーフサイド構造
14日前
株式会社豊田自動織機
内燃機関の制御システム
21日前
株式会社豊田自動織機
繊維構造体、及び繊維強化複合材
5日前
株式会社豊田自動織機
内燃機関の吸気温度制御システム
5日前
株式会社豊田自動織機
燃料電池システム及びフォークリフト
20日前
トヨタ自動車株式会社
蓄電装置の製造方法
8日前
トヨタ自動車株式会社
バイポーラ型蓄電装置
11日前
トヨタ自動車株式会社
二次電池及び二次電池の制御方法
7日前
株式会社豊田自動織機
車両用の充電システム、充電回路、充電装置、および電圧の制御方法
14日前
個人
タイヤレバー
3か月前
個人
前輪キャスター
2か月前
個人
上部一体型自動車
1か月前
個人
タイヤ脱落防止構造
2か月前
個人
ホイルのボルト締結
4か月前
個人
ルーフ付きトライク
2か月前
個人
空間形成装置
5日前
日本精機株式会社
表示装置
3か月前
個人
車両通過構造物
3か月前
日本精機株式会社
表示装置
2か月前
個人
キャンピングトライク
4か月前
日本精機株式会社
表示装置
3か月前
井関農機株式会社
作業車両
4か月前
日本精機株式会社
表示装置
3か月前
続きを見る
他の特許を見る