TOP
|
特許
|
意匠
|
商標
特許ウォッチ
Twitter
他の特許を見る
公開番号
2025168132
公報種別
公開特許公報(A)
公開日
2025-11-07
出願番号
2024079901
出願日
2024-05-16
発明の名称
コンクリート分配装置
出願人
岐阜工業株式会社
代理人
個人
主分類
E21D
11/10 20060101AFI20251030BHJP(地中もしくは岩石の削孔;採鉱)
要約
【課題】コンクリート排出管の湾曲部を可及的に少なくしてスムーズなコンクリートの供給と配管スペースの低減を実現できるコンクリート分配装置を提供する。
【解決手段】、外周の複数位置にそれぞれコンクリート排出管68が接続される連結孔21を設けた円筒状のハウジング2と、ハウジング2内にこれの内周と外周が接して回転可能に収容され、コンクリート供給管63,64が接続される連結パイプ42に通じる連結孔41を外周の一カ所に設けた円筒状の弁体4とを備え、連結パイプ42はその一端が弁体2の連結孔41に接続されるとともに他端は弁体4の回転軸O上に位置させられてコンクリート供給管63,64に管軸回りに相対回転可能に接続されており、弁体4が所定位置に回転させられた時にコンクリート供給管63,64と、コンクリート排出管68の一つとが選択的に連通させられる。
【選択図】 図2
特許請求の範囲
【請求項1】
外周の複数位置にそれぞれコンクリート排出管が接続される連結孔を設けた円筒状のハウジングと、前記ハウジング内にこれの内周と外周が接して回転可能に収容され、コンクリート供給管が接続される連結パイプに通じる連結孔を外周の一カ所に設けた円筒状の弁体とを備え、前記連結パイプはその一端が前記弁体の前記連結孔に接続されるとともに他端は前記弁体の回転軸上に位置させられて前記コンクリート供給管に管軸回りに相対回転可能に接続されており、前記弁体が所定位置に回転させられた時に前記コンクリート供給管と、前記コンクリート排出管の一つとが選択的に連通させられるコンクリート分配装置。
続きを表示(約 140 文字)
【請求項2】
前記連結パイプは、所定の曲率半径で前記回転軸を越えて湾曲した後、所定の曲率半径で反対側へ湾曲している請求項1に記載のコンクリート分配装置。
【請求項3】
前記弁体を回転駆動する駆動手段を設けた請求項1又は2に記載のコンクリート分配装置。
発明の詳細な説明
【技術分野】
【0001】
本発明はコンクリート分配装置に関し、特にトンネルセントル外方に形成されたコンクリート打設空間内に覆工コンクリートを分配供給するのに好適なコンクリート分配装置に関するものである。
続きを表示(約 1,700 文字)
【背景技術】
【0002】
この種のコンクリート分配装置として例えば特許文献1に示すものが提案されている。ここでは、起立させた面板に複数の連結孔を設けてこれら連結孔に、トンネルセントル外周の必要箇所に至るコンクリート排出管を連結し、一方、上記面板に沿って起立状態で回転する回転板にコンクリート供給管(圧送管)を連結して、回転板が所定位置へ回転した時にコンクリート供給管と、コンクリート排出管の一つが選択的に連結されるようになっている。
【先行技術文献】
【特許文献】
【0003】
実用新案登録第3138077号
【発明の概要】
【発明が解決しようとする課題】
【0004】
ところで、トンネルセントルの外方に形成されるコンクリート打設空間は、トンネル内周との間に円弧状の断面をなすように形成されており、このようなコンクリート打設空間内へトンネルセントルの両側下方から順次コンクリートを供給するために、コンクリート分配装置から上記打設空間へ延びるコンクリート排出管はその多くが上下方向の異なる位置へ向かっている。そしてこの場合、コンクリートのスムーズな供給のためにはコンクリート排出管の湾曲部は十分な曲率半径を確保する必要があるとともに、湾曲部を極力少なくすることが望まれる。
【0005】
しかし、上記従来のコンクリート分配装置では、コンクリート排出管は、起立した面板から水平に延出しているため途中で上方ないし下方への屈曲部が必ず必要となる。このためコンクリートのスムーズな供給に不利であるとともに、スムーズな供給を可能にするために曲りの曲率半径を大きくすると配管スペースの確保が困難になるという問題があった。
【0006】
そこで、本発明はこのような課題を解決するもので、コンクリート排出管の湾曲部を可及的に少なくしてスムーズなコンクリートの供給と配管スペースの低減を実現できるコンクリート分配装置を提供することを目的とする。
【課題を解決するための手段】
【0007】
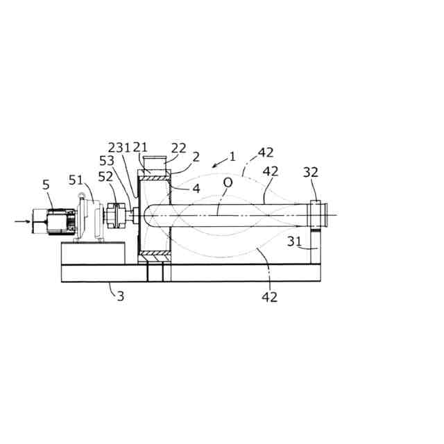
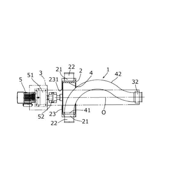
上記目的を達成するために、本第1発明では、外周の複数位置にそれぞれコンクリート排出管(68)が接続される連結孔(21)を設けた円筒状のハウジング(2)と、前記ハウジング(2)内にこれの内周と外周が接して回転可能に収容され、コンクリート供給管(63,64)が接続される連結パイプ(42)に通じる連結孔(41)を外周の一カ所に設けた円筒状の弁体(4)とを備え、前記連結パイプ(42)はその一端が前記弁体(2)の前記連結孔(41)に接続されるとともに他端は前記弁体(4)の回転軸(O)上に位置させられて前記コンクリート供給管(63,64)に管軸回りに相対回転可能に接続されており、前記弁体(4)が所定位置に回転させられた時に前記コンクリート供給管(63,64)と、前記コンクリート排出管(68)の一つとが選択的に連通させられる。
【0008】
本第1発明においては、コンクリート排出管が接続される連結孔が円筒状ハウジングの外周に設けられているから、多くのコンクリート排出管を大きく屈曲させることなく、ほぼそのまま上方や下方へ延ばすことができるから、コンクリートのスムーズな供給が可能であり、加えて、コンクリート排出管に大きな曲率半径を有する屈曲部が無くなるために配管スペースも低減できる。また、起立させた面板に複数の連結孔を設けた上記従来の装置に比して、コンクリート排出管を接続するための同数の連結孔を設けた場合でも装置全体をコンパクトな形状にすることができる。
【0009】
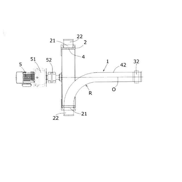
本第2発明では、前記連結パイプ(42)は、所定の曲率半径(R)で前記回転軸(O)を越えて湾曲した後、所定の曲率半径(R)で反対側へ湾曲している。
【0010】
本第2発明によれば、コンクリートをスムーズに流動させるべく曲率半径を大きくした場合にもハウジングの大径化を避けることができ、コンクリート分配装置をコンパクトな形状に維持することができる。
(【0011】以降は省略されています)
この特許をJ-PlatPat(特許庁公式サイト)で参照する
関連特許
岐阜工業株式会社
運搬台車
10日前
岐阜工業株式会社
トンネルセントル
1か月前
岐阜工業株式会社
コンクリート分配装置
1日前
岐阜工業株式会社
コンクリート用流量調整弁
1か月前
個人
掘削機
4か月前
日特建設株式会社
切断装置
17日前
株式会社奥村組
地山探査装置
2か月前
株式会社奥村組
地山探査装置
2か月前
株式会社奥村組
地山探査装置
2か月前
株式会社奥村組
地山探査方法
2か月前
株式会社笠原建設
横孔形成方法
6か月前
株式会社奥村組
シールド掘進機
1か月前
株式会社奥村組
シールド掘進機
5か月前
日特建設株式会社
ボーリング装置
7か月前
花王株式会社
岩盤の掘削方法
4か月前
岐阜工業株式会社
トンネルセントル
1か月前
株式会社熊谷組
天井板撤去装置
6か月前
個人
掘削機、及び、資源回収システム
6か月前
株式会社奥村組
セグメントの組立方法
2か月前
株式会社奥村組
泥土圧シールド掘進機
6か月前
個人
オープンシールド機
2か月前
個人
オープンシールド機
2か月前
株式会社ケー・エフ・シー
剥落防止構造
7か月前
個人
箱形ルーフおよびその施工法
1か月前
岐阜工業株式会社
コンクリート分配装置
1日前
大阪瓦斯株式会社
牽引装置
5か月前
株式会社金澤製作所
発進坑口のエントランス装置
5か月前
デンカ株式会社
静的破砕方法
2か月前
地中空間開発株式会社
トンネル掘削機
29日前
大阪瓦斯株式会社
切欠開裂治具
6か月前
個人
メタンハイドレート等海底鉱物資源の採取方法
3か月前
岐阜工業株式会社
トンネルセントルの妻板装置
2か月前
日鉄建材株式会社
構造物用補強リング及び構造物
1か月前
株式会社ケー・エフ・シー
トンネル水圧調整装置
1か月前
大成建設株式会社
トンネルとその施工方法
6か月前
大栄工機株式会社
トンネル防水工法
7か月前
続きを見る
他の特許を見る