TOP
|
特許
|
意匠
|
商標
特許ウォッチ
Twitter
他の特許を見る
公開番号
2025007515
公報種別
公開特許公報(A)
公開日
2025-01-17
出願番号
2023108958
出願日
2023-06-30
発明の名称
リベット塗膜剥離方法
出願人
国立大学法人佐賀大学
,
ビルドメンテック株式会社
代理人
個人
,
個人
主分類
E01D
1/00 20060101AFI20250109BHJP(道路,鉄道または橋りょうの建設)
要約
【課題】リベットの頭部表面に形成された塗膜を容易に剥離することが可能なリベット塗膜剥離方法の提供。
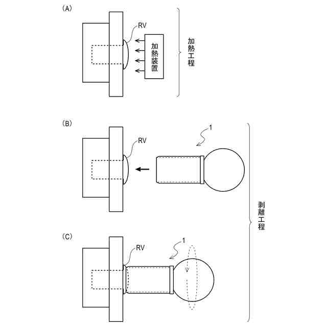
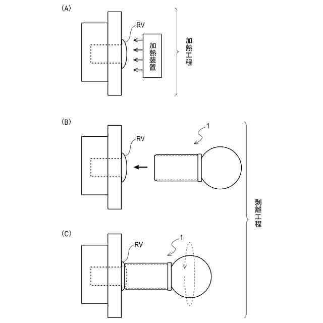
【解決手段】本発明に係るリベット塗膜剥離方法は、接合対象物を接合しているリベットの頭部表面に形成されている塗膜を加熱する加熱工程と、円筒部材を含むリベット用スクレーパーを用いて加熱工程で軟化させたリベットの頭部表面の塗膜を剥離する剥離工程とを備える。剥離工程において、リベット用スクレーパーを構成する円筒部材のうち先端側端部の全部又は一部をリベットの頭部表面又はその近傍に接触させた状態で円筒部材を円周方向に手動で回動させ、もってリベットの頭部表面の塗膜を剥離する。
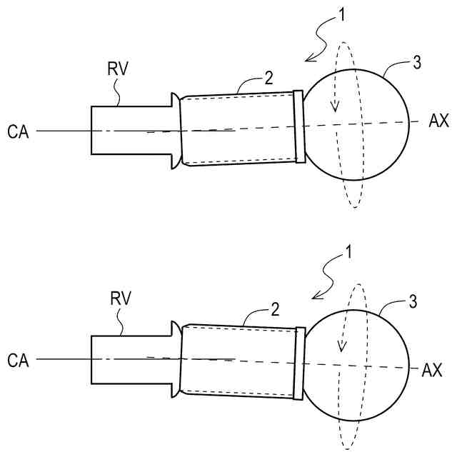
【選択図】図1
特許請求の範囲
【請求項1】
リベット塗膜剥離方法であって、
接合対象物を接合しているリベットの頭部表面に形成されている塗膜を加熱する加熱工程と、
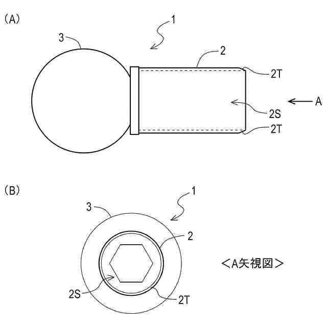
円筒部材を含むリベット用スクレーパーを用いて前記加熱工程で軟化させた前記頭部表面の塗膜を剥離する剥離工程と、
を備え、
前記剥離工程において、前記円筒部材のうち先端側端部の全部又は一部を前記頭部表面又は前記頭部表面の近傍に接触させた状態で前記円筒部材を円周方向に手動で回動させ、もって前記頭部表面の塗膜を剥離することを特徴とするリベット塗膜剥離方法。
続きを表示(約 480 文字)
【請求項2】
前記剥離工程において、前記円筒部材のうち先端側端部の一部を前記頭部表面又は前記頭部表面の近傍に接触させた状態で前記リベットの中心軸に対して前記円筒部材の円筒軸をずらしながら前記円筒部材を回動させることを特徴とする請求項1に記載のリベット塗膜剥離方法。
【請求項3】
前記円筒部材の内径は、前記リベットの頭部の外径よりも小さいことを特徴とする請求項2に記載のリベット塗膜剥離方法。
【請求項4】
リベット塗膜剥離方法であって、
接合対象物を接合しているリベットの頭部表面に形成されている塗膜に剥離剤を塗布する塗布工程と、
円筒部材を含むリベット用スクレーパーを用いて前記加熱工程で軟化させた前記頭部表面の塗膜を剥離する剥離工程と、
を備え、
前記剥離工程において、前記円筒部材のうち先端側端部の全部又は一部を前記頭部表面又は前記頭部表面の近傍に接触させた状態で前記円筒部材を円周方向に手動で回動させ、もって前記頭部表面の塗膜を剥離することを特徴とするリベット塗膜剥離方法。
発明の詳細な説明
【技術分野】
【0001】
本発明は、リベット塗膜剥離方法に関し、より詳細には、リベットの頭部表面に形成された塗膜を剥離する塗膜剥離方法に関する。
続きを表示(約 1,800 文字)
【背景技術】
【0002】
従来、鉄橋など建築構造物において部材接続のために用いられたボルト・ナットについて再塗装前の従前塗装面剥離作業に関する技術が提案されている。例えば、特許文献1では、鋼材製剥離部本体と凹凸形状を刻設して形成した剥離刃とを有する剥離部と、剥離部軸方向に有する円柱状空間部と、円柱状空間部に嵌合する回転部材とを備えた塗装・錆剥離装置が開示されている。当該塗装・錆剥離装置において、剥離部は回転部材により軸方向を回転軸として回転可能に構成されている。
【0003】
また、別の技術として、外周面に形成された塗膜を加熱することで軟化させ、軟化した塗膜をシート状の塊で剥離する方法が提案されている。例えば、特許文献2では、誘導加熱装置の加熱ヘッドを吊り橋の主ケーブルにおけるラッピングワイヤの外周面の塗膜に宛がい、加熱ヘッドの誘導コイルによる誘導加熱でラッピングワイヤを加熱して、当該ラッピングワイヤの塗膜を軟化させ、軟化させた塗膜をシート状の塊又はその他の塊状で剥離する方法が開示されている。
【先行技術文献】
【特許文献】
【0004】
実用新案登録第3157391号公報
特開2017-140607号公報
【発明の概要】
【発明が解決しようとする課題】
【0005】
ところで、鉄橋など建築構造物において部材接続のためにリベットが用いられることもある。リベットとは、頭部及びねじ部が形成されていない胴部からなり、穴をあけた部材に差し込んで専用の工具を用いてかしめることで反対側の端部を塑性変形させて接合させる部材である。リベット頭部は、六角形状のボルト頭部とは異なり、略半球状に形成されている。そのため、上述した特許文献1に記載の塗装・錆剥離装置を用いてリベット頭部の塗膜を剥離することは困難である。
【0006】
また、上述した特許文献2には、加熱によって塗膜を軟化させることが開示されているものの、軟化させた塗膜はスクレーパーなどを用いて外周面から別途剥離させる必要があった。ただ、スクレーパーの刃(へら)は直線状に形成されているため、略半球状のリベット頭部に密着させることが難しく、リベット頭部の塗膜を剥離し難いという問題があった。
【0007】
そこで、本発明は、リベットの頭部表面に形成された塗膜を容易に剥離することが可能なリベット塗膜剥離方法を提供することを目的とする。
【課題を解決するための手段】
【0008】
上記目的を達成するために、本発明は、リベット塗膜剥離方法であって、接合対象物を接合しているリベットの頭部表面に形成されている塗膜を加熱する加熱工程と、円筒部材を含むリベット用スクレーパーを用いて前記加熱工程で軟化させた前記頭部表面の塗膜を剥離する剥離工程と、を備え、前記剥離工程において、前記円筒部材のうち先端側端部の全部又は一部を前記頭部表面又は前記頭部表面の近傍に接触させた状態で前記円筒部材を円周方向に手動で回動させ、もって前記頭部表面の塗膜を剥離することを特徴とするリベット塗膜剥離方法を提供している。
【0009】
ここで、前記剥離工程において、前記円筒部材のうち先端側端部の一部を前記頭部表面又は前記頭部表面の近傍に接触させた状態で前記リベットの中心軸に対して前記円筒部材の円筒軸をずらしながら前記円筒部材を回動させるのが好ましい。
【0010】
また、前記円筒部材の内径は、前記リベットの頭部の外径よりも小さいのが好ましい。
また、本発明は、リベット塗膜剥離方法であって、接合対象物を接合しているリベットの頭部表面に形成されている塗膜に剥離剤を塗布する塗布工程と、円筒部材を含むリベット用スクレーパーを用いて前記加熱工程で軟化させた前記頭部表面の塗膜を剥離する剥離工程と、を備え、前記剥離工程において、前記円筒部材のうち先端側端部の全部又は一部を前記頭部表面又は前記頭部表面の近傍に接触させた状態で前記円筒部材を円周方向に手動で回動させ、もって前記頭部表面の塗膜を剥離することを特徴とするリベット塗膜剥離方法を更に提供している。
【発明の効果】
(【0011】以降は省略されています)
この特許をJ-PlatPat(特許庁公式サイト)で参照する
関連特許
国立大学法人佐賀大学
リベット塗膜剥離方法
8か月前
国立大学法人佐賀大学
便意検出装置、便意検出方法
1か月前
国立大学法人佐賀大学
HO-1発現亢進剤及び抗炎症剤
3か月前
国立大学法人佐賀大学
情報通信システム及び情報通信装置
1日前
国立大学法人佐賀大学
情報通信装置及び情報通信プログラム
9日前
国立大学法人佐賀大学
培養担体、培地、細胞塊製造方法及び培養担体の製造方法
10か月前
国立大学法人佐賀大学
縦型電子デバイス用基板およびその製造方法、縦型ショットキーバリアダイオード、縦型電界効果トランジスタ、および絶縁型ゲートバイポーラトランジスタ
29日前
個人
折り畳み式標識具
2日前
GX株式会社
仮設防護体
24日前
日本精機株式会社
路面投影装置
1か月前
株式会社熊谷組
床版接合構造
5日前
範多機械株式会社
路面切削機
1か月前
北越消雪機械工業株式会社
消雪装置
2日前
GX株式会社
昇降式仮設防護体
15日前
GX株式会社
仮設防護体連結構造
1か月前
前田工繊株式会社
防護柵
17日前
株式会社熊谷組
床版継手装置、及び、床版
5日前
中井商工株式会社
橋梁の桁端止水工法
5日前
浅香工業株式会社
レーキ
12日前
株式会社トップ
立て看板用スロープおよび立て看板
1か月前
株式会社幸和道路
自走式道路路面標示文字描画車両
23日前
株式会社三共
足場用移動屋根装置及び橋梁用足場
25日前
株式会社NIPPO
法面機械
15日前
株式会社NIPPO
コンクリートスタッカ
1日前
十武建設株式会社
舗装材吹付け装置、および吹付け施工方法
23日前
共和ゴム株式会社
床版敷設シール材
29日前
株式会社栗本鐵工所
検査路及びステップ
1か月前
東日本旅客鉄道株式会社
横取り方法
1日前
酒井重工業株式会社
振動ローラ
1か月前
株式会社大林組
新設床版の設置工法
1か月前
日本環境アメニティ株式会社
吊下げ式減音装置及び高架橋
1か月前
株式会社NIPPO
路面切削装置及び路面切削方法
1か月前
株式会社NIPPO
法面作業装置
15日前
株式会社NIPPO
法面作業装置
15日前
五洋建設株式会社
床版部材設置装置及び床版部材の設置方法
23日前
株式会社NIPPO
コンクリート舗装の施工方法
5日前
続きを見る
他の特許を見る