TOP
|
特許
|
意匠
|
商標
特許ウォッチ
Twitter
他の特許を見る
公開番号
2025012533
公報種別
公開特許公報(A)
公開日
2025-01-24
出願番号
2023115425
出願日
2023-07-13
発明の名称
空調装置
出願人
株式会社コロナ
代理人
主分類
F24F
1/0071 20190101AFI20250117BHJP(加熱;レンジ;換気)
要約
【課題】貫流ファンに付着した塵埃を確実に除去可能な空調装置を提供する。
【解決手段】ブラシ部76は、貫流ファン33の外縁部33bに先端が接触する外縁部清掃ブラシ78と、貫流ファン33に沿う形状のブラシ設置面76aと、を有し、ブラシ設置面76aの異なる箇所に外縁部清掃ブラシ78が設置されることで、外縁部清掃ブラシ78の先端が重なる。貫流ファン33の外縁部33bには塵埃が固着し易く、ブラシが軽く接触しただけでは塵埃の除去が不十分となる可能性が高い。貫流ファン33の清掃時、ブラシの先端が重なることで密度の高い外縁部清掃ブラシ78が貫流ファン33の外縁部33bに強く接触する。外縁部清掃ブラシ78のブラシ先端が折れることなく外縁部33bに接触し続けるので、貫流ファン33の外縁部33bに付着した塵埃の除去を十分に実施することができ、貫流ファン33の清潔性が高まる。
【選択図】図4
特許請求の範囲
【請求項1】
外部からの空気を取り入れ可能な空気取入口及び取り入れられた空気を外部へ吹出し可能な空気吹出口が開けられているケースと、
当該ケースに回転可能に支持され回転することにより送風を行なう貫流ファンと、を備え、
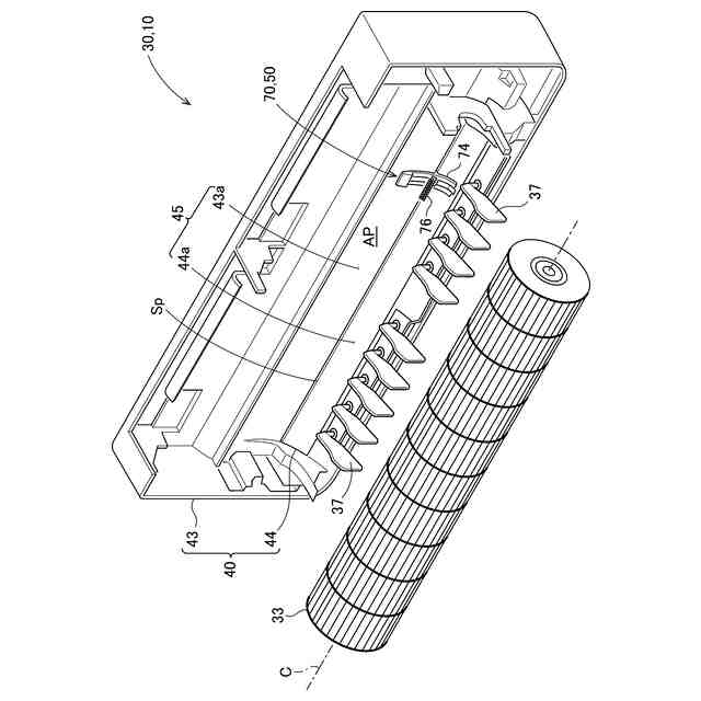
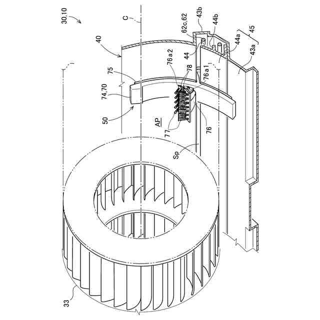
前記ケース内には、本体部から前記貫流ファンまで延び前記貫流ファンの清掃を行うことが可能なブラシ部を有した清掃機構が設置され、
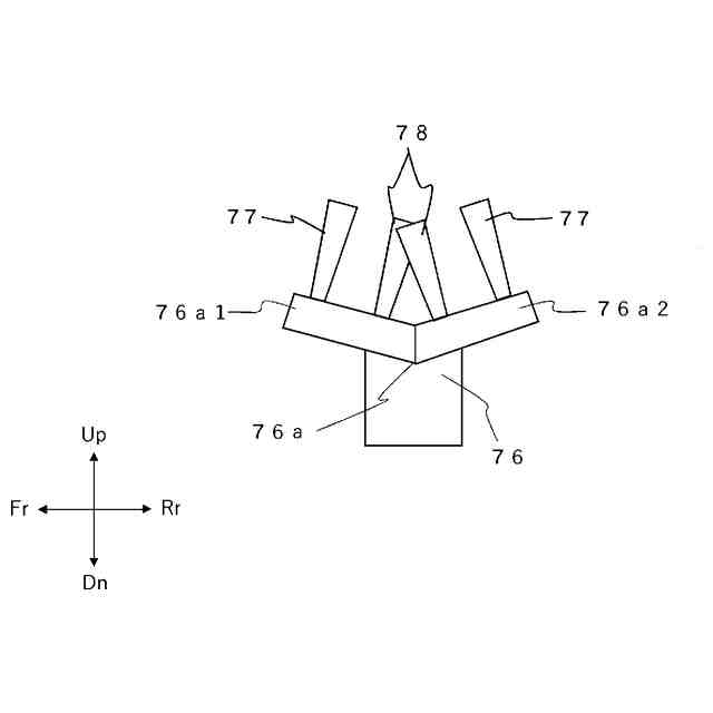
前記ブラシ部は、前記貫流ファンの外縁部に先端が接触する外縁部清掃ブラシと、前記貫流ファンに沿う形状のブラシ設置面と、を有し、
前記ブラシ設置面の異なる箇所に前記外縁部清掃ブラシが設置されることで、前記外縁部清掃ブラシの先端が重なることを特徴とした空調装置。
続きを表示(約 660 文字)
【請求項2】
前記ブラシ部は、前記貫流ファンの内周側に接触する内周側清掃ブラシを有し、
前記ブラシ設置面は、前記貫流ファンの軸中心から外側方向へ延びる直線に対して傾斜角度が異なる第1の面と第2の面とで構成され、前記第1の面は、一端側の端部が前記第2の面の他端側の端部と接続しており、
前記外縁部清掃ブラシの方が前記内周側清掃ブラシよりも前記第1の面と前記第2の面との接続部分に近くなるよう、前記第1の面と前記第2の面のそれぞれに前記外縁部清掃ブラシと前記内周側清掃ブラシとが設置されたことを特徴とした請求項1記載の空調装置。
【請求項3】
前記ケースには、前記貫流ファンの送風する空気を前記空気吹出口に向かってガイドするガイド面部が前記貫流ファンの軸線に沿って形成され、
前記ガイド面部に前記清掃機構が設置され、
前記清掃機構は、前記ガイド面部に沿って移動可能な前記本体部と、当該本体部に着脱可能に設けられ前記ガイド面部に付着した塵埃を払拭可能なシートと、を有することを特徴とした請求項1又は2に記載の空調装置。
【請求項4】
前記清掃機構は、前記本体部を駆動するための駆動部をさらに有し、
前記駆動部は、通電することにより作動するモータと、このモータに接続され前記本体部に前記モータの駆動力を伝達する駆動力伝達部と、を含み、
前記駆動力伝達部は、前記貫流ファンの軸線に略平行に延びていることを特徴とした請求項3に記載の空調装置。
発明の詳細な説明
【技術分野】
【0001】
この発明は、室内の温度を調節するための空調装置に関する。
続きを表示(約 1,700 文字)
【背景技術】
【0002】
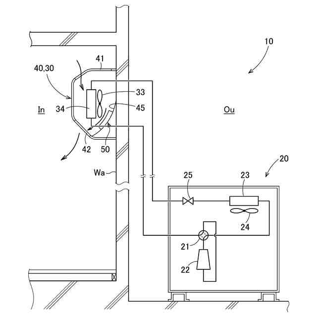
住宅等の室内の温度を調節するのに広く空調装置が用いられている。空調装置に関する従来技術として特許文献1に開示される技術がある。
【0003】
特許文献1に示されるような、空調装置は、壁に固定されているケースと、このケースに収納され回転することにより室内に送風する貫流ファンと、当該貫流ファンに当接可能に設けられ貫流ファンを清掃するためのブラシ部と、を有する。
【0004】
空調装置によれば、ブラシ部を貫流ファンに当接させた状態で貫流ファンを回転させることにより、貫流ファンに付着した塵埃を除去することができる。
【先行技術文献】
【特許文献】
【0005】
特開2019-143961号公報
【発明の概要】
【発明が解決しようとする課題】
【0006】
しかし、この従来のものでは、貫流ファンの外縁部より内周側まで入り込む長さのブラシのみが設置されたブラシ部を備えている。本出願人が試験により確認した所、空調装置による送風を継続すると、貫流ファンには外縁部より内周側の部分と外縁部付近とに塵埃が付着しており、特に外縁部に付着した塵埃は貫流ファンにこびり付いていることが分かった。そして、貫流ファンの外縁部より内周側まで入り込む長さのブラシが貫流ファンに接触しただけでは、貫流ファンの外縁部に付着した塵埃を落とすことができず汚れが残ってしまうことから、改善の余地があった。
【課題を解決するための手段】
【0007】
上記課題を解決するために、本発明の請求項1では、外部からの空気を取り入れ可能な空気取入口及び取り入れられた空気を外部へ吹出し可能な空気吹出口が開けられているケースと、
当該ケースに回転可能に支持され回転することにより送風を行なう貫流ファンと、を備え、
前記ケース内には、本体部から前記貫流ファンまで延び前記貫流ファンの清掃を行うことが可能なブラシ部を有した清掃機構が設置され、
前記ブラシ部は、前記貫流ファンの外縁部に先端が接触する外縁部清掃ブラシと、前記貫流ファンに沿う形状のブラシ設置面と、を有し、
前記ブラシ設置面の異なる箇所に前記外縁部清掃ブラシが設置されることで、前記外縁部清掃ブラシの先端が重なることを特徴とした。
【0008】
また、請求項2では、前記ブラシ部は、前記貫流ファンの内周側に接触する内周側清掃ブラシを有し、
前記ブラシ設置面は、前記貫流ファンの軸中心から外側方向へ延びる直線に対して傾斜角度が異なる第1の面と第2の面とで構成され、前記第1の面は、一端側の端部が前記第2の面の他端側の端部と接続しており、
前記外縁部清掃ブラシの方が前記内周側清掃ブラシよりも前記第1の面と前記第2の面との接続部分に近くなるよう、前記第1の面と前記第2の面のそれぞれに前記外縁部清掃ブラシと前記内周側清掃ブラシとが設置されたことを特徴とした。
【0009】
また、請求項3では、前記ケースには、前記貫流ファンの送風する空気を前記空気吹出口に向かってガイドするガイド面部が前記貫流ファンの軸線に沿って形成され、
前記ガイド面部に前記清掃機構が設置され、
前記清掃機構は、前記ガイド面部に沿って移動可能な前記本体部と、当該本体部に着脱可能に設けられ前記ガイド面部に付着した塵埃を払拭可能なシートと、を有することを特徴とした。
【0010】
また、請求項4では、前記清掃機構は、前記本体部を駆動するための駆動部をさらに有し、
前記駆動部は、通電することにより作動するモータと、このモータに接続され前記本体部に前記モータの駆動力を伝達する駆動力伝達部と、を含み、
前記駆動力伝達部は、前記貫流ファンの軸線に略平行に延びていることを特徴とした。
【発明の効果】
(【0011】以降は省略されています)
この特許をJ-PlatPat(特許庁公式サイト)で参照する
関連特許
株式会社コロナ
空調装置
3日前
株式会社コロナ
加湿装置
13日前
株式会社コロナ
暖房システム
3日前
株式会社コロナ
貯湯式給湯機
7日前
個人
空気調和機
3か月前
個人
エアコン室内機
3か月前
株式会社コロナ
空調装置
3日前
株式会社コロナ
空調装置
3か月前
株式会社コロナ
加湿装置
4か月前
株式会社コロナ
給湯装置
2か月前
株式会社コロナ
加湿装置
13日前
株式会社コロナ
加湿装置
6か月前
株式会社コロナ
加湿装置
5か月前
株式会社コロナ
空調装置
1か月前
株式会社コロナ
空調装置
6か月前
株式会社コロナ
空調装置
5か月前
株式会社コロナ
空調装置
22日前
株式会社コロナ
空気調和機
5か月前
株式会社コロナ
空気調和機
2か月前
株式会社コロナ
風呂給湯機
21日前
株式会社コロナ
空気調和機
1か月前
個人
住宅換気空調システム
1か月前
ホーコス株式会社
排気フード
1か月前
株式会社コロナ
直圧式給湯機
1か月前
株式会社コロナ
貯湯式給湯機
7日前
株式会社パロマ
給湯器
2か月前
株式会社コロナ
貯湯式給湯機
4か月前
株式会社コロナ
暖房システム
3日前
株式会社コロナ
直圧式給湯機
2か月前
ホーコス株式会社
換気扇取付枠
22日前
株式会社コロナ
輻射式冷房装置
1か月前
株式会社コロナ
貯湯式給湯装置
5か月前
株式会社コロナ
貯湯式給湯装置
5か月前
株式会社コロナ
貯湯式給湯装置
4か月前
三菱電機株式会社
送風機
5か月前
株式会社コロナ
貯湯式給湯装置
2か月前
続きを見る
他の特許を見る